- -
- 100%
- +
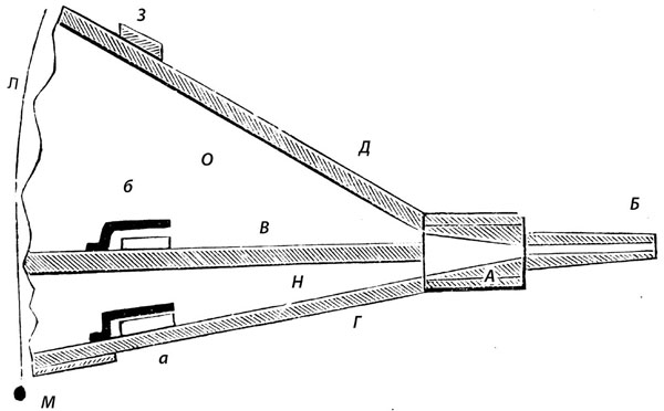
Существенную часть горна составляет углубление В, называемое горновым гнездом. Здесь сосредоточивается горение угля и развивается высокая температура, необходимая для накаливания металла. Гнездо имеет продолговатую форму с полукруглым дном, понижающимся к задней стенке горна. Гнездо выкладывается из огнеупорного кирпича, так как простой кирпич, вследствие сильного жара, развиваемого в гнезде, скоро прогорает. В задней стенке горна вставлена чугунная плита Д (рис. 2), проходящая до дна ямы и предназначенная для предохранения этой стенки от прогорания. В плиту Д, фурменную, вставляется металлическая трубка, называемая фурмой и показанная на рис. 3.

Рис. 2, 3
Что касается верхней (горизонтальной) площадки горна, то она также покрывается чугунной плитой Е с соответствующим вырезом для гнезда.
Над горном укрепляется железный колпак К с отводною трубою для вытягивания газообразных продуктов горения топлива в дымовую трубу.
Позади горна устанавливается кузнечный мех М, называемый клинчатым; наружный вид такого меха отдельно изображен на рис. 4. Он служит для вдувания чрез фурму в гнездо воздуха для усиления горения топлива. Мех приводится в движение посредством рычага, один конец которого соединен с мехом, а на другом (у горна) привязана веревка с рукояткою так, что кузнец может раздувать огонь, не отходя от горна.

Рис. 4
Кузнечный мех представляет род гармоники, составленной из трех деревянных щитов: верхнего, нижнего и среднего, обитых (по кромкам) мягкою складчатою кожею. Кожа эта должна плотно прилегать краями к дереву для того, чтобы в местах скрепления не проникал вовнутрь мехов атмосферный воздух, так как иначе мех не будет действовать. Кожу прибивают к щитам небольшими гвоздями с широкими конусообразными шляпками, располагая их вплотную одна к другой. Для того же, чтобы в случае необходимости для починки меха можно было вынуть гвозди, не испортив кожи, надо их прибить по узкой кожаной полоске (ремешку, прошивке). Для меха идет юфтевый[3] товар, достаточно толстый и мягкий, без прорезов, пробоин и вообще каких-либо недостатков и пороков.
В продольном разрезе клинчатый мех изображен на рис. 5. К деревянной колодке А приделан наглухо щиток Г, тогда как другие щиты В и Д соединены с колодкою посредством шарниров и, следовательно, могут подниматься и опускаться. Щит В делит внутреннее пространство мехов, ограниченное кожею, на две полости, верхнюю О и нижнюю Н. Колодка А оканчивается железною трубкою или соплом Б, которое вставляется в фурменное отверстие стенки горна. В щитах Г и В имеются отверстия квадратного сечения с клапанами б и а, к дощечкам которых приделаны ремешки, позволяющие открываться и закрываться. Мех приводится в действие следующим образом: если ослабить рычаг i (рис. 1), а следовательно, и веревку Л (рис. 5), то груз М, прикрепленный к щиту Д, своею тяжестью потянет этот щит вниз, отчего нижняя полость мехов разрядится и внешний воздух войдет через клапан а в эту полость. Если затем посредством того же рычага i потянуть веревку Л кверху, то щит Д, приподнимаясь и постепенно уменьшая объем нижней полости, неминуемо погонит заключенный в ней воздух через клапан б в верхнюю полость. При новом опускании веревки груз М, давя на верхний щит, заставит сжиматься верхнюю полость, клапан б закроется, и сжатый воздух, не находя другого выхода, направится через сопло в горн.

Рис. 5
Таким образом, при каждом поднятии и опускании веревки происходит всасывание воздуха мехами и вытекание сжатого воздуха, то есть дутье. Такой мех называется мехом простого действия, так как дутье, производимое им, будет неравномерное, прерывистое. Для устранения этого недостатка иногда устраивают меха с тремя внутренними полостями, тогда средняя полость своим запасом воздуха уравнивает приток воздуха в горне.
Только что описанный нами постоянный горн имеет один очаг и называется одноогневым в отличие от горна с двумя очагами – двухогневого. Устройство последнего ничем не отличается от одноогневого, кроме только того, что делается два горновых гнезда, расположенных рядом (по длине очага), и два меха: один по одну сторону очага, другой – по другую.
Постоянные горны отличаются продолжительностью службы и требуют незначительного ежегодного ремонта. Но такие горны занимают много места и к тому же требуют особого помещения для кузницы. Все это, однако, вполне окупается удобством работы, когда нужна постоянная работа нескольких кузнецов, для отковки вещей более или менее значительных размеров, чего нельзя сделать при переносном горне.
Переносный горн. Такой горн (рис. 6) состоит из металлической круглой или овальной коробки с несколько возвышающимся задком, соединенным с переднею частью посредством заклепок. Коробка устанавливается на трех толстых железных подставках, привинченных внизу к общей основной металлической плите, служащей в то же время для помещения цилиндрического меха. Качательное движение меха производится посредством коленчатого рычага, вращающегося около неподвижного шкворня. Короткое колено этого рычага соединено железным прутом с нижней доской цилиндрического меха, так что вдувание воздуха происходит снизу вверх, для чего в верхней доске имеется отверстие с металлической трубочкой, пропущенной в коробку горна. В последней имеется горновое гнездо, в которое насыпается уголь, необходимый для горения во время действия горна.

Рис. 6
Кроме описанных нами двух родов кузнечных горнов, существует много других, как постоянных, так и переносных, различающихся как по внешнему виду, так и по устройству воздуходувных приборов. Так, клинчатый мех может быть заменен в постоянном горне цилиндрическим, и наоборот, переносный горн устраивается иногда с клинчатым мехом. Вместо меха устанавливают вентилятор, но все эти видоизменения не составляют существенной разницы и мало влияют на кузнечную работу.
Не в том дело, какой способ дутья будет избран, – посредством меха или вентилятора. Для успешного и правильного нагревания в горне металла необходимо, чтобы дутье было возможно ровное, не порывистое, что достигается равномерным и правильным движением рукоятки или педали, где таковая заменяет рукоять.
Мы уже сказали выше, что для усиления накаливания металла в горновом гнезде необходимо впускать туда непрерывную струю воздуха, для чего служат меха и вентиляторы. Трудно сказать, который из этих воздуходувных приборов лучше исполняет свое назначение. Устройство вентилятора несколько сложнее меха, зато первый не так скоро портится, как мех, который требует частой починки, особенно если он сделан не из доброкачественной кожи.
Вентиляторы чаще всего устраиваются в переносных горнах и приводятся в движение посредством небольшого маховика и педали. Что же касается постоянных горнов, то вентиляторы ставят только тогда, когда в мастерской имеется механический двигатель.
Горючий материал. Для разогревания металла в кузнечном горне обыкновенно употребляется каменный уголь, хотя для той же цели могут служит древесный уголь и кокс. Причина, почему каменный уголь является едва ли не единственным материалом в кузнечном деле, заключается в сравнительной дешевизне этого горючего материала против древесного угля и кокса. К сожалению, каменный уголь редко бывает чист и, кроме других примесей, часто содержит серу, которая вредно действует на обрабатываемый металл, делая его хрупким. Донецкий антрацит, как свободный от примеси серы, с выгодою может заменить обыкновенный каменный уголь в тех местностях России, где он доступен по цене.
Хороший каменный уголь должен быть тверд, совершенно черного цвета и, зажженный в горне, даже при умеренном дутье мехов должен обращаться в сплошную массу – спекаться. Это качество угля, то есть спекаемость, составляет одно из необходимых условий для развития при горении угля в горне высокой температуры, при которой производятся все кузнечные работы.
Кусок железа, который нужно разогреть, зарывают в уголь, температура горения которого должна быть достаточно высока для этой операции, чего можно достигнуть только сосредоточением жара в горновом гнезде. В этом гнезде горящая кучка угля в различных точках имеет различную температуру: самый сильный жар сосредоточивается в средине кучки и постепенно уменьшается к наружным и верхним слоям, охлаждаемым внешним холодным воздухом кузницы. Уголь, спекаясь, образует собою как бы предохранительную кору, которая окружает накаливаемый металл в виде непроницаемого для наружного воздуха свода, чем достигается возможность сосредоточения внутри гнезда сильного жара. Для увеличения плотности этой коры необходимо развить в горне очень высокую температуру, для чего поверхность горящего угля спрыскивают намоченной в воде шваброй с короткой ручкой.
Древесный уголь может быть рекомендован для кузнечных работ только в некоторых случаях, например для накаливания мелких вещей из стали при выделке инструментов. Древесный уголь не спекается и не содержит в себе никаких вредных для металла примесей; накаливание металла происходит в нем много медленнее, чем в каменном угле и коксе.
Не следует упускать из виду при суждении о качестве древесного угля и пригодности его для кузнечного дела, что он должен быть плотен и сравнительно тяжел.
Легкий уголь, выжженный из сосны и ели, не дает большого жара сравнительно с углями твердых пород дерева. По цене древесный уголь обходится много дороже каменного угля, хотя его идет несколько меньше, чем последнего.
Кокс, если он не содержит примесей серы и других вредных веществ, может дать большую экономию в топливе, так как сравнительно с каменным углем кокса расходуется в час приблизительно на 40 % менее.
Принадлежности горна. Во всякой кузнице с постоянным горном необходимо иметь несколько вещей, предназначенных для хранения угля и управления огнем. К числу таких принадлежностей относятся:
• Железный ящик, предназначенный для хранения в нем каменного угля, необходимого для засыпки в горн. Такие ящики ставят у стенки горна, чтобы уголь был под руками у кузнеца.
• Железное ведро. Вода, необходимая для кузнечных работ, должна быть всегда наготове. В маленьких кузницах держат воду в ведрах, а в больших – в особых чанах.
• Кочерга служит для размешивания угля и выгребания скопившейся в гнезде золы.
• Пика предназначена для протыкания спекшейся массы угля.
• Лопата употребляется для засыпки угля. Вместо лопаты можно делать засыпку железным совком с деревянною ручкою.
Инструменты и приспособления
В кузнечном мастерстве для отковки металлических вещей и других работ необходимо иметь несколько инструментов и принадлежностей, к краткому описанию которых мы теперь и перейдем.
Прежде всего надо заметить, что только весьма немногие кузнечные работы могут быть исполнены руками одного человека, так как здесь, кроме знания дела, требуется и мускульная сила, значительно большая, чем может располагать ею один человек. Кроме того, кузнецу пришлось бы одновременно следить за нагреванием металла, производить дутье и ковать более или менее тяжелыми орудиями. Вот почему в кузнечной мастерской на каждый очаг горна ставят кузнеца, как главного и ответственного руководителя и исполнителя работы, а в помощь ему назначается менее опытный, но обладающий достаточно развитою мускульною силою помощник или молотобоец.
Наковальня. Ковка различных вещей и вообще большая часть кузнечных работ производится на особой металлической подставке, называемой наковальней.
Простейший тип кузнечной наковальни показан на рис. 7.

Рис. 7
Она состоит из массивной подставки, верхняя поверхность которой называется лицом и делается ровной и гладкой. Наковальни бывают железные и чугунные. Железная наковальня выковывается из массивного куска железа, рабочая поверхность которого для большей крепости наваривается сталью. Такая наковальня хорошо противостоит ударам молотков и долго сохраняет гладкость лица и очертаний ограничивающих его ребер. Чугунная наковальня обходится много дешевле железной, но такая наковальня хрупка и ломка. Она также наваривается сталью, но срок ее службы от этого не увеличивается.
Наковальня устанавливается и укрепляется на толстом деревянном чурбане, который называется стулом. Этот стул зарывают в землю так, чтобы поверхность его возвышалась на 35 см над землей.
Если нет дубового бруса, то можно употребить березовый или сосновый, в верхний конец которого для большей прочности загоняют железный бугель[4].
Наковальню прикрепляют к стулу гвоздями после предварительной проверки правильности (горизонтальности) ее установки. Вес наковальни бывает различный, в зависимости от ее величины и рода предполагаемых работ. Для маленьких кузниц достаточна наковальня в 64–80 кг веса.
Форма наковальни также не всегда бывает одинакова. В России приняты однорогие наковальни, на которых удобно производить всякую кузнечную работу. Что же касается двурогой наковальни, то в кузнечном деле она малопригодна и употребляется только для изгибания колец, хотя ту же работу можно производить и на обыкновенной однорогой наковальне.
На рабочей поверхности наковальни должно быть два гнезда квадратного и круглого сечения, предназначенных для вставления хвостов[5] вспомогательных инструментов, употребляемых при ковке металлов.
При выборе наковальни для установки в кузнице необходимо сделать тщательный осмотр правильности и соразмерности ее частей. Рабочая поверхность заслуживает особенного внимания. Она должна быть совершенно ровная, гладкая, иметь достаточный слой наваренной стали и хорошо закалена. Твердость закалки испытывается напильником (слесарною пилою) по следу, оставляемому им на поверхности. Если след резок, то это служит признаком, что наковальня плохо закалена, то есть слишком мягка, и наоборот, едва заметные царапины доказывают хорошую закалку.
Кроме наковальни, в хорошо устроенных кузнечных мастерских всегда имеется гладкая чугунная доска, обыкновенно называемая правильною доскою. На этой доске выправляются те отковки, от которых требуется особая правильность формы. Правильная доска должна иметь хорошо закаленную полированную стальную поверхность.
Кузнечные инструменты бывают двух родов: обделывающие и вспомогательные. Назначение тех и других инструментов – придать отковываемой вещи требуемую форму.
Молотки. Наиболее важный и необходимый для кузнеца инструмент – молоток, который бывает двух родов – маленький, называемый ручником (рис. 8), и большой – кувалда (рис. 9). Оба эти молотка насаживаются на соответствующие им по величине и весу ручки березового или какого-либо другого твердого и вязкого дерева.

Рис. 8, 9
Ручником работает кузнец, держа его всегда в правой руке. Вес такого молотка бывает около 1,2 кг, а длина ручки 25–38 см.
Кувалда бывает 4–8 кг весом, при длине рукоятки в 50–64 см. Вследствие такого значительного веса, а также и для увеличения силы удара кувалдой работают двумя руками.
Кузнечные молотки, независимо от их величины и веса, имеют одинаковую форму. Нижняя широкая часть называется бойком и отделывается в виде восьмигранной призмы, верхняя же, суживающаяся в виде тупого клина, называется задком.
Небольшие вещи можно отковать одним ручником, но чаще всего работа ведется двумя молотками, то есть ручником и кувалдою одновременно. Такая совместная работа идет скорее и лучше, чем если бы ее производил кузнец один, без помощи молотобойца.
Работа кузнечными молотками – труд нелегкий и требует большого навыка для начинающего заниматься кузнечными работами.
Ударом ручника по какой-либо части отковываемой на наковальне вещи кузнец указывает молотобойцу как направление, так и силу удара. Молотобоец обязан безусловно подчиняться этим немым указаниям кузнеца и бить кувалдой именно в то место вслед за ударами ручника, пока кузнец слабым ударом ручника по наковальне не даст знать своему помощнику о том, что следует прекратить работу.
Необходимо, чтобы удары молотком производились правильно и, смотря по необходимости, с большею или меньшею силою. Слишком слабый удар замедляет работу, а сильный может испортить вещь в руках неопытного кузнеца. Не менее трудным делом при ковке является также умение пускать в ход задок молотка вместо бойка, которым чаще всего производится ковка. Удары задком молотка производятся, если необходимо в отковываемой вещи сделать какое-либо углубление, вдавливание, которое нельзя произвести бойком. Вообще то или другое положение, придаваемое молотку, зависит от рода работы, к которой необходимо примениться для каждого частного случая.
Вместо ручника кузнец иногда употребляет другие инструменты, исполняющие то или другое специальное назначение, для изменения формы поверхности отковываемой вещи. К такого рода посредствующим или вспомогательным инструментам принадлежат инструменты, носящие в кузнечном деле общее название подбоек. Они имеют верхнюю часть (задок) обделанной в виде восьмигранной призмы с слегка закругленною верхнею плоскостью, между тем как нижней части (подбойке) придают форму сообразно назначению инструмента.
Во время работы молотобоец ударяет по верхней части подбойки, тогда как нижняя часть обжимает предмет и тем самым придает ему ту или другую желаемую форму.
Плоская гладилка (рис. 10) служит для выравнивания плоских поверхностей после предварительной обработки их молотками. Нижней поверхности гладилки придают плоскую форму, достаточно просторную и гладко отполированную. На такую гладилку обыкновенно надевают ручку из скрученной толстой проволоки, как это видно на рисунке.

Рис. 10, 11
Полукруглая гладилка (рис. 11) отличается от плоской тем, что нижняя поверхность ее имеет выемку в виде полукруга, посредством которой можно выровнять круглый стержень.
Надавка (рис. 12 и 13) употребляется для выравнивания вогнутых поверхностей и полукруглых впадин, для чего нижняя поверхность этого инструмента имеет закругленную форму.

Рис. 12-16
Обжимка (рис. 14–16). Под этим названием известны в кузнечном деле металлические формы, состоящие из двух половинок, в которых проделаны углубления, соответствующие очертанию наружной поверхности вещи, которую хотят отковать. Нижняя часть обжимки вставляется в гнездо ручкой. Отковываемую вещь помещают в отверстие, образуемое обеими половинками обжимки, причем края их не сойдутся. Тогда молотобоец бьет по верхней наружной поверхности обжимки, пока края обеих половинок плотно не сойдутся одна к другой и вещь не примет требуемую форму.
Пробойник, или бородка (рис. 17, 18), служит для пробивания дыр в нагретом металле круглой и гранной формы сечения. Сообразно этому пробойнику дают коническую форму с очертаниями и гранями различного сечения. Пробойники во время работы надеваются на скрученную проволочную ручку, подобную той, какая показана на рис. 10.

Рис. 17, 18
Для пробивания дыр в металле надо иметь железную подкладку из толстой полосы, в которой имеется несколько отверстий различной величины и очертаний. Подкладку ставят на наковальню, а на нее – нагретую до температуры красного каления железную или стальную вещь, в которой хотят пробить дыру. Намеченное отверстие пробивают над соответствующей ему дырою подкладки.
Зубило (рис. 19) служит для разрубки железных полос на части. Верхняя часть зубила приспособлена для битья кувалдой, а нижняя вытянута в виде острого ребра, оканчивающегося лезвием, обделанным в виде клина. Чтобы ускорить работу, употребляют резак, который играет роль нижника с острым ребром. Резак вставляется своим хвостом в отверстие наковальни, а на острое ребро кладется перерубаемая железная полоса, и тогда по намеченной сверху линии ставят зубило, по которому бьют кувалдою.

Рис. 19
К числу вспомогательных инструментов следует отнести клещи, кронциркуль и аршин.
Клещи (рис. 20–26) служат для держания обделываемой вещи на наковальне, переноски, поворачивания и вообще во всех случаях, когда нельзя взять металл прямо руками. Форма губ клещей бывает весьма разнообразна и зависит от формы охватываемой ими вещи, а также и от способа удержания в известном направлении. На концы ручек во время работы надевается кольцо или крючок (рис. 27 и 28), чтобы вещь, охваченная клещами, держалась в них твердо. Клещи не снимаются с вещи все время работы, и только если они сильно накалятся, то, сняв и разжав клещи, надо их охладить, опустив в холодную воду.

Рис. 20-26

Рис. 27

Рис. 28
Кронциркуль (рис. 29) служит для измерения наружного диаметра обделываемых вещей.

Рис. 29
Метр употребляется в кузнечном деле железный, с делениями на сантиметры и миллиметры.
Керн представляет из себя небольшой стальной стерженек с оттянутым в виде конуса заостренным концом. Керн служит для наметки центров на металле.
Ручное зубило служит кузнецу для деления всякого рода необходимых отметок и зарубок.
Общие приемы ковки металлов
Горновое гнездо пред началом работы тщательно очищают от шлаков, изгари и золы. Все это можно сделать с помощью лопатки, кочережки и метлы. После всей этой предварительной подготовки и очистки горнового гнезда в него кладут немного щепок и зажигают их. Когда костер разгорится, насыпают уголь и приводят в действие мех, производят ровное, не очень сильное дутье. При этом сначала будет отделяться густой удушливый дым, а затем, мало-помалу, когда уголь разгорится и даст пламя, в горн можно заложить железо, которое желают нагреть. Металл необходимо зарыть в уголь возможно глубже и притом так, чтобы те части его, которые подлежат проковке, находились бы ближе к соплу. Затем поверх разгоревшейся кучи ярко горящего угля насыпают лопатою свежий уголь и, уплотнив его в виде конусообразной кучи, спрыскивают водою и продолжают усиленно дуть мехом.
После этой вторичной засыпки над углем, горящим в горновом гнезде, образуется непроницаемый для дыма и пламени свод, отчего ни пламени, ни дыма не будет видно; весь жар сосредоточится внутри кучи. Продолжая дутье, необходимо наблюдать, чтобы по мере сгорания угля и прорыва пламени сквозь непроницаемый свод, куча была бы выравниваема подсыпкою свежего угля и смачиванием его водою.
Нагревание металла. При накаливании металла в кузнечном горне весьма важно знать время нагрева, то есть необходимую продолжительность накаливания металла для дальнейшей его обработки на наковальне.
Недостаточно нагретое железо дурно обрабатывается, а перегрев металла портит его качества.






