Большая книга дачного мастера

- -
- 100%
- +
Паронепроницаемые пленки при использовании в жилых комнатах приводят к повышению влажности воздуха, нарушая нормальный микроклимат, по этому помещение необходимо регулярно проветривать.
После укладки пленки вдоль стропил прибивают бруски контробрешетки сечением 40 × 25 мм с шагом в 100 – 150 мм оцинкованными гвоздями. Поверх этих брусков выполняют обрешетку под покрытие кровли.
Если используется диффузионная мембрана, обладающая высокой паропроницаемостью, ее можно уложить прямо на теплоизоляционный слой, не оставляя нижнего зазора (рис. 67, б). При этом следует выполнить нахлест в 20 мм. В таком случае останется только один вентиляционный зазор – верхний, находящийся между мембраной и обрешеткой и составляющий 30 – 40 мм. Мембрану укладывают, ознакомившись с инструкцией производителя, повернув окрашенной стороной к утеплителю и обратной стороной наружу. Монтируют ее так же, как и пленку: при помощи оцинкованных гвоздей с широкой шляпкой либо скоб строительного степлера. Стыки полос мембраны требуется соединять двусторонней самоклеящейся лентой, чтобы защитить их от возникновения капиллярной влаги.
Нужно обратить внимание на следующее: ширина воздушной прослойки, расположенной между утеплителем и подкровельной гидроизоляцией, на всех участках поверхности должна быть не меньше 2 см (рис. 68).

Рис. 68. Утепление крыши с укладкой теплоизоляции между стропилами: 1 – кровельное покрытие; 2 – обрешетка; 3 – брусок; 4 – ветро-, влагозащищенная мембрана; 5 – утеплитель; 6 – стропила; 7 – гидроизоляция; 8 – обрешетка
При этом надо следить, чтобы гидроизоляционный материал не провисал слишком сильно, что может препятствовать нормальной циркуляции воздуха. Поэтому порой гидроизоляцию укладывают по сплошному настилу из дерева. Чтобы обеспечить выход воздуха из полостей, расположенных над и под слоем гидроизоляции, около конька монтируют специальную черепицу для вентиляции либо оставляют зазоры при устройстве самого конька.
Теплоизоляция крыши с нижней стороны стропил
При укладке теплоизоляционного материала ниже стропил чаще всего подкровельную гидроизоляцию устанавливают сверху, по стропилам, не делая сплошную деревянную обшивку, потому что вентиляционный зазор в любом случае получится большим – практически на всю толщину стропил (рис. 69). Недостаток такого способа утепления крыши – уменьшение объема мансарды.

Рис. 69. Утепление крыши с укладкой теплоизоляционного материала под стропилами: 1 – кровельное покрытие; 2 – обрешетка; 3 – брусок; 4 – ветро-, влагозащищенная мембрана; 5 – утеплитель; 6 – стропила; 7 – гидроизоляция; 8 – обрешетка
Выбор теплоизоляционного материала
В качестве утеплителя можно использовать те же материалы, что и при монтаже теплоизоляции между стропилами: стекловату и минерально-волокнистые маты, пенополистирольные и пенополиуретановые плиты. Толщина теплоизоляционного материала не должна быть меньше 100 мм, но в то же время она не может превышать толщину стропил.
Этапы работы
Первый этап при выполнении утеплительных работ – гидроизоляция. Как было сказано выше, в данном случае она укладывается сверху прямо по стропилам. Прикрепляют гидроизоляционную пленку при помощи скоб строительного степлера либо оцинкованных гвоздей с широкими шляпками.
Если помещение не отапливается, либо чердак холодный, устройства пароизоляции не требуется. Достаточно уложить только гидроизоляционный слой.
На втором этапе работ укладывают теплоизоляционный материал. Укладка проводится ниже стропил. Материал закрепляют при помощи строительного степлера. Поверх слоя теплоизоляции монтируют пароизолирующую пленку.
Заключительный этап – монтаж внутренней облицовки. В качестве строительного материала здесь подойдут листы из гипсокартона, фанера и вагонка. Облицовку прикрепляют с помощью оцинкованных гвоздей, снабженных широкими шляпками, либо саморезов. Чтобы финишная отделка получилась качественной, нужно следить, чтобы шляпки гвоздей или саморезов оказались углубленными в облицовочный материал. Перед выполнением окончательной отделки углубления от саморезов или гвоздей зашпаклевывают. Затем на гипсокартон или фанеру можно наклеить обои.
Теплоизоляция крыши с верхней стороны стропил
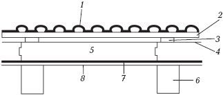
Теплоизоляция крыши над стропилами качественно защитит большую часть элементов ее конструкции от атмосферных осадков и температурных перепадов. Утеплитель в этом случае укладывают на сплошную деревянную обшивку. Данный способ интересен еще и тем, что предоставляет возможность использовать открытые стропила при оформлении интерьера мансарды.
Но сразу же появляется проблема – где и каким образом крепить гидроизоляционный материал? На современном рынке представлены теплоизоляционные панели с уже предусмотренной гидрозащитой. В данном случае нужен один уровень циркуляции воздуха, находящийся между теплоизоляционным материалом и кровлей (рис. 70). Воздушную полость создают посредством контробрешетки, у которой рейки укладывают параллельно стропилам. Необходимое условие для качественного функционирования подобной теплоизоляции – устройство хорошего паронепроницаемого слоя с внутренней стороны крыши.
Достоинства данной схемы утепления кровли – минимальный риск возникновения мостиков холода, постоянная температура и влажность всех элементов конструкции, что исключает возможность тепловой деформации материалов; самая эффективная по сравнению с другими конструктивными способами звукоизоляция; максимальное применение всего внутреннего пространства мансардного этажа.
Недостатки – сложность выполнения утеплительных работ на кровле, обладающей сложной формой, высокие требования, предъявляемые к подкровельным пленкам, невозможность проведения монтажных работ в плохих погодных условиях.

Рис. 70. Укладка теплоизоляции выше стропил с гидроизоляционным защитным слоем: 1 – кровельное покрытие; 2 – обрешетка; 3 – брусок; 4 – ветро-, влагозащищенная мембрана; 5 – утеплитель; 6 – стропила; 7 – гидроизоляция; 8 – обрешетка
Выбор теплоизоляционного материала
В качестве теплоизоляционного материала можно использовать стекловату, минерально-волокнистые плиты, маты из пенополистирола и пенополиуретана, оснащенные гидрозащитным слоем.
Этапы работы
Первый этап – монтаж внутренней отделки с использованием выбранных материалов: фанеры, вагонки, гипсокартона и т. д.
Затем требуется уложить слой пароизоляции с нахлестом в 20 мм. Все нахлесты обязательно проклеивают специальной лентой. Пароизоляционный слой должен обладать стойкостью к механическому воздействию, поскольку следующие этапы будут выполняться непосредственно на этой пленке.
Затем укладывают утеплитель, образующий непрерывный тепловой контур. Его укладывают гидроизоляционным слоем вверх. В качестве гидроизоляции должна выступать диффузионная мембрана, обладающая высокой паропроницаемостью. Затем укладывают кровельный материал.
Комбинированная схема утепления крыши
Можно применять комбинированную схему теплоизоляции крыши – двухслойное утепление. При таком способе одну часть теплоизоляционного материала укладывают между стропил, а другую под ними (рис. 71).

Рис. 71. Двухслойная теплоизоляция крыши: 1 – контробрешетка; 2 – подкровельная гидроизоляция; 3 – стропило; 4 – первый слой теплоизоляции; 5 – паронепроницаемая пленка; 6 – второй слой теплоизоляции; 7 – дополнительная обрешетка; 8 – облицовка (ГКЛ)
Выбор теплоизоляционного материала
При способе укладки утеплителя между и над стропилами для основного теплоизоляционного слоя можно использовать минеральную или стеклянную вату, обладающую обычной плотностью. Верхний же слой должен иметь высокую прочность к продавливанию. Для него подойдут древесноволокнистые или базальтовые плиты. При укладке верхних плит надо обязательно полностью перекрывать стропила для предотвращения образования мостиков холода.
Этапы работы
Сначала укладывают гидроизоляционный материал, его крепят при помощи строительного степлера или оцинкованных гвоздей с широкими шляпками. Затем укладывают утеплитель под и между стропилами. Внутренний слой утеплителя укладывают между поперечными брусами, полностью перекрывая стропила. Толщина бруса должна быть равна толщине теплоизоляционного слоя.
Пароизоляционный слой можно уложить между слоями утеплителя, но тогда для предотвращения скопления конденсата на пленке внутренний слой теплоизоляции должен обладать термическим сопротивлением не более 20 % от основного.
Допустимо уложить пароизоляцию сверху внутреннего слоя утеплителя, но при таком способе риск повреждения пленки во время устройства внутренней отделки помещения, установки электропроводки и приборов освещения повышается.
Особенности утепления плоской кровли
Теплоизоляция плоской кровли отличается от утепления скатной тем, что ее можно выполнять не только изнутри, но и снаружи здания. Но в таком случае придется затратить больше времени и денежных средств на ее утепление. Чтобы избежать лишних трат, лучше сначала теплоизолировать крышу снаружи, а после эксплуатации в течение одного года утеплить изнутри.
Утепление плоской крыши снаружи
Часто оказывается, что одного наружного утепления кровли достаточно, и утепление изнутри не понадобится.
Выбор теплоизоляционного материала
Для утепления вентилируемых бесчердачных крыш подходит пенополистирол плотностью 12 – 15 кг/м3, а также минеральная вата плотностью 20 – 35 кг/м3. Если бесчердачная крыша будет служить террасой, то в таком случае потребуется более твердый изоляционный материал. Подойдет пенополистирол плотностью не менее 20 кг/м3 либо минеральная вата с плотностью 150 – 220 кг/м3
Конец ознакомительного фрагмента.
Текст предоставлен ООО «ЛитРес».
Прочитайте эту книгу целиком, купив полную легальную версию на ЛитРес.
Безопасно оплатить книгу можно банковской картой Visa, MasterCard, Maestro, со счета мобильного телефона, с платежного терминала, в салоне МТС или Связной, через PayPal, WebMoney, Яндекс.Деньги, QIWI Кошелек, бонусными картами или другим удобным Вам способом.





