Новая водолазная и другая подводная техника

- -
- 100%
- +
1.4. Дыхательный аппарат с газогенератором на селективных мембранах
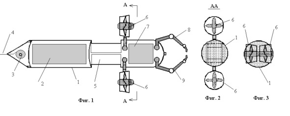
Попробуем сконструировать дыхательный аппарат водолаза на селективных мембранах. Схема такого аппарата приведена на рис. 5.

Рис. 5. Схема дыхательного аппарата замкнутого цикла на селективных мембранах.
Цифрами обозначены: 1 – решётка (рама) для пластин газогенератора; 2 – сетка металлическая; 3 – мембрана; 4 – шов или склейка двух мембран; 5 – трубка для вывода газов; 6 – трубка для ввода газов; 7 – резиновая трубка вывода газов; 8 – резиновая трубка ввода газов; 9 – коллектор сбора выходящих газов; 10 – коллектор распределения входящих газов; 11 – патрубки; 12 – корпус дыхательного аппарата; 13 – пластины газогенератора; 14 – дыхательный мешок;15 – полумаска; 16 – трубка вдоха; 17 – трубка выдоха; 18 – баллон ВВД; 19 – дыхательный автомат; 20 – вентиляционные щели и отверстия в крышке.
Рассмотрим устройство и работу дыхательного аппарата (ДА).
Решётка или рама 1 (металлическая или пластиковая) это прочный корпус газогенератора. На неё крепятся с обеих сторон металлические сетки 2. Поверх сеток укладывают селективные мембраны 3. По краям их сшивают или склеивают так, чтобы место склейки 4 было герметичным.
В решётку 1 вставлены трубки 5 и 6 для вывода и ввода газов. Места выхода трубок из газогенератора необходимо герметизировать (клеем или гайкой с резиновой прокладкой).
Далее пластины газогенератора 13 помещают в корпус ДА 12. На рис. 1 изображены 4 пластины. На самом деле их может быть от 6 до 8, всё зависит от толщины пластин, зазоров между ними и толщины корпуса ДА.
Металлические трубки 5 и 6 соединяют с коллекторами 9 и 10 гибкими резиновыми трубками. Коллектор 9 соединяют с дыхательным мешком 14, а коллектор 10 – с патрубком трубки выдоха 17. Дыхательный мешок соединён с клапанной коробкой и полумаской водолаза трубкой вдоха 16. В дыхательном мешке установлен дыхательный автомат 19, соединённый трубопроводом с баллоном ВВД 18.
Производительность селективных мембран.
Возьмём пластины размером 35 х 40 см. Тогда площадь одной пластины составит 0,14 м2. Поскольку пластины двухсторонние, то площадь мембраны равна 0,28 м2. Если пластин 6 или 8, то площадь всех мембран S = 1,68 м2 или 2,24 м2.
Сравним площадь их поверхности с площадью поверхности цилиндра из статьи «Способ извлечения воздуха из воды» авторов Гришин Б. П. и Гришин Б. К. Цитирую:
Пример 1.
«Испытатель через загубник с патрубком, соединенным с полой камерой объемом около 100 л, образованной путем обтяжки смоченной водой хлопчатобумажной тканью двух колец диаметром по 800 мм с размером сквозных пор до 100 мкм при расстоянии между кольцами 200 мм (схема эксперимента приведена на рис. 2) опускался под воду на глубину от 0,3 до 1,5 м.
Давление внутри камеры было на 30—50 мм водяного столба больше суммарного давления атмосферы и гидростатического столба, которое изменялось от 1,03 до 1,15 ата… При этом дыхание осуществлялось только воздухом, находящимся внутри камеры. Выдох осуществлялся также внутрь камеры. Время, проведенное испытателем под водой, составляло 50 мин. Вдох и выдох через камеру осуществлялся без заметных усилий.
В отсутствие газообмена между воздухом камеры и водой испытатель мог бы дышать данным объемом воздуха не более 10 мин, после чего из-за исчерпывания кислорода и накопления СО2 дыхание оказалось бы невозможным. Следовательно, газообмен между воздухом камеры и водой осуществлялся нормально».
Пример 3.
«Способ осуществляют аналогично примеру 1, но в качестве пористых мембран применяют комбинированную ткань на основе шерстяных и синтетических волокон. Диаметр пор материала находится в пределах от 15 до 80 мкм. Испытатель провел под водой 2,0 ч, опускаясь на глубину до 2,6 м. Давление внутри камеры было на 90 мм водяного столба больше суммарного давления атмосферы и гидростатического столба, составлявшего 1,26 ата».
Площадь мембраны в данном примере составляла всего 1,5 м2, при этом испытуемый дышал через неё 2 часа (физической нагрузки не было). Следовательно, при применении в качестве мембран ткани на основе шерстяных и синтетических волокон время пребывания под водой возросло с 50 минут для хлопчатобумажной ткани до 2-х часов для комбинированной ткани на основе шерстяных и синтетических волокон (например, брезент, джерси). Может быть, станет возможно и применение дешёвой полиэтиленовой плёнки, облучённой альфа частицами или чисто синтетических тканей, но всё это надо проверять.
Работает ДА следующим образом.
Перед погружением водолаз открывает вентиль баллона ВВД и включается в аппарат. Дыхательный мешок 14 наполняется воздухом. Его ёмкость должна быть меньше, чем обычно (6 – 8 л), поскольку часть воздуха содержится в пластинах газогенератора 13. Из-за экскурсии дыхательного мешка (расширения и сжатия) возникает движение воды между пластинами 13, что улучшает газообмен между водой и пластинами.
При погружении водолаза мешок 14 сжимается и дыхательный автомат 19 наполняет его воздухом из баллона ВВД. При всплытии мешок 14 расширяется, и излишки воздуха стравливаются в воду через травящий клапан, установленный в дыхательном мешке.
При работе на постоянной глубине водолаз на вдохе потребляет воздух обогащённый кислородом за счёт экстракции его из пластин газогенератора. При выдохе воздух снова заходит в пластины и обогащается кислородом. Углекислый газ при этом уходит в воду за счёт диффузии через мембраны (срабатывает разница в парциальных давлениях). Это позволит водолазу неограниченно долго работать под водой. При этом допустимая физическая нагрузка определяется производительностью газогенератора и должна проверяться экспериментально.
Но при работе газогенератора в дыхательную систему будет в небольших количествах попадать и вода, которая образуется за счёт конденсации паров воды, проходящих через селективные мембраны. При выдохе она будет выдуваться из газогенератора в дыхательный мешок. Вода эта пресная (дистиллят) и может быть просто выпита водолазом. Для этого ему достаточно опуститься вниз головой.
Предложенная конструкция газогенератора может применяться и для обеспечения дыхания экипажа в замкнутом объёме подводной лодки или подводного аппарата. Естественно, что там площадь селективных мембран должна быть увеличена до нескольких квадратных метров и расположены они могут быть в лёгком корпусе МПЛ или СМПЛ. Кроме воздуха газогенератор может снабжать экипаж и пресной (дистиллированной) водой.
1.5. Гидрокостюм «Дельфин»
В моём научно-фантастическом романе «Новые кроманьонцы», книга 2, стр. 290 читаем (с небольшой моей правкой):
Георгий Евгеньевич:
– «Для длительного пребывания человека под водой – акванавта создан гидрокостюм «Дельфин». В нём человек действительно похож на дельфина. Костюм этот эластичный и «поддут» изнутри водой, благодаря чему он упругий как футбольный мяч и имеет хорошую гидродинамику. В качестве движителя используется хвостовой плавник, который повторяет движения ног акванавта, усиленные гидроприводом. Источником энергии служит электрохимический генератор на жидком водороде и кислороде. Сжиженный водород, охлаждённый до —253° C, хранится в криогенном баллоне, типа термоса. Он медленно испаряется, при этом температура его остаётся постоянной. При работе электрохимического генератора водород соединяется с кислородом, добываемым прямо из морской воды с помощью селективных мембран. Реакция происходит в специальных топливных батареях. На выходе получаем электрический ток. «Гидрокостюм – движитель – энергоустановка», это единая система, обеспечивающая обогрев, движение и дыхание акванавта. В гидрокостюме «Дельфин» акванавт может находиться до трёх суток и плавать со скоростью до восьми узлов.
– А как же он ест и пьёт? – спросил Александр.
– Ест и пьёт он из специальных тюбиков, в которых находится жидкая или пастообразная пища. Тюбик подсоединяется к специальному штуцеру, акванавт берёт губами «соску», нажимает на тюбик и выдавливает его содержимое в рот. Всё как у космонавтов.
– А как же он, извините, писает?
– Всё предусмотрено. В костюме имеется специальное гальюнное устройство для вывода мочи.
– А если акванавту нужно сходить по большому?
– Тогда он перед погружением надевает специальный подгузник.
– А как же он так долго находится в воде? – спросил Валерий. – Ведь кожа у человека уже после нескольких часов пребывания в воде начинает размокать и облезает.
– Так сам-то акванавт находится в специальном непромокаемом тёплом костюме, да ещё и вентилируемом. Внутри он пористый и по порам прокачивается воздух. Это только верхний гидрокостюм «Дельфин» накачан водой, чтобы обеспечить хорошую обтекаемость.
– А руки у него тоже в костюме?
– Нет, руки выведены через специальные рукава наружу и снабжены герметичными перчатками. Акванавт может пользоваться различным инструментом, у него есть фонарь, гидроакустические и навигационные приборы. Так что под водой он чувствует себя как рыба в воде.
– И что же акванавты делают в таких костюмах? – спросил Александр.
– Много чего. В них можно погружаться на глубины до 500 метров. При этом для дыхания используется водородно-кислородная смесь, в которой кислорода содержится 1 – 3 процента. Акванавты наблюдают за биосферой, выполняют поисковые, спасательные, аварийные и судоподъёмные работы, монтаж подводного оборудования, подводных камер, станций, обслуживают подводные нефте и газопромыслы, занимаются геологоразведкой и прочее. Это по сути дела подводные космонавты, а вода для них – гидрокосмос, который мы сейчас успешно осваиваем».
Конец цитаты.
Ниже я попытался изобразить этот хитрый гидрокостюм (рис. 6).
– И какие же спасательные работы выполняют эти акванавты? – спросит читатель.
– Извините. Это конечно не совсем спасательные… Я бы назвал их послеаварийные работы или поставарийные. Это, например, извлечение тел погибших из отсеков и кают затонувших НК или ПЛ. Извлечение драгоценностей или иного дорогого груза – золота, платины, изделий электроники и т. д. из затонувшего судна (т.е. его разгрузка). Извлечение секретных документов и техники, например, ядерных боеголовок ракет или торпед из затонувшей ПЛ.
– А как же декомпрессия? – спросит читатель. – Ведь с таких глубин надо очень долго подниматься на поверхность, иначе закесонишь – кровь акванавтов будет насыщена водородом.
– Так это после работы. Но в процессе работы акванавтам надо периодически отдыхать. Каждый раз шлюзоваться в сухой жилой отсек, снимать гидрокостюм, а затем, отдохнув полчаса – час, опять надевать снаряжение, переходить в шлюзовую камеру, опять шлюзоваться – это долго. В таком удобном гидрокостюме можно отдыхать и в воде. Достаточно просто повисеть под водой без движения, поесть, попить, подремать…

Рис. 6. Гидрокостюм «Дельфин».
Цифрами обозначены: 1 – ткань гидрокостюма; 2 – электрохимический генератор (топливные батареи); 3 – дыхательный аппарат на селективных мембранах; 4 – система гидравлики; 5 – РЭВ; 6 – иллюминатор; 7 – антенны УКВ – СВЧ радиосвязи; 8 – автоматика; 9 – баллоны с жидким водородом; 10 – моноласт или две ласты.
– Опасность кессонной болезни невелика. Акванавты поднимаются с больших глубин не на поверхность, а в специальные подводные камеры, в которых могут жить долгое время под повышенным давлением. Эти камеры вместе с акванавтами можно поднимать на специальное судно и транспортировать куда угодно.
– И зачем же акванавтам автономность трое суток, если живут они в специальных прочных подводных камерах под повышенным давлением и снимают всё снаряжение после нескольких часов работы? – спросит мой уважаемый читатель.
– Но просто висеть под водой без движения акванавту нельзя. Точной нулевой вывески не бывает. Акванавт будет либо всплывать (плавучесть немного положительная), либо тонуть (плавучесть слегка отрицательная), а это опасно, – заявит читатель.
– Согласен. Опять же под водой всегда есть течения и неподвижного акванавта будет сносить с места работы. Ведь у акванавта нет никаких верёвок, чтобы привязать себя к чему-нибудь под водой. Поэтому лучше акванавту заплыть в шлюзовую камеру и отдыхать там.
В шлюзовой камере светло, нет течений, и акванавт может отдыхать, зависнув под потолком или опустившись на пол шлюзовой камеры. Он сможет поесть, попить, заправиться водородом, пополнить запас тюбиков с едой и водой, доложить обстановку, пообщаться с товарищами, посмотреть телевизор и т. д. Снаряжения снимать он не будет и большая автономность, 10 – 12 часов, ему не помешает (8 часов на работу с перерывами на отдых, плюс 2 – 4 часа – необходимый запас автономности).
– Но зачем тогда акванавту автономность до трёх суток? – спросит читатель.
– А если акванавты заняты поисками каких-то затонувших предметов или представителей флоры и фауны на большой акватории, в том числе подо льдом? Если они заняты геологоразведкой? Если они выполняют какие-то специальные операции в водах противника?
Под водой в таком снаряжении они совершенно свободны и на судно или на берег могут вернуться не скоро. Они могут путешествовать группами под водой на значительные расстояния и жить в подводных базах. Они подводные туристы! Однако заправится водородом, пополнить запасы воды и пищи где угодно они не смогут и тут автономность снаряжения трое и более суток не помешает. При глубинах менее 60м акванавты используют для дыхания только азотно-кислородные смеси, если глубины более 60м, то используют водородо-азотно-кислородные смеси.
– Всё это интересно, но подобные подводные работы может выполнить и необитаемый подводный аппарат (НПА), – возразит читатель, – и при этом ему не нужен такой хитрый и сложный гидрокостюм.
– Согласен. Кое-что и НПА может сделать, но далеко не всё. Ниже я изобразил НПА, который способен выполнять некоторые функции акванавта (рис. 7). Предложенный НПА может перемещаться и маневрировать под водой за счёт винторулевых колонок, вращающихся как в вертикальной, так и в горизонтальной плоскостях, что обеспечивает возможность маневрирования НПА как по курсу, так и по глубине. Он может захватывать манипуляторами небольшие предметы и поднимать их на поверхность, крутить вентили, удерживать разный инструмент и т. д.
Однако чтобы выполнять разнообразные подводные работы, необитаемому аппарату нужен оператор, который должен видеть рабочее поле с помощью телекамер, т. е. НПА должен иметь связь с оператором, находящимся на судне или на берегу. И связь эта возможна только через коаксиальный кабель или через ВОЛС. Это главный недостаток привязных НПА. Акванавты могут работать автономно, лишь изредка выходя на связь (гидроакустическую или радио) с руководителем, НПА нужна постоянная связь.

Рис. 7. Необитаемый подводный аппарат с функциями акванавта.
Цифрами обозначены: 1 – прочный корпус НПА; 2 — аккумуляторная батарея; 3 – катушка ВОЛС; 4 – нитка ВОЛС; 5 – ниша для винторулевых колонок; 6 – винто-рулевые колонки; 7 – блок автоматики и электроники; 8 – левый манипулятор; 9 – правый манипулятор.
Связь НПА с оператором через коаксиальный кабель возможна только на небольших расстояниях (в сотни метров), связь по ВОЛС возможна на расстояниях в несколько километров. Однако управление по кабелю или ВОЛС сопряжено с рядом трудностей. Кабель или ВОЛС могут серьёзно мешать НПА.
Они могут цепляться за различные корабельные устройства на палубе затонувшего корабля, могут попасть в собственные винты НПА при маневрировании внутри корабля – в случае попытки проникнуть в отсеки или каюты. Два НПА могут запутаться в кабелях, если они пересекутся. Свободные от каких-либо верёвок акванавты могут работать парами и группами, помогая друг другу, НПА лишены такой возможности.
Опять же прочность ВОЛС не велика и она может просто оборваться, зацепившись за что-либо. Кроме того ВОЛС не выдерживает сильных изгибов и ломается – ведь это хрупкое стекло. Можно конечно увеличить прочность ВОЛС армировав её стальными нитями, но это не спасёт НПА от других недостатков.
Акванавты (водолазы), например, могут выполнять тонкую работу пальцами рук. Открывать люки и двери, ящики столов, сейфы, извлекать документы, демонтировать различные приборы. Пальцы манипуляторов НПА не имеют такой тонкой моторики и не способны к выполнению подобных работ.
Всё вышеперечисленное говорит в пользу создания гидрокостюма «Дельфин», хоть НПА и могут выполнять не слишком сложные подводные работы. Значит в перспективе развития водолазного дела нужно и то и другое.
1.6. Гальюнное устройство водолаза
Проблема выведения мочи из гидрокомбинезона водолаза существует давно – как только время пребывания водолаза под водой превысило 3 – 4 часа. Особенно часто усиливается желание помочиться при нахождении в холодной воде. Современные гидрокомбинезоны водолазов не имеют устройства для вывода мочи и нередко водолазы выходят из воды с мокрыми штанами. Это вызывает раздражение кожи, неприятный запах и переохлаждение нижней части тела.
Автор предлагает следующее устройство для вывода мочи, являющееся частью гидрокомбинезона водолаза.
Для решения поставленной задачи в гидрокомбинезон водолаза, в область паха необходимо вклеить участок с тонкой эластичной резиновой вставкой, в которую вмонтировать металлическое кольцо-обтюратор через которое penis водолаза будет выводится наружу. Герметизация системы производится с помощью начленника, в качестве которого используется обычный презерватив. Кольцо и начленник прикрываются створками из неопрена или из микропористой резины, снабжёнными застёжкой «молния».
Устройство для вывода мочи (рис. 8) состоит из следующих конструктивных узлов: вставки из тонкой эластичной резины 1; обтюраторного кольца 2, изготовленного из тонкого металла и имеющего канавку; створок 3 с застёжкой типа «молния» 4, и презерватива который является сменным элементом. Презерватив включает в себя обтюрирующий валик 5, начленник 6 и спермоприёмник 7.
Использование устройства осуществляется следующим образом.
Водолаз, надевая гидрокомбинезон, выводит penis наружу через обтюрирующее кольцо 2. Затем надевается презерватив так, чтобы часть его ушла под крайнюю плоть penis-a 8. В результате между крайней плотью и головкой penis-a возникает складка 9 из тонкой резины, которая и герметизирует данный узел. Затем обтюрирующий валик 5 надевается на кольцо 2. Здесь также происходит герметизация соединения. После этого ножницами водолаз отрезает нижнюю часть спермоприёмника. Теперь моча может свободно выходить наружу. Оставшаяся часть спермоприёмника загибается вверх и прижимается створками 4. Это также даёт дополнительную герметизацию узла. Затем застёжка «молния» застёгивается до конца, закрывая penis и прижимая его к вставке 1.

Рис. 8. Устройство для вывода мочи из гидрокомбинезона.
При необходимости помочиться, водолаз расстёгивает «молнию», освобождает penis и опорожняет мочевой пузырь. Затем загибает вверх спермоприёмник и застёгивает «молнию».
Другой способ удаления мочи заключается в том, что в комплект ССП включают неопреновые рейтузы с носками, закрывающими стопы ног. Рейтузы надеваются на голое тело, а penis выводится наружу через ширинку. Далее водолаз надевает гидрокомбинезон и поясной ремень (рис. 9).

Рис. 9. Гидрокомбинезон водолаза с устройством для вывода мочи.
Однако гидрокомбинезон отличается от обычного тем, что ниже поясного ремня 1 имеется поясное резиновое кольцо 2, в которое из баллона 3 может подаваться воздух через вентиль 4. Помочившись в гидрокомбинезон, водолаз открывает вентиль 4 и надувает кольцо 2. Оно расширяется и плотно прижимается к гидрокостюму.
Далее воздух из кольца через клапан 5 (ниппель) подаётся в штаны гидрокомбинезона. Давление в них повышается, и моча уходит в воду через травящие лепестковые клапаны, расположенные в районе стоп водолаза. Даже если моча не будет удалена из штанин полностью, она не попадёт на голые ноги водолаза, поскольку они закрыты неопреновыми носками. Главное, чтобы при надувании штанин под водой водолаза не перевернуло вверх ногами.
1.7. Мягкая подводная база
С развитием подводного туризма мягкие подводные базы могут стать весьма популярны у водолазов. Кроме туристов их также могут использовать подводные геологи, биологи, археологи, зоологи, ихтиологи, экологи.
Они не дороги по сравнению с современными катерами и яхтами. Условия проживания в них могут быть весьма комфортными. В штормовую погоду на глубине 10 и более метров базу будет лишь слегка покачивать. Кроме того в базу можно подниматься с весьма больших глубин, используя её для декомпрессии.
В обследуемом районе может быть установлено сразу несколько баз. Предварительно в районе устанавливают несколько мёртвых якорей, к которым крепятся базы. Возможна постановка баз и на собственные взрывные якоря на песчаных и глинистых грунтах. Обслуживание баз обслуживаемых одной яхтой (катером) заключается в периодической доставке продовольствия, воды, средств регенерации и очистки воздуха, электроэнергии (в виде аккумуляторных или топливных батарей), сменных экипажей.
Для наддува оболочки базы, зарядки аквалангов, регенерации и очистки воздуха, подачи электроэнергии служит подводный контейнер жизнеобеспечения, который опускается с борта катера к базе и подключается к ней шлангами и кабелем. В зависимости от количества акванавтов в базе (максимум 6 человек), один контейнер сможет обеспечивать их пребывание до одной недели.
Перед постановкой, выключателем 16 включают гидроакустический маяк 22 в дежурный режим приёма запросного сигнала, реле давления 14 устанавливают на 6 – 8 м выше глубины места в районе постановки базы.

Рис. 10 (вверху). Мягкая база в рабочем состоянии. Рис. 11 (внизу). Сложенная база.
После этого база сбрасывается за борт. Поскольку центр тяжести базы смещён вниз за счёт веса якоря, она погружается якорем вниз.
База с контейнером может перевозиться катером, яхтой и в кузове грузового автомобиля в сложенном виде, занимая мало места. Конструкция мягкой подводной базы в развёрнутом (рабочем) состоянии база представлена на рис. 10. В сложенном виде представлена на рис. 11.
Мягкая подводная база состоит из следующих конструктивных элементов: 1 – прочный ствол; 2 – нижний фланец; 3 – верхний фланец; 4 – якорь-гарпун; 5 – раздвижные спицы; 6 – поворотные шарниры; 7 – ткань купола базы; 8 – входной тубус; 9 – стальной трос; 10 – шток; 11 – свободный конец стального троса; 12 – стопор троса; 13 – антенна гидроакустического маяка и станции ЗПС; 14 – реле давления; 15 – ручной травящий клапан; 16 – выключатель электропитания; 17 – светодиодные светильники; 18 – пульт управления приборами базы (с электроразеткой для зарядки аккумулятора); 19 – контейнер жизнеобеспечения; 20 – аккумулятор; 21 – заряд ВВ; 22 – станция связи и привода.
Используется база следующим образом.
Перед постановкой базы трос 11 рукой через отверстие в корпусе ствола 1 заправляют в пространство между штоком якоря 10 и внутренней поверхностью ствола.
Трос укладывается петлями до заполнения всего свободного пространства. Затем на оставшуюся часть троса в нужном месте (в соответствии с необходимой глубиной постановки базы) накладывают стопор 12.
В сложенном виде спицы 5 базы прижаты к прорезиненной ткани 7, уложенной вокруг прочного ствола 1 и скреплены бечевкой. В таком виде база доставляется в район постановки катером, яхтой или вертолётом.
При достижении заданной глубины, срабатывает реле давления 14 и подаёт электрический импульс на электродетонатор заряда ВВ. Подрыв заряда вызывает движение штока якоря – гарпуна 10. Якорь выходит из ствола 1 и входит в грунт вместе с частью троса 9. Сама база ложится на грунт в связи с большой отрицательной плавучестью.
Следом за базой (или в друге время) сбрасывается обеспечивающий контейнер 19, и спускаются водолазы, которые будут жить в базе. Они запрашивают гидроакустический маяк базы и, получив ответный приводной сигнал, подводят обеспечивающий контейнер к базе, (контейнер имеет небольшую отрицательную плавучесть).



