Информатика и защита информации. Для студентов гуманитарных и технических специальностей

- -
- 100%
- +

© Владимир Челухин, 2018
ISBN 978-5-4493-9611-2
Создано в интеллектуальной издательской системе Ridero
ВВЕДЕНИЕ
В последнее время устройства вычислительной техники и информационные технологии всё больше и больше внедряются в гуманитарные области науки.
Юриспруденция, социальная работа, лингвистика, экономика, культурология всё шире используют компьютеры и соответствующее программное обеспечение, что позволяет намного увеличить эффективность работы. Например, программа «Консультант +” по законодательству для юристов позволяют в считанные минуты подобрать любые законодательные акты по интересующему вопросу. Мощные электронные словари и переводчики позволяют за короткое время перевести большие по объёму документы на интересующий лингвиста язык.
Сегодня большое число компьютеров все больше и больше объединяется в сети как местного, локального значения, так и в глобальные. Возникают необходимости поиска и размещения информации в сети Internet, что тоже должен уметь делать грамотный пользователь.
Кроме того, соединение огромного числа компьютеров в сеть повлекло за собой рост преступлений, связанных с хищениями информации через компьютерную сеть, в том числе и конфиденциальной, секретной. Немалую опасность представляют сейчас для пользователей хакерские атаки, появление вредящих компьютерных вирусов, поражающих логическую часть ЭВМ, а порой и физическую. В этой связи пользователь должен понимать политику защиты не только своего компьютера, но локальной, местной сети, уметь защитить её от вредящих действий злоумышленников, атакующих его компьютер через глобальную сеть. Пользователь должен уметь правильно применить административные и технические меры защиты информации, хорошо ориентироваться в законодательстве и знать статьи уголовного права, нацеленные на защиту информации, интеллектуальной собственности, созданной с помощью компьютеров, соблюдать правила использования лицензионного программного обеспечения.
В книгу очень ограниченно вошли такие разделы как основы программирования, алгоритмические языки, системы счисления, структуры алгоритмов и т. п. Те, кто желает глубже изучать программирование, могут воспользоваться специальной литературой по этому вопросу, выбрав необходимый язык программирования.
Материал в книге подобран в соответствии с требованиями Государственного образовательного стандарта специальностей гуманитарного профиля и на основе лекций, прочитанных автором для гуманитарных специальностей Комсомольского-на-Амуре технического университета.
1. СТРУКТУРА ИНФОРМАЦИОННЫХ ТЕХНОЛОГИЙ
Информационными технологиями называют совокупность вычислительных и исполнительных устройств, программного обеспечения и средств связи, предназначенных для обработки информации.
К вычислительным устройствам относят компьютеры, микропроцессоры, чипы и другие арифметически-логические устройства вычисления.
К исполнительным относят устройства отображения информации: принтеры, мониторы, плоттеры, а также устройства её считывания: сканеры, дисководы.
Программным обеспечением называют совокупность интеллектуальных знаний, задающих логическую последовательность выполнения поставленных задач и процессов управления с помощью специальных символов, созданных языком программирования.
К устройствам связи относят телефонные и радиорелейные линии, модемы, кабельные сети, антенные устройства.
В целом информацией называют совокупность интеллектуальных знаний, используемых в процессах управления.
Задачей информационных технологий является представление интеллектуальных знаний и документов, отражающих их, в электронном виде, автоматизация процессов управления при помощи аппаратно-логических устройств, а также сбор, анализ и обработка информации (обмен, хранение, накопление и т.д.).
Термин информация происходит от латинского слова informatio, означающее разъяснение, осведомление, изложение. Развитие информационных технологий обеспечивают:
– математика;
– программирование;
– микропроцессорная техника;
– техника связи;
– организационно-правовое обеспечение;
– стандартизация и унификация.
Основной причиной стремительного развития информационных технологий являются возможность работы с её техническими средствами в диалоговом режиме с использованием принципа меню (пользователю предлагаются готовые варианты для выбора). В последнее время в информационных технологиях всё большее развитие получают программы, позволяющие реализовать речевой диалог с вычислительной машиной.
В общем виде, базой развития информационных технологий являются аппаратные устройства обработки информации и их программное обеспечение.
2. АППАРАТНЫЕ УСТРОЙСТВА ИНФОРМАЦИОННЫХ ТЕХНОЛОГИЙ
2.1. Компьютеры
Основным элементом информационных технологий является компьютер. «Компьютер» – переводится как вычислитель. История его начинается с 1642 г., когда Блез Паскаль изобрел механическое устройство для сложения чисел. 1672 г. Готфрид Вильгельм Лейбниц сконструировал арифмометр, позволяющий вычислять 4 арифметических действия. С XIX века арифмометры были очень распространены. В первой половине XIX века английский математик Чарльз Бэббидж построил аналитическую машину, которая работала по программам на перфокартах. Машина оказалась слишком сложна, но он разработал идеологию. В 1943 г. американец Говард Эйкен на предприятии фирмы IBM построил электромеханическую вычислительную машину «Марк – 1». Приблизительно в то же время немец Конрад Цузе в 1941 г. построил такую же машину.
Затем группа специалистов в США под руководством Дж. Мочли, Преснера и Экерта сконструировали подобную машину, под названием «ENIAC», на основе электронных ламп, а не реле. Её серьёзный недостаток – выделялось много тепла и затруднен был процесс ввода программ. В 1945 г. к работе был привлечен Джон Фон Нейман, математик, который сформулировал общие принципы работы ЭВМ. В 1949 г. был построен первый компьютер, где были воплощены все принципы Неймана. Его построил английский исследователь Маркс Уилксон.
Согласно принципам Неймана (рис. 1) компьютер должен иметь:
1) арифметически – логическое устройство, выполняющее операции;
2) устройство управления – организующее процесс выполнения программ;
3) запоминающее устройство (память) для хранения программ, данных;
4) внешние устройства ввода – вывода данных.

Рисунок 1 – Абстрактная схема компьютера
С помощью внешнего устройства в память вводят программу. Устройство управления считывает ее с памяти и ориентирует выполнение по порядку, установленному памятью и выводит информацию на внешнее печатное устройство или экран.
В 1948 г. с появлением транзисторов, а с 1958 г. – интегральных микросхем компьютеры с 1968 г. стали выпускаться на микросхемах.
Роберт Нойс, основатель фирмы Intel, с 1970 г. начал продавать интегральные схемы памяти, и фирма выпустила первый микропроцессор Intel – 4004.
В 1974 г. фирма Intel выпустила версию Intel-8080, которая до конца 70 г. стала стандартом микрокомпьютерной индустрии. А в 1975 году был создан первый коммерческий компьютер «Альтаир-8080» фирмой MITS. Его возможности были скромные, но успех очень большой.
В это же время Полл Аллен и Билл Гейтс, основатели фирмы Microsoft создали для компьютера «Альтаир» интерпретатор языка BEISIC, что позволило легко писать программы для него. К 1979 г. спрос на ЭВМ упал, и фирма IBM решила уделить внимание персональным компьютерам (ПК). В качестве эксперимента руководство дало полную свободу отделу, занимавшемуся разработкой ПК, и те использовали блоки других фирм и открытую архитектуру. В 1983 г. был выпущен ПК IBM PC AT на основе микропроцессора Intel – 80286. Так как успех у персональных компьютеров был очень сильным и спрос на них стремительно рос, то чуть позднее их выпуском стали заниматься и многие другие фирмы и предприятия. Сегодня их сборкой и выпуском занимаются в США, Европе, Китае, Тайване, России и других странах.
Представление информации в персональном компьютере
Компьютер может обрабатывать информацию только в числовой форме. Поэтому вся другая информация: звуки, изображения, тексты должны быть преобразованы в числовую форму. Процесс преобразования называется кодированием.
Числа в ПК представляются с помощью 0 и 1, то есть компьютеры работают в двоичной системе.
Единицей информации является один бит, т.е. двоичный разряд, который может принимать значение 1 или 0. Обычно ПК работает с 8 битами сразу. Восемь последовательных битов составляют байт. В нем можно закодировать = 256 символов. Более крупная единица – килобайт (Кбайт) равный 1024 байта (), мегабайт (Мбайт) равный 1024 Кбайта, и гигабайт 1024 мегабайта. Например, объём книги 300 страниц приблизительно равно 900 Кбайт. На одну стандартную дискету ёмкостью 1.44 Кбайт можно записать примерно 450 – 500 страниц текста.

Рисунок 2 – Взаимодействие компонентов компьютера
Архитектура компьютера
Персональный компьютер – сложное устройство, состоящее в основном из электронных блоков, установленных в корпусе и связанных между собой шлейфами кабелей – так называемая аппаратная часть. Однако, кроме того, компьютер имеет и интеллектуальную часть – программное обеспечение или логическую часть. Поэтому, говоря об устройстве компьютера, всегда надо различать его аппаратную часть и его программную часть (логическую). Рассмотрим вначале его аппаратную часть.
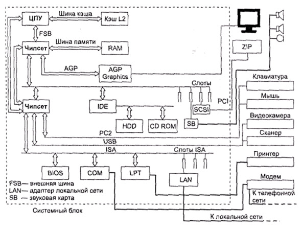
Компьютер – это комплекс взаимосвязанных электронных устройств, каждому из которых поручена определенная функция (рис. 2). Этот комплекс называют конфигурацией или архитектурой ПК. Конкретный ПК может работать с разным набором внешних устройств. Но существует «минимальная» конфигурация, без которой работа на ПК становится невозможной.
Различают системный блок (рис.3) и внешние устройства ПК. К внешним устройствам относят монитор, клавиатуру, мышь и все остальные устройства, например, модем, принтер, сканер.
Системный блок
Системный блок (заключенные в металлический корпус основные электронные элементы ПК и платы) чаще всего содержит:
¨ системную (материнскую) плату с процессором, микросхемы памяти, генератор тактовых импульсов, системную магистраль, контроллеры (адаптеры) внешних устройств, слоты – разъёмы для подключения контроллеров;
¨ звуковые и видеокарты;
¨ накопитель на жестких дисках;
¨ дисководы;
¨ блок питания.

Рисунок 3 – Внешний вид системного блока
Процессор (микропроцессор) – это центральное устройство компьютера («мозг» машины). Проводит вычисления и управляет работой всех устройств. Процессоры различаются между собой по типу модели и характеристикам. Основные модели процессоров IBM – совместимых компьютеров фирмы Intel:
¨ 1974 г. – 8-разрядный процессор 8080 (4800 транзисторов, 75 команд, 64 Кбайта памяти);
¨ 1978 г. – 16-разрядный процессор 8086 – ХТ (1 миллион операций в секунду (млн. оп/с), 4,77—10 МГц);
¨ 1982 г. – 80286 – РС (1—2 млн. оп/с, 6—25 МГц);
¨ 1986 г. – 80386 – 32-разрядный (6—12 млн. оп/с, 16—33 МГц);
¨ 1990 г. – 80486 – (20—40 млн. оп/с, 25—50 МГц);
¨ 1993 г. – Pentium – 32- разрядный (120—200 млн. оп/с, 60 МГц, 3 миллиона транзисторов);
¨ 1995 г. – Pentium РRO (300 млн. оп/с, 150 – 200 МГц);
¨ 1997 г. – Pentium II (233 – 450 МГц);
¨ 2000 г. – Pentium III (566 – 1000 МГц);
¨ Pentium IV (1400 – 1700 МГц и более, 42 миллиона транзисторов).
В последнее время фирмой Intel разрабатываются процессоры Itanium, имеющие более высокие характеристики. Их главная особенность – 64 разрядная внутренняя архитектура. В настоящее время процессоры Itanium, Itanium 2 используются в мощных серверах. Эти процессоры требуют специального программного обеспечения. Фирма Intel выпускает также процессоры типа Celeron, несколько дешевле первых.
Кроме фирмы Intel в создании процессоров участвуют и другие фирмы AMD (AMD, Athlon, Duron), Cyrix, VIA, IBM и т.п., характеристики выпускаемых процессоров которых тоже достаточно высоки, а цены несколько ниже.
Основными характеристиками процессоров являются тактовая частота и разрядность
Тактовая частота или быстродействие – это количество информации, обрабатываемой за секунду, которая указывает, сколько элементарных операций (тактов) микропроцессор выполняет за одну секунду.
Такт – это промежуток времени между началом подачи текущего импульса и началом подачи следующего. На выполнение процессором каждой операции отводится определенное количество тактов. Тактовая частота измеряется в мегагерцах (МГц). Герц – единица измерения частоты колебаний, равняется одному колебанию в секунду. МГц – это миллионы герц, миллион колебаний в секунду, миллион операций в секунду.
Разрядность – максимальное количество информации, которое может обрабатываться или передаваться процессором одновременно – количество обрабатываемых бит информации как единое целое (4, 8, 16, 32, 64). Бывают процессоры, имеющие 8 разрядов, 16, 32 и даже более (исходя из целей, которые преследуются при работе на данных ЭВМ).
Краткая справка процессоров Intel
Процессоры Pentium фирмы Intel объединяют в себе высокую производительность с гибкостью и совместимостью, характеризующими платформу персонального компьютера. В настоящее время процессор Pentium является основой большинства продаваемых ПК и обеспечивает широкие возможности для работы с новым поколением мультимедийного программного обеспечения и Internet.
Intel Pentium I. Выпущен в 1993 г. Разрядность шины адреса – 32 бита, таким образом, максимальный размер адресуемой памяти равен 4 Гб. Разрядность шины данных – 64 бита.
Процессоры семейства Pentium I производятся с использованием полупроводниковой технологии.
Процессоры Pentium I включают в себя:
Суперскалярная архитектура – два параллельно работающих конвейера обработки позволяют одновременно обрабатывать до двух инструкций за такт. Процессор имеет встроенный усовершенствованный блок вычисления с плавающей точкой. Конвейерная организация позволяет обрабатывать две целочисленные операции и одну (а при определённых условиях и две) операцию с плавающей точкой за такт.

Рисунок 4 – Intel pentium
Pentium PRO
Выпущен в 1995 году. Тройная суперскалярная архитектура (конвейер имеет 12 уровней и поддерживает динамическое выполнение инструкций) – возможно выполнение 3-х команд за такт. Семейство процессоров Pentium Pro – это следующее поколение высокопроизводительных изделий Intel для мощных настольных компьютеров, рабочих станций и серверов. Это семейство включает в себя процессоры с тактовой частотой от 150 Mгц и выше, которые легко объединяются в многопроцессорные системы до четырех процессоров в каждой
Основные характеристики
– Тактовая частота ядра 150, 166, 180 и 200 Mгц
– Оптимизирован для 32-разрядных приложений, работающих под управлением современных 32-разрядных операционных систем
– Единый корпус содержит процессор Pentium Pro, кэш-память и интерфейс системной шины
– Наращивается до четырехпроцессорной системы с 4Гб памяти

Рисунок 5 – Intel pentium pro
Intel Pentium II. Эта модель появилась в 1997 году.
Фактически Pentium II является продолжением линейки Pentium PRO с новыми усовершенствованиями, а также упрощениями, введёнными для удешевления себестоимости процессора.
Семейство процессоров Intel Pentium II включает процессоры с тактовыми частотами 233 и 266 МГц для настольных ПК, рабочих станций и серверов и с тактовой частотой 300 МГц для рабочих станций. Все они совместимы по кодам с предыдущими поколениями процессоров Intel. Процессоры Pentium II обеспечивают максимальную производительность приложений при работе в оперативных системах Windows 95, Windows NT и UNIX.
Bluetooth 1.2 и обладает мульти слотом для карт памяти – Memory Stick (Pro) /SD/xD. Цена на Fujitsu LifeBook P7120 с процессором Intel Pentium-M составит 2250 долларов США, с процессором Intel Celeron-M всего 1799 долларов США.
Известный всему миру южнокорейский промышленный гигант «LG» начал выпуск ряд моделей новых ноутбуков.
Ноутбук LG LM70 P333 является почти самым старшим в этом ряду (выше лишь LG LM70 P555).

Рисунок 6 – Intel pentium 2
Intel Pentium III. Представленный в начале 1999 года, процессор Pentium® III, был создан для использования преимуществ Интернета.
Процессор Intel® Pentium® III с кэш-памятью второго уровня объемом 512 КБ выпускается с тактовыми частотами вплоть до 1.40 ГГц. Процессор имеет кэш-память второго уровня объемом 512 КБ с улучшенной передачей данных (память встроена в кристалл, работает на частоте процессора и имеет код коррекции ошибок (ECC)). Некоторые модели процессора снабжены блоком DPL, который предвидит, какие данные вскоре потребуются процессору, и заранее загружает их в кэш-память с улучшенной передачей данных, что еще больше повышает производительность процессора и приложения.

Рисунок 7 – Intel pentium 3
Intel Pentium 4. Представленный в конце 2000 года, процессор Pentium® 4 стал наиболее популярным процессором для современных ПК. Разработан для пользователей передовых игровых программ, цифровой музыки, видео и фото.
Процессор Pentium 4 с тактовой частотой 3,20 ГГц и усовершенствованной системной шиной с частотой 800 МГц позволяет более эффективно использовать многозадачность при одновременном выполнении нескольких приложений.
Семейство процессоров Intel® Pentium® 4 – это самые совершенные и самые мощные процессоры Intel для настольных ПК и рабочих станций начального уровня. Процессор Intel® Pentium® 4 рассчитан на такие приложения и модели использования, где особенно ценится производительность. Спектр таких приложений весьма широк: обработка аудио- и видеопотоков, транслируемых через Интеренет, обработка изображений, создание и редактирование видео, передача и обработка речи, трехмерное моделирование, системы автоматизированного проектирования, игры, мультимедийные приложения и многозадачные среды.

Рисунок 8 – Intel pentium 4
Память
Информация, обрабатываемая в ЭВМ, сохраняется в памяти. Различают оперативную память и долговременную память. Оперативная память – это рабочая область процессора, которая создаётся и используется при работе ПК и освобождается при его выключении. Содержание ее при выключении компьютера не сохраняется.
Долговременная память не стирается при выключении ПК и хранится на специальных внутренних или внешних накопителях – жёстких и гибких дисках (дискетах), лазерных компакт-дисках, флешках.
Оперативная память
Оперативную память можно подразделить на непосредственно оперативное запоминающее устройство (ОЗУ), и кэш-память (Cache memory) – сверхоперативную память, которая устанавливается между процессором и ОЗУ. Предназначена для хранения наиболее часто используемых участков ОЗУ, т.е. это тоже часть оперативной памяти. Так как время доступа к кэш-памяти в несколько раз меньше, чем к обычной, то вначале процессор ищет необходимые данные в кэш-памяти, а потом уже в остальной.
Физически оперативная память выполняется в виде специальных микросхем, которые вставляются в гнёзда расположенные на плате материнской платы.
Долговременная память
К устройствам долговременной памяти относятся жёсткий диск (винчестер), гибкие диски, компакт-диски, флэшь и постоянное запоминающее устройство (ПЗУ). Термин «винчестер» возник из жаргонного названия первой модели жесткого диска емкостью 16 Кбт (IBM, 1973 г.), имевшего 30 дорожек по 30 секторов, что случайно совпало с калибром «30/30» известного охотничьего ружья «Винчестер».
Чаще всего в качестве долговременных накопителей информации используют твёрдые диски HDD (Hard Disk) или гибкие FFD (Floppy). При чтении и записи диск вращается в дисководе относительно своей оси, для чего имеется электродвигатель. Гибкие диски вращаются только при чтении – записи и по завершении этих процессов двигатель отключается. Скорость вращения – 6 об/с. Жесткие диски вращаются постоянно, со скоростью от 60 до 120 об/с. Чем больше обороты диска, тем быстрее считывается информация. В целом скорость работы диска зависит от его контроллера, типа шины, быстродействия процессора.
Следует заметить, что гибкие диски всё больше выходят из употребления (умирают), так как не надежны, и их ёмкость всего 1,44 Мбайта, что для современных пользователей крайне мало. Сегодня все больше используются флэшь-карты, память которых доходит до 10 Гбайт, и продолжает расти.
Накопители на жестком диске предназначены для хранения большого объема информации длительное время, в том числе и программ операционной системы.
Выполняются из алюминиевого диска или нескольких дисков, покрытых ферромагнитным материалом. Диски приводятся во вращение электродвигателями с большой скоростью.
Основные характеристики жесткого диска – ёмкость в Гбайтах и скорость работы диска. Ёмкость современных HDD – до 300 и выше Гигабайт. Скорость работы диска – это скорость доступа к информации.
Для хранения и переноса информации используют также оптические диски (CD-ROM). Их ёмкость порядка 600 Мбайт, и они не боятся магнитных полей, так как выполнены полностью из не магнитных материалов.
Флэш-память
Развитие новых цифровых технологий ознаменовалось появлением флэш-карт – миниатюрных автономных носителей информации, емкость которых сегодня практически равна емкости жестких дисков. Полное название этих устройств – Flash Memory Cards (в просторечии «флэшки»). Технология флэш-памяти появилась около 20 лет назад, и с тех пор интерес к ней с каждым годом неуклонно растет. Флэш-память используется в различных цифровых устройствах: для хранения BIOS в компьютерах, в качестве носителя микропрограмм для микроконтроллеров, а также в принтерах, карманных компьютерах, видеокартах, сотовых телефонах, электронных часах, записных книжках, телевизорах, кондиционерах, микроволновых печах, стиральных машинах и другой аппаратуре. Преимущества флэш-памяти:
• энергонезависимость, то есть флэш-память не требует дополнительной энергии для хранения данных (энергия требуется только для записи);
• перезаписываемость, допускающая изменение (перезапись) хранимых в ней данных;
• полупроводниковая (твердотельная) основа, то есть во флэш-памяти не содержится никаких механических движущихся частей (как в жестких дисках или в компакт-дисках).
В последние годы флэш-карты стали основным типом сменной памяти, используемой в цифровых мультимедийных устройствах, начиная от цифровых фотоаппаратов, где они активно применяются с 1997 года. Причем количество и номенклатура устройств, использующих в качестве сменных носителей флэш-карты, увеличиваются буквально каждый месяц. Поэтому спрос на флэш-карты неуклонно растет, количество компаний-производителей стремительно увеличивается, а цена мегабайта информации, записанного на таком носителе, быстро падает.
Системная магистраль
Связь и обмен информацией между компонентами ПК осуществляется с помощью системной магистрали. Магистраль – это общая линия проводов (шин), к которой подсоединяются все компоненты ПК.





