Пятидневка. Календарь нового времени

- -
- 100%
- +

© Сергей и Виктор Гуляевы, 2022
ISBN 978-5-0056-0845-1
Создано в интеллектуальной издательской системе Ridero
Природоподобие
Переход общества к природоподобию во всех сферах жизни есть переход к шестому техноукладу.
Двенадцатимесячный календарь включает в себя Лунное число (женский цикл). Превосходящее время луны уходит. Наступает рассвет.
Наш календарь основан на Солнечном числе (отцовский цикл, общество знаний). Естественные положения Солнца – 4 в году: два равноденствия и два солнцестояния.
Полусезоны названы по жизненному циклу природы: весень, цветень, жарень, жневец, листопад, холодун, снежень, протальник.
О природоподобии пятидневки и тройки вы прочтёте в соответствующих строках: мудрость пятидневки и мудрость тройки.
ЭТИКА ПЯТЬ ВЫШЕ
ДУХОВНОЕ ВЫШЕ МАТЕРИАЛЬНОГООБЩЕЕ ВЫШЕ ЧАСТНОГОСПРАВЕДЛИВОСТЬ ВЫШЕ ЗАКОНАСЛУЖЕНИЕ ВЫШЕ ВЛАДЕНИЯВЛАСТЬ ВЫШЕ СОБСТВЕННОСТИПять национальных целей развития России до 2030 года
1. Сохранение населения, здоровье и благополучие людей
2. Возможность для самореализации и развития талантов
3. Комфортная и безопасная среда для жизни
4. Достойный и эффективный труд и успешное предпринимательство
5. Цифровая трансформация
Календарь основан на сочетании 5-3-8

Наш календарь берет своё начало в день весеннего равноденствия. И ведёт отсчет суток с началом нового дня.
Почему весеннее равноденствие?
Давным давно отсчет Нового года вели с осеннего равноденствия, а сутки начинали с вечера. До сих пор в православной церкви новые сутки начинают с вечерней службы.
Космические часы тикают, и Новый год был смещен в самое тёмное время года – на время зимнего солнцестояния. Отсчёт новых суток также переместили на темное время – в ночь.
Отсчёт суток сместили в ночь, и центр мирового хозяйствования сместился в страны заката, страны нового (лунного) света.

Богиня Луны Геката освещает знаниями и факелом темноту ночи.
Часы идут. Планета готовится к пробуждению. Центр хозяйствования переходит в страны восхода: страны восходящего солнца, утренней свежести и другие страны восхода.
Мировые часы смещают начало нового года на весну (весеннее равноденствие). А сутки отмеряют с восходом солнца.
Настаёт время «встречи солнца» – event helios – благовествования. Время завета. Пред которым появляется «несущий свет» Люцифер (числовек). За 54 года до окончания цикла в 720± лет.
Год делим на 8 частей. Так же и сутки.
В году 4 сезона и 8 полусезонов.
Каждый полусезон состоит из трех Троек.
Каждая Тройка из трех недель по пять дней.
В недели Три рабочих и Два творческих дня.
Неделя – 5 дней
Тройка – 15 дней (три недели)
Полусезон – 45 дней (три Тройки)
Сезон – 90 дней (два полусезона)
Год – 365 (6) дней / 360 дней 4-х сезонов +5 (6) дней колена.
Год содержит 72 недели +5 (6) дней колена.
Каждую неделю мы возделываем какое-либо нужное дело.
Весной закладываем сады, оратаем поля. На каждую неделю имеется своя карта для того или иного дела – карта Возделывания или карта Ората.
Таких карт за весь год соберется 77 (78).
Карта Ората – дело, которое возделывают.
Каждая Тройка содержит заглавную карту Ората.
Заглавных карт Ората 26.
Выделены недели. По три в каждой Тройке. Одна неделя – одна карта Ората. Для каждого дня колена своя карта возделывания.

Одно из исполнений карты Ората – рисунок. Вы рисуете подходящий, близкий и понятный для вас образ того дела, которым занимаетесь в течение недели. Я пользуюсь карточками размером от 65х120 мм до 85х125 мм. Изображаю на них образы мыслей, действий и чувств предстоящего дела. Это может быть как его начало, так и завершение. Может быть всё вместе, а может только необходимое для сосредоточения и поддержки в ходе его выполнения. На ваше усмотрение.
Мы, как и древние люди, создаём образ предстоящего действия (действа). В образовавшуюся воронку устремляется череда событий.
Желательно пользоваться подушками пальцев (или кисточкой) и красками. Так создаётся связь между вами и образом. Чем меньше посредников между вами и образом, тем лучше.
По набору карт Ората можно смотреть чем вы занимались весь год.
Размерность вития

Если взять пятидневную неделю за один условный день, то условный год сложится за 5 лет. Пятилетки часто используются для планирования не только государств и организаций, но и в личном планировании.
Разработка плана расширяет мышление. Следование плану – сужает.
Необычное решение обычных условий
Ускорение потока событий требует убыстрения принятия ежедневных решений.
Переход на 5-дневную неделю сведения итогов позволяет ускорить отклик на происходящее.
Снимает ограничения 7-дневной недели.
Кто-то подводит итоги раз в неделю, кто-то сводит. Но все мы делали это раз в 7 дней. Мы ограничены традицией 7-ми дневной недели.
Ускорение оборотов позволяет быстрее продвигаться.
Пять дней в неделе. Восемь полусезонов в году. Мы ускорили неделю и замедлили «месяц». Образовавшийся разрыв соединяем Тройкой – тремя неделями (15 дней).

Следуя правилу 7±2 собираем год из 8 частей (полусезонов).
В году 360 дней +5 (6) переходных дней (колена).






Весеннее колено совпадает с народными масленичными гуляниями – встречей Весны.
Таблица полусезонов
Таблица соответствия числа месяца 12 месячного календаря с началом недели 8-ми полусезонного календаря (пятидневная неделя).

Мудрость пятидневки
Пятидневка – это три рабочих и два творческих дня. Так мы приближаем распределение времени к золотому сечению (число «фи»)


Справка: Золотое сечение – золотая пропорция, деление в крайнем и среднем отношении, гармоническое деление) – соотношение двух величин А и Б, при котором бо́льшая величина относится к меньшей, так же, как сумма величин к бо́льшей.
Пятиконечная звезда получается соединением небесного круга и земного квадрата.

В объеме круглый квадрат представляет собой сфираль открытую исследователем Олегом Сергеевичем Басаргиным.
Справка: Сфираль – винтообразная кривая образующая ряд зеркально симметричных витков, соединённых промежуточными S-образными петлями вдоль оси в пропорции ФИ.

Природа содержит два начала: мужское и женское.
Женское материально и двоично (двое). Мужское духовно и троично (трое). Их союз даёт целостность.
Пятидневка – целостная неделя мужских и женских дней.

Мужская правая сторона, сторона правителя. Женская сторона левая, левителя. Правая отвечает за действие, за работу. Левая – за подготовку, за творчество.

Планирование пятидневки. Каждый из пяти дней недели делится на пять частей начиная с восхода солнца: порыв, усердие, поддержка, закрытие, основание.
Мудрость Тройки
Своим вниманием человек познаёт мир с помощью чувств, разума, интуиции (озарения).
Разум постигает (стяжает) ин-формацию
Интуиция постигает (стяжает) энергию
Чувства постигают (стяжают) материю (формацию)
Чувства направлены в прошлое. Разум – в будущее. Интуиция – в настоящее.

Когда человек хочет изучить прошлое, он копает землю.
Когда человек хочет увидеть будущее, он смотрит в небо, на звезды. Или взбирается повыше.
Но неизбежно человек встречается с настоящим.
!Нет действия без познания и без чувства. Это единство трех.
Существует сразу три времени (синхроническая связь): прошлое, настоящее и будущее – они одномоментны. Прошлое – это низ. Будущее – верх. Настоящее – середина. Три времени параллельны.


Существет три типа совместной деятельности:

Всякая целостная группа имеет все три типа.
Скорость перехода группы от сообщества к иерархии и наоборот посредствам работы лидера называют пульсацией группы.


Пульсация группы (дыхание) указывает на то, что группа жива и дышит.
Дух – это сообщество. Стяжание духа – это взаимодействие с сообществом, с его идеей. Не с членами общества, а с обществом. «Там, где двое трое во имя моё, там и я среди них». С помощью «дыхания» группа вдыхает дух.
«Отстал от стаи – пал духом – так иногда бывает. Коли духом слаб.»
Сообщество вырабатывает видение общего будущего – опознаёт цель.
Иерархия его достигает.
Особи получают плоды (результат).
Лидер (подвижник) переключает работу группы с сообщества в иерархию и наоборот, чередуя режим её работы: авторы-акторы.
Участники иерархии чувствуют цель своею, если участвовали в её выработке (в сообществе) и были признаны.

Кодирование.
Тройка представляет из себя связку трех сил. Ими кодируется сезон.

Тройка – это три недели, пятнадцать дней. Планирование деятельности может осуществляться в поточном режиме, когда, вместо ограничивающих клеток для каждого дня, есть недельная полоса. В разрывах указывается день полусезона (сверху или снизу – по удобству)

Срединное положение человека в семье
Противопоставление материального одиночества и духовной множественности не даст ответа на вопрос «кто ты?».
Культивирование отдельности индивида противостоит идеи полного растворения в обществе. «Личность» против «винтика».
Но жизнь течёт между полюсов. Между двух половинок. Между двух полов. Энергия исходит из напряженности. Перепад даёт перелив. Поле рождает жизни.

Там, где поле, там и общее дело. Общее дело лежит между двух полов, между двух полюсов, между двух половинок.
Там, где общее дело, там братья и сестры, там отец и мать, батюшка и матушка. Единичность и множественность в союзе рождает семью. В которой только и возможен человек.
И единичность и множественность сами по себе дают смерть. Только семья продолжает род, продолжает человечность.
В семье нет мужчины и женщины самих по себе. Сначала семья, потом муж и жена. Не партнерство двух, а единство целого.
Центральное положение семьи в обществе позволяет сотрудничать с другими народами. Позволяет быть добрыми. Добрый – значит деятельный.
Семья рождает человека, для которого мир изначально добр. Нет страха перед будущим, как у натуралиста. И вечного возвращения в прошлое, как у созерцателя. Добрый, деятельный, человек признаёт и принимает мир. Коли чего произойдет, то добр восстанавливает мир без стеснения.
Человек живет в поле, живёт общим делом.
Семья есть начало. В нем проявляется муж и жена. Уравновешенность и жизнеспособность.
Семья – это сквозь время и пространство. Я – это мои потомки. Я – это мои предки. Мои предки – это я. Я их руки. Мои потомки – руки моих предков, как и я сам. Мы – река. Полнодетная семья – в которой хотя бы трое детей.

В пещеру и Из пещеры = натуралист-покоритель и наблюдатель.
Человек и Семья = Деятель.
Вынимание из себя отличается от внимания в себя. Внимание – это перемещение в себя внешних объектов. Вынимание объектов – воля. Ясность – это свобода.
Небо – Правь. Человек – Явь. Земля – Навь.
Ступени стяжания
У меня есть представление куда идти. Есть образ будущего, к которому иду.
Между моим теперешним положением и тем, к чему иду, есть разница. Разница покрывается за счёт ресурсов, если они есть. Если их нет, нужно где-то взять (обменять).
Стяжание реурсов происходит в трех сферах:
«времени», «энергии», «пространстве».
То, как видим стяжание нужных нам ресурсов, отражается в ежедневнике. Он помогает работать со своими действиями в прошлом, будущем и настоящем – с нашими ресурсами, – и тем, как мы их восполняем.
Ежедневник нужен для работы с ресурсами.
Так как слово есть сплоченное составное действие, сжатое в форму и смысл слова. Работа со словами – это работа с действиями.
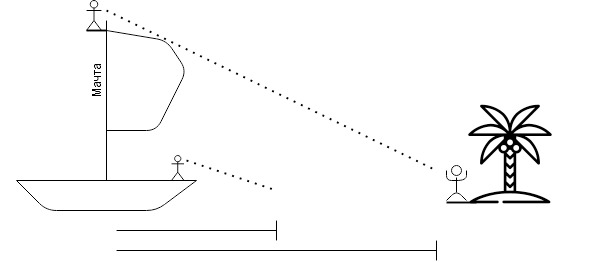
Образ будущего – Мечта…,мачта, матица – основа видения нашего продвижения.

Мечта может определить наш курс за горизонт. Видеть в даль, нести в даль – вот задача мечты.
Объём дальнейших действий можно описать временем и пространством: «в пяти минутах», «в десяти километрах». Временная, пространственная и событийная удаленность.
Умение видеть в даль, прокладывать путь и достигать намеченного – вот задача для обмена ресурсами.
Умение вести течение своей жизни измеримо. В днях или площадях. Или в градусах обращения Земли вокруг Солнца.
1 день = 1 градусу (шагу) годового цикла
Умение менять курс (держать курс) вашего корабля так же измеряется в градусах (ступенях).
5 дней – 5°45 дней – 45°90 дней – 90°Чем объемнее сознание человека, тем большим охватом он действует во всех трех сферах:

Сознание – совместное (современное) знание.
Один не может находиться в со-знании сам по себе. Он может быть в со-знании с кем-то: с миром, с природой, с камнем, с деревом, с другим человеком, с тетеревом, с людьми и так далее.
Со-знание – это связь, образованная в поле внимания волевым усилием.
Чем сосредоточеннее внимание, тем сосредоточеннее сознание. Отъём внимания отнимает волю.
Запомните: работа с ресурсами требует воли.
Воля всегда за полем свободы. Она подготавливается на свободе, но проявляется за её границами. Упражнять волю можно за пределами свободных проявлений.
Заужение смыслов
Конец ознакомительного фрагмента.
Текст предоставлен ООО «ЛитРес».
Прочитайте эту книгу целиком, купив полную легальную версию на ЛитРес.
Безопасно оплатить книгу можно банковской картой Visa, MasterCard, Maestro, со счета мобильного телефона, с платежного терминала, в салоне МТС или Связной, через PayPal, WebMoney, Яндекс.Деньги, QIWI Кошелек, бонусными картами или другим удобным Вам способом.



