- -
- 100%
- +
– ведет базы данных абонентов, зарегистрированных в сети,
– выбирает S-GW и PDN GW при подключении абонентов к сети,
– обеспечивает передачу и защиту сигнализации NAS (Non Access Stratum) по протоколам MM (Mobility Management) SM (Session Management) между MME и UE [1, гл.6],
– обеспечивает локализацию, аутентификацию и авторизацию абонентов,
– участвует в организации межсетевых связей и хэндоверов,
– организует вызовы UE, находящихся в состоянии IDLE,
– ведет сигнальный обмен с eNB при организации сквозных каналов.
Каждый UE, зарегистрированный в сети, обслуживает один Serving Gateway. S-GW – обслуживающий шлюз:
– выполняет функции “якоря” в визитной сети, маршрутизируя трафик при перемещениях UE в состоянии CONNECTED от одного eNB к другому (хэндовере),
– ведет базу данных абонентов, зарегистрированных в сети,
– участвует в организации сквозных каналов с eNB и PDN GW, а также сигнальных соединений с MME при регистрации абонента в сети и при выполнении процедуры локализации,
– предоставляет учетные данные для тарификации и оплаты выполненных услуг.
PDN GW:
– является “якорем” при подключении к внешним IP-сетям; ведет базу данных абонентов, подключенных к нему,
– организует точку доступа к внешним IP-сетям,
– активизирует статический IP-адрес абонента; если абонент должен получить на время сеанса связи динамический IP-адрес, PDN GW запрашивает его с сервера DHCP (Dynamic Host Configuration Protocol) или сам выполняет необходимые функции DHCP, после чего обеспечивает доставку IP-адреса абоненту,
– обеспечивает качественные характеристики услуг на внешнем соединении через интерфейс SGi и фильтрацию входящих пользовательских пакетов данных,
– организует сквозные каналы и сигнальные соединения между S-GW PDN GW,
– устанавливает требуемые качественные характеристики сквозных каналов на основе установок, полученных от PCRF, в том числе максимальные и минимальные скорости передачи данных в сквозных каналах в соответствии с качественными характеристиками передаваемого трафика QCI (QoS Class Identifier) [1, гл.7],
– ведет учёт предоставленных абонентам услуг.
PDN GW обычно находится в домашней сети абонента, а S-GW, MME и eNB в визитной. Если абонента обслуживает домашняя сеть, то PDN GW и S-GW связаны интерфейсом S5; если S-GW находится в визитной сети, а PDN GW в домашней, то между ними интерфейс S8, представляющий собой межсетевой вариант S5.
Policy and Charging Resource Function (PCRF) по сути представляет собой управляющий сервер, обеспечивающий централизованное управление ресурсами сети, учет и тарификацию предоставляемых услуг. Как только появляется запрос на новое активное соединение, эта информация поступает на PCRF. Он оценивает имеющиеся в его распоряжении ресурсы сети и направляет в PCEF (Policy and Charging Enforcement Function) шлюза PDN GW команды, устанавливающие требования к качеству услуг и к их тарификации. PCRF находится в домашней сети абонента. Согласно спецификациям PCRF является опциональным узлом, но большинство операторов строят сети с PCRF.
HSS – Home Subscriber Server, обеспечивает выполнение процедур безопасности в сети LTE, исполняя функции HLR и AuC в сетях GSM/UMTS [1, гл. 6]. HSS поддерживает сигнальную сеть IMS при организации услуг. ММЕ имеют прямой выход на HSS через интерфейс S6a по протоколу Diameter.
В сетях LTE при передаче информации в транспортной сети используют IP-технологии. Все элементы сети LTE имеют локальные IP-адреса. Сигнальные сообщения по S1 (S1 – Control Plane) следуют между eNB и MME. Подуровни L2 SCTP (Stream Control Transmission Protocol) и IP поддерживают стандартный транспорт для передачи сигнальных сообщений. В частности, SCTP обеспечивает надежность передачи и последовательность доставки сообщений.
Организация каналов в LTE
В сети LTE существуют каналы трех уровней: логические, транспортные и физические.
Логические каналы
Логические каналы по типу передаваемой информации делятся на логические каналы управления и логические каналы трафика. Логические каналы управления используются для передачи различных сигнальных и информационных сообщений. По логическим каналам трафика передают пользовательские данные. В нисходящем направлении определены пять управляющих логических каналов:
Broadcast Control Channel (BCCH) – канал, по которому передают системную информацию всем пользователям (UE), находящимся в соте. Перед входом в систему пользовательское устройство считывает информацию, которая передается по каналу BCCH, и определяет параметры сети.
Paging Control Channel (PCCH) – канал для передачи пейджинговых сообщений, которые передаются пользовательским устройствам, местоположение которых не определено с точностью до соты.
Common Control Channel (CCCH) – общий канал управления, предназначенный для решения общих для всех пользовательских терминалов задач.
Dedicated Control Channel (DCCH) – индивидуальный выделенный канал управления для обмена командными сообщениями с пользовательским терминалом.
Multicast Control Channel (MCCH) – канал передачи групповой служебной информации. Используется для передачи служебной информации необходимой при приеме канала MTCH.
И два трафиковых логических канала:
Multicast Traffic Channel (MTCH) – канал передачи трафика для выделенной группы пользовательских терминалов, используется для передачи услуги мультимедийного вещания MBMS.
Dedicated Traffic Channel (DTCH) – выделенный канал типа "точка-точка" для передачи пользовательских данных. Предназначен только для одного пользовательского терминала.
На рис. 2 приведена классификация логических каналов.

Рис. 2 Классификация логических каналов
Транспортные каналы
Информацию логических каналов после обработки на RLC/MAC уровнях размещают в транспортных каналах для дальнейшей передачи по радио интерфейсу в физических каналах. Транспортный канал определяет, как и с какими характеристиками происходит передача информации по радио интерфейсу. Информационные сообщения на транспортном уровне разбивают на транспортные блоки. В каждом временном интервале передачи (Transmission Time Interval, TTI) по радио интерфейсу передают хотя бы один транспортный блок. При использовании технологии MIMO возможна передача до четырех блоков в одном TTI.
Определены следующие транспортные каналы:
Broadcast Channel (BCH) – транспортный вещательный канал для передачи информации логического канала BCCH, имеет фиксированный формат.
Paging Channel (PCH) – транспортный канал для передачи информации логического канала PCCH. Данный канал поддерживает прием с перерывами (режим Discontinuous Reception, DRX), что позволяет пользовательскому устройству дольше сохранять заряд батареи.
Downlink Shared Channel (DL-SCH) – транспортный канал с разделением пользователей, который используется для передачи информации "вниз". Данный канал поддерживает адаптацию скорости передачи, планирование передач во временной и частотной области, модифицированный автоматический запрос на повторную передачу непринятых пакетов (Hybrid Automatic Repeat Request, HARQ), а также режим DRX.
Multicast Channel (MCH) – транспортный канал групповой передачи, используется для поддержки услуг мультимедийного вещания MBMS.
Uplink Shared Channel (UL-SCH) – транспортный канал с разделением пользователей "вверх", аналогичный каналу DL-SCH.
Random Access Channel (RACH) – транспортный канал случайного доступа. Используется для передачи запросов на подключение к сети, при хэндовере (handover, HO), для восстановления синхронизации "вверх".
На рис. 3 приведена классификация транспортных каналов.

Рис. 3 Классификация транспортных каналов
Физические каналы
В LTE определены следующие физические каналы:
Physical Downlink Shared Channel (PDSCH) – физический канал для передачи информации "вниз" с разделением пользователей. Используется для передачи информации каналов DL-SCH и PCH.
Physical Downlink Control Channel (PDCCH) – физический канал управления "вниз". Используется для передачи информации о назначении канального ресурса для передачи транспортных блоков каналов PCH, DL-SCH, UL-SCH и HARQ информации, относящейся к каналу DL-SCH. Также по этому каналу передаются ответы на запросы на доступ к сети. Передача осуществляется с помощью модуляции 4-ФМ.
Physical Hybrid ARQ Indicator Channel (PHICH) – физический канал для передачи HARQ ACK/NACK в ответ при передаче информации "вверх".
Physical Broadcast Channel (PBCH) – физический канал передачи вещательной информации.
Physical Multicast Channel (PMCH) – физический канал групповой передачи пакетов мультимедийного вещания.
Physical Control Format Indicator Channel (PCFICH) – физический канал передачи формата, который используется для канала PDCCH.
Physical Random Access Channel (PRACH) – физический канал передачи запросов случайного доступа.
Physical Uplink Shared Channel (PUSCH) – физический канал передачи пользовательского трафика и сигнализации Uplink Control Information (UCI).
Physical Uplink Control Channel (PUCCH) – физический канал передачи сигнализации UCI в отсутствии канала PUSCH.
На рисунке 4 и 5 приводится взаимосвязь между логическими, транспортными и физическими каналами в нисходящем направлении и восходящем направлении (от eNodeB к UE).

Рис. 4 Взаимосвязь между логическими, транспортными и физическими каналами в нисходящем направлении

Рис. 5 Взаимосвязь между логическими, транспортными и физическими каналами в восходящем направлении
Механизм диспетчеризации и адаптация канала связи
В отличие от предыдущих коммуникационных технологий, использовавших пакетную передачу данных с традиционной структурой пакета, в LTE применяется передача по слотам, в которых нет ни традиционной преамбулы, ни символов контроля четности. Для повышения эффективности использования выделенной базовой станции полосы частот в LTE используется диспетчеризация сетевых ресурсов.
Под диспетчеризацией понимается процесс распределения сетевых ресурсов между пользователями, передающими данные. В технологии LTE предусмотрена динамическая диспетчеризация в восходящем и нисходящем каналах.
Целью диспетчеризации является сбалансированность качества связи и общей производительности системы. В радио интерфейсе LTE реализована функция диспетчеризации в зависимости от состояния канала связи. Она обеспечивает передачу данных на повышенных скоростях (за счет использования модуляции более высокого порядка, уменьшения степени кодировки каналов, передачи дополнительных потоков данных и меньшего числа повторных передач), задействуя для этого временные и частотные ресурсы с относительно хорошими условиями связи. Таким образом, для передачи любого конкретного объема информации требуется меньше времени. Частотно-временная сетка OFDM помогает выбирать ресурсы в частотной и временной областях.
Для трафика сервисов, пересылающих пакеты с небольшой полезной нагрузкой и через одинаковые промежутки времени, объем трафика сигнализации, необходимой для динамической диспетчеризации, может превышать объем переданной пользователем информации. Поэтому в LTE также имеется функция статической диспетчеризации (в дополнение к динамической). Под статической диспетчеризацией понимается выделение пользователю радиочастотного ресурса для передачи определенного числа подкадров.
Механизмы адаптации канала нужны для того, чтобы «выжать все возможное» из канала с изменяющимся качеством связи. Такой механизм «выбирает» схемы модуляции и канального кодирования в соответствии с условиями связи. От его работы зависят скорость передачи данных и вероятность возникновения ошибок в канале.
Регулирование мощности в восходящем канале
Речь идет об управлении уровнем излучаемой терминалами мощности для того, чтобы увеличить емкость сети, расширить зону радио покрытия, повысить качество связи и снизить энергопотребление. Для достижения перечисленных целей механизмы регулирования мощности, как правило, добиваются максимального увеличения уровня полезного принимаемого сигнала при одновременном снижении уровня радиопомех.
Сигналы в восходящем канале LTE являются ортогональными, а значит, взаимные радиопомехи между пользователями одной соты отсутствуют —по крайней мере, при идеальных условиях радиосвязи. Уровень помех, создаваемый пользователям соседних сот, зависит от местоположения излучающего мобильного терминала, а точнее, от уровня затухания его сигнала на пути к этим сотам. Вообще говоря, чем ближе терминал к соседней соте, тем выше уровень создаваемых им помех в ней. Соответственно терминалы, находящиеся на более далеком расстоянии от соседней соты, могут передавать сигналы большей мощности, чем терминалы, расположенные рядом с ней.
Ортогональность сигналов в восходящем канале LTE позволяет мультиплексировать сигналы терминальных устройств разной мощности в этом канале в одной и той же соте. Это означает, что вместо компенсации всплесков уровня сигнала, возникающих вследствие многолучевого распространения радиоволн (путем снижения излучаемой мощности), их (всплески) можно использовать для увеличения скорости передачи данных посредством механизмов диспетчеризации и адаптации канала связи.
Повторная передача данных
Практически в любой системе связи время от времени возникают ошибки при пересылке данных – например, из-за шумов, помех и замирания сигнала. Для защиты от ошибок применяются методы повторной передачи искаженных или утраченных частей данных, предназначенные для гарантии качества связи. Чем эффективнее организован протокол повторной передачи, тем рациональнее используются радио ресурсы. Для максимально полного использования высокоскоростного радио интерфейса в технологии LTE реализована динамическая эффективная двухуровневая система повторной передачи, реализующая протокол Hybrid ARQ (Automatic Repeat Query), или HARQ, с небольшими накладными расходами на обратную связь и повторную посылку данных, который дополнен высоконадежным протоколом селективного повтора ARQ.
Протокол HARQ предоставляет приемному устройству избыточную информацию, дающую ему возможность исправлять определенную часть ошибок. Повторные передачи по протоколу HARQ создают дополнительную информационную избыточность, нужную в том случае, если для устранения ошибок первой передачи оказалось недостаточно. Повторная передача пакетов, не исправленных протоколом HARQ, осуществляется посредством протокола ARQ.
Данное решение обеспечивает малую задержку передачи пакетов с небольшими накладными расходами, при этом надежность связи гарантируется. Большинство ошибок обнаруживаются и исправляются с помощью протокола HARQ. Поэтому повторная передача данных по протоколу ARQ (что связано с большими накладными расходами и повышает время задержки передачи пакетов) происходит лишь изредка.
В технологии LTE оконечным узлом, поддерживающим протоколы HARQ и ARQ, является базовая станция, обеспечивающая тесную связь уровней протоколов HARQ и ARQ. К разнообразным преимуществам такой архитектуры относятся быстрое устранение ошибок, оставшихся после работы HARQ, и регулируемый объем данных, передаваемых с использованием протокола ARQ.
Канальный ресурс и его характеристики
На физическом уровне (на радио интерфейсе) в E-UTRAN используют технологию OFDM с модуляцией 4-ФМ, 16-КАМ и 64-КАМ. При этом число поднесущих частот в рабочей полосе 20 МГц составляет 1200.
Для взаимной синхронизации E-UTRAN и UTRAN используют тактирование с длительностью временной единицы Ts = 1/(15000×2048)c. Передача по радиоканалу идет кадрами длиной 10 мс, что составляет 307200 Ts. Кадр состоит из 20 временных слотов длиной 15360×Ts = 0,5мс, пронумерованных от 0 до 19. Два последовательных слота составляют 1 субкадр (подкадр) – всего 10 субкадров, от 0 до 9 (рис. 6). Различают 2 структуры кадров: кадры типа 1 при работе с частотным дуплексом (FDD) и кадры типа 2 при работе с временным дуплексом (TDD). На рис. 7. показаны структуры кадров с FDD и TDD.

Рис. 6 Структура кадра типа 1

При частотном дуплексе в каждом субкадре идет одновременная передача вверх (UL) и вниз (DL) в разных частотных полосах. При временном дуплексе в некоторых субкадрах идет передача вниз (D), в других вверх (U). Кроме того, есть специальные (переходные) субкадры (S), состоящие из трех полей: DwPTS – поля передачи вниз, UpPTS – поля передачи вверх и защитного интервала (GP). В сетях LTE согласно спецификациям возможны 7 конфигураций кадров при временном дуплексе (рис. 8).

Рис. 8. Конфигурации кадра при временном дуплексе
Так как число символов в поле вниз DwPTS специального субкадра гораздо больше количества символов в поле вверх UpPTS, то при оценке относительного времени передачи DL:UL на рис. 8 специальные субкадры относим к субкадрам передачи вниз.
В сетях LTE с временным дуплексом суммарная пропускная способность в рабочей полосе делится между потоками вниз и вверх в соответствии со сценариями на рис. 8. Это позволяет оператору менять конфигурацию кадра в зависимости от реальной картины трафика, который, как правило, асимметричен. Для сетей LTE с временным дуплексом выделены полосы частот в диапазоне от 1900 до 3800 МГц [1, гл. 3.2], что предполагает использование этого варианта дуплекса в микро, пико и фемтосотах.
При расстоянии между поднесущими ∆F = 15 кГц длина OFDM-символа составляет 1/∆F ≈ 66,7 мкс. В каждой половине субкадра (слоте длиной 0,5мс) передают 6 или 7 OFDM-символов в зависимости от длительности циклического префикса СР (cyclic prefix) ‒ активной паузы между символами. Длительность циклического префикса TCP составляет 160Тs ≈5,2 мкс перед первым символом и 144Тs ≈4,7мкс перед остальными символами. Возможен вариант использования расширенного СР длительностью 512Тs ≈16,7мкс. В этом случае в одном субкадре размещают 6-OFDM символов.
Весь канальный ресурс разделяют на ресурсные блоки (РБ). Ресурсный блок состоит из 12 расположенных рядом поднесущих, занимающих полосу 180 кГц и одного временного слота (7 или 6 OFDM-символов на интервале 0,5 мс). При передаче вниз, от eNB к UE, каждый ресурсный блок состоит из 12×7 = 84 РЭ (при нормальном СР). Ресурсный элемент (РЭ) характеризуется 2-мя параметрами {k,l}, где k определяет номер поднесущей, а l ‒ номер символа в ресурсном блоке. Каждый OFDM-символ состоит из k РЭ, где k – количество поднесущих в выделенных ресурсных блоках. Часть ресурсных элементов используют для передачи опорных (reference) символов (рис. 9). Выделяемый канальный ресурс определяют числом ресурсных блоков или групп ресурсных блоков.
Реальная скорость передачи данных уменьшается из-за передачи опорных символов и управляющих каналов. Опорные символы (CRS – Cell-specific Reference Signals) используют для организации когерентной демодуляции и оценки каналов. При работе нескольких передающих антенн каждой антенне выделены определенные РЭ для передачи опорных символов. Снижение пропускной способности ресурсного блока (в процентах) из-за передачи опорных символов приведено в табл. 1.

Рис. 9. Структура ресурсного блока при передаче вниз
Таблица 1 Снижение пропускной способности
Нормальный СР
Расширенный СР
1 перед. антенна
4,76
5,56
2 перед. антенны
9,52
11,11
4 перед. антенны
14,29
15,87
При выделении канального ресурса вверх используют те же понятия ресурсного блока (12 поднесущих общей полосой 180 кГц в слоте), и субкадров длительностью 1 мс с 7 или 6 OFDM-символами в каждом слоте. Пример распределения канального ресурса между разными абонентами (User) проиллюстрирован на рис. 10.

Рис. 10. Распределение канального ресурса вверх
При передаче вверх используют модифицированную технологию OFDM, а фактически организуют передачу широкополосного сигнала на одной несущей. Цель данного метода состоит в том, чтобы уменьшить пик-фактор передаваемого сигнала, поскольку высокий пик-фактор является существенным недостатком технологии OFDM. С этой целью до формирования сигнала OFDM осуществляют прямое быстрое (дискретное) преобразование Фурье передаваемого сигнала (БПФ), после которого переходят к OFDM. Такая технология получила название БПФ-OFDM или SC-FDMA (Single Carrier-Frequency Division Multiple Access).
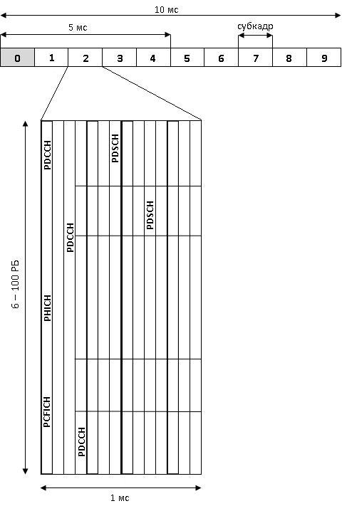
Абонентский трафик передают блоками, которые размещают в субкадрах. Структура субкадра вниз (кроме 0 и 5 субкадров) приведена на рис. 11. В начале каждого субкадра размещают каналы управления: PCFICH (Physical Control Format Indicator Channel) – канал, где указано, сколько OFDM-символов выделено в субкадре для передачи управляющих каналов (от 1 до 4 OFDM-символов), PHICH (Physical Hybrid ARQ Indicator Channel) – канал для передачи подтверждений (неподтверждений) принятых в предыдущих субкадрах блоков трафика вверх (от UE) и PDCCH (Physical Downlink Control Channel) – канал для передачи информации о выделении ресурсных блоков и форматах передачи в канале с разделением пользователей вниз PDSCH (Physical Downlink Shared Channel) и каналах вверх PUSCH (Physical Uplink Shared Channel) и PUCCH (Physical Uplink Control Channel) [8].
Остальную часть субкадра вниз занимает канал PDSCH, где размещают пакеты (блоки) трафика, вызовы абонентов (пейджинг), ответы eNB на запросы мобильных терминалов на доступ к сети, а также блоки системной информации SIB (System Information Blocks).

Рис. 11. Распределение канального ресурса в субкадре вниз
В субкадрах 0 и 5, кроме указанных каналов, передают 2 синхронизирующих сигнала: первичный PSS (Primary Synchronization Signal) и вторичный SSS (Secondary Synchronization Signal), а в нулевом субкадре еще канал передачи системной информации PBCH (Physical Broadcast Channel) (рис. 12) [9]. Синхронизирующие сигналы используются абонентскими терминалами для обнаружения сети LTE и синхронизации с ней. Что касается канала PBCH, то в нем передают всего несколько параметров. Основную часть системной информации оператор размещает в системных блоках (SIB).

Рис. 12. Распределение канального ресурса в субкадре 0 при частотном дуплексе
Содержание основных блоков системной информации [10]:
SIB1 – повторяют каждые 80 мс (8 кадров), передают идентификатор сети, код зоны слежения, идентификатор соты, статус соты, позиционирование остальных SIB,
SIB2 – содержит информацию о конфигурации радио ресурса: разнос частот вверх и вниз, запрет на определенные виды услуг, номера субкадров для передачи мультимедийного вещания, полоса (число РБ) при передаче вверх,
SIB3 – общая информация, относящаяся к реселекции сот, включая межсистемные переходы,
SIB4 – список соседних сот с их специфическими параметрами, необходимыми для выполнения процедуры реселекции сот без смены частоты,






