«Плавающие» эластомерно-металлические уплотнения (для РК СШГЭС)

- -
- 100%
- +

© Борис Колесников, 2022
ISBN 978-5-0059-0959-6
Создано в интеллектуальной издательской системе Ridero

Борис Колесников
«Плавающие» эластомерно-металлические уплотнения
для рабочих колёс гидротурбин Саяно-Шушенской ГЭС
2022

Б. Колесников
БИОГРАФИЯ
СОСТАВИТЕЛЬ – Колесников Борис Иванович, гражданин Германии, родился 9 апреля 1938 года в г. Катта-Кургане Самаркандской области, Республика Узбекистан. Родители – Иван да Марья.
Образование- высшее: в 1964 г.. закончил Московский Энергетический институт им. Молотова, Энергомашиностроительный факультет по специальности «Гидравлические турбины и другие гидравлические машины»
Первая запись в трудовой книжке (1959 г.): слесарь по монтажу гидросилового оборудования; последняя (1997 г.) – директор ООО «Водмаш».
В 1970 г. награждён правительством Демократической республики Вьетнам медалью «Дружба» за участие в строительстве ГЭС Тхак-Ба.
Автор четырёх книг. Кроме того, в Интернете опубликовано несколько статей на общеполитические и технические темы (см. сайт «БИКОЛ В ИНТЕРНЕТЕ»). Имет около 50 изобретений в области гидромашиностроения.
«Отсидент»: отбыл два года ссылки (1983—1985 гг.) под надзором комендатуры г. Джизака (Узбекистан) по приговору суда за нарушение правил техники безопасности (несчастный случай со смертельным исходом). В 1985 г. преднамеренно ошибочный приговор суда был опротестован Генеральной Прокуратурой СССР протестом №12/4220—83 от 5.07.85. Кроме того, Узсовпроф своим письмом №02-11-06/1512 от 27.09. 85 сообщил, что «т. Колесниковым Б. И. не были допущены нарушения нормативных актов об охране труда».
В 1997 г. переехал из Узбекистана в Германию на постоянное место жительства.
C апреля 2018 года инвалид 2-й группы (после инсульта).
Ключевые слова и рисунки:
САЯНО-ШУШЕНСКАЯ ГЭС, ГИДРОАГРЕГАТ №2, АВАРИЯ, УПЛОТНЕНИЯ РАБОЧЕГО КОЛЕСА, ЗАКЛИНИВАНИЕ Р.К.

ВВЕДЕНИЕ
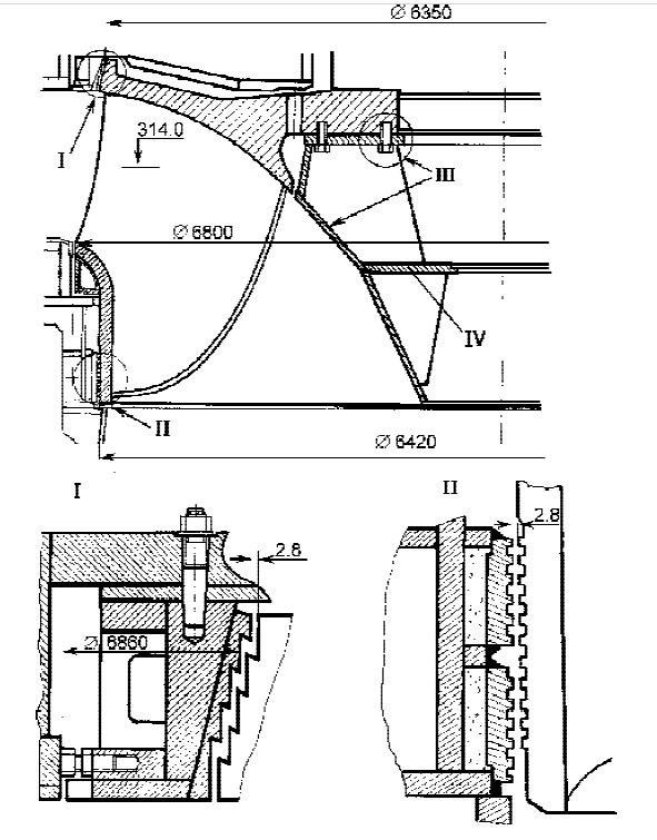
Из технической литературы [1] извкстно, что с целью обеспечения и поддержания в заданных пределах значений объёмного к. п. д., (путём минимизации непроизводительных протечек воды из спиральной камеры в полости низкого давления (над и под рабочим колесом) через зазоры между подвижными и неподвижными кольцевыми деталями гидротурбины) рабочие колёса гидротурбин Саяно-Шушенской ГЭС снабжены верхним и нижним лабиринтными уплотнениями, рис. 1.

Рис.1. I – верхнее лабиринтное уплотнение; II – нижнее лабиринтное уплотнение;
В доаварийных гидротурбинах СШГЭС неподвижное кольцо нижнего лабиринта выполнено несъёмным. Поэтому, в условиях электростанции восстановление подвижного и неподвижного колец до заводских размеров оказалось невыполнимым, в связи с чем ряд агрегатов работало с увеличенными зазорами в нижних лабиринтных уплотнениях» [1].

Во вновь поставляемых после аварии гидротурбинах неподвижное кольцо нижнего лабиринта также выполнено несъёмным, что не отвечает современным требованиям стандарта
Конец ознакомительного фрагмента.
Текст предоставлен ООО «ЛитРес».
Прочитайте эту книгу целиком, купив полную легальную версию на ЛитРес.
Безопасно оплатить книгу можно банковской картой Visa, MasterCard, Maestro, со счета мобильного телефона, с платежного терминала, в салоне МТС или Связной, через PayPal, WebMoney, Яндекс.Деньги, QIWI Кошелек, бонусными картами или другим удобным Вам способом.



