ТЕПЛОВОЗЫ. Вехи непройденного пути. Издание второе, переработанное и дополненное

- -
- 100%
- +
Для тяговой службы более приемлем двухтактный двигатель, потому что его конструкция проще, размеры его при одном и том же количестве цилиндров будут меньше, объём ремонта снижается, следовательно, эксплуатация такого двигателя будет дешевле более сложного четырёхтактного двигателя.
Меньшая стоимость двигателя достигается путём применения двухтактных двигателей двойного действия и возможно меньшего числа цилиндров. Давление вспышки должно быть по возможности низким. Наименьшая частота вращения главного двигателя, дающая вспышку, также должна быть по возможности низкой, чтобы иметь возможность применять небольшую и лёгкую пусковую вспомогательную машину, которую при этом необходимо органически связать в работе с главным двигателем.
Желательно, чтобы потери в сопрягающих элементах между двигателем и движущими колёсами не превышали 3 – 4%, при этом, когда дизель работает по нормальному циклу (без наддува и искусственного запала смеси), экономичность его работы должна быть не ниже экономичности дизеля, работающего с различными системами передач.
В 1909 г. начальник службы тяги Ташкентской ж. д. Ю.В. Ломоносов начал заниматься разработкой проекта тепловоза с непосредственным приводом вместе с инженером А. И. Липецем и техником Тутышкиным. Довести свои задумки до конкретного воплощения Ломоносов в то время не смог – в 1910 г. его переводят на Николаевскую дорогу в Петербург, а затем назначают помощником начальника Управления тяги всех русских железных дорог. Над проектом продолжает работать А. И. Липец и завершает его уже в Оренбурге.
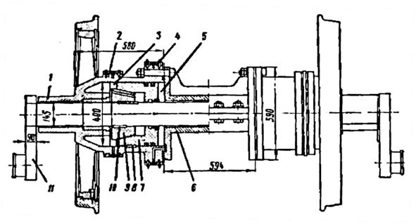
Тепловоз Липеца имел два четырёхцилиндровых двигателя с наклонными цилиндрами, работавшими на два отбойных вала, расположенные по концам тепловоза. Отбойные валы были связаны дышлами с ведущими осями тепловоза, которые вращались внутри полой отливки, связывавшей оба колеса. Для обеспечения пуска дизеля при нулевой скорости локомотива в проекте была предусмотрена фрикционная пневматическая муфта, допускающая работу со скольжением. Разработанная А. И. Липецом, она служила для заклинивания колёс на осях при работе двигателя под нагрузкой или расцепления их при пуске и холостой работе двигателя. Макетный образец такой муфты был испытан на паровозе типа 0—3—0 серии Т с наружными рамами. Муфты сцеплялись и расцеплялись хорошо, но вследствие утечки воздуха они могли работать в сцепленном состоянии только 5 – 7 мин.

Муфта Липеца.
Муфта состоит из ступицы 1, отлитой вместе с колёсами, корпуса 6, соединённого с нею болтами, и чугунного поршня 7, который может скользить вдоль ступицы 1 и благодаря шпонке 8 вращаться только вместе с ней. Другими словами, части 1, 6 и 7 должны вращаться вместе с колёсами. Насадка 9 шпонкой 10 жёстко соединяется с осью 11, которая должна приводиться в движение дизелем. Направляя сжатый воздух через кольцо 4 в полость 5 и сдвигая тем самым поршень 7 влево, можно заклинить колесо с осью. Подачей воздуха через кольцо 2 в полость 3 производится расцепка их.

Проект тепловоза Липеца.
V-образные двигатели с наклонными цилиндрами установлены на брусковой раме специальной формы.
Колёсные пары с этими муфтами находились в одном из петербургских депо, куда они были привезены в 1912 г. для продолжения опытов. Петербургский тормозной завод предлагал изменить подвод воздуха и брался изготовить такие муфты, гарантируя отсутствие утечки воздуха.
Конец ознакомительного фрагмента.
Текст предоставлен ООО «ЛитРес».
Прочитайте эту книгу целиком, купив полную легальную версию на ЛитРес.
Безопасно оплатить книгу можно банковской картой Visa, MasterCard, Maestro, со счета мобильного телефона, с платежного терминала, в салоне МТС или Связной, через PayPal, WebMoney, Яндекс.Деньги, QIWI Кошелек, бонусными картами или другим удобным Вам способом.
Примечания
1
Реже – каким-либо другим двигателем.
2
В результате этих работ получено два патента.
3
Этим объясняется большой объём книги.
4
ПП, ОП1, ОП2 – ступени ослабления возбуждения тяговых электродвигателей.
5
Сюда не включены относительные затраты мощности на вспомогательные нужды за исключением системы охлаждения тяговых электрических машин. Последние затраты учитываются потому, что являются неизбежными при электрической передаче и отсутствуют у тепловозов других систем, в том числе и с непосредственным приводом движущих осей. Поэтому можно считать, что эти данные соответствуют к. п. д. электропередачи с учётом затрат мощности на охлаждение тяговых электрических машин.
6
Конечно, при этом предполагается одинаковая экономичность тепловых двигателей тех и других тепловозов.
7
Как известно, давление бывает абсолютным и избыточным. Разница между ними 1 атмосфера. Здесь и далее, в тех случаях, когда автору неизвестно, о каком из этих давлений идёт речь, размерность соответствующей величины обозначается просто «ат» (техническая атмосфера, 1 ат ≈ 0,1 МПа). В противном случае указывается «ата» или «ати», соответственно.
8
Имеется ввиду воздух в атмосферу.
9
Ходжес называл свое устройство межнагревателем, а не подогревателем, как его назвали бы сегодня. Интригующе он обращается к улучшению межнагревателей, которое подразумевает, что идея была уже известна. По-видимому, это были грелки или коксовые печи.
10
Обычно у Портера свисток питается от вспомогательного резервуара, который поддерживает нужное давление, чтобы управлять им. Есть клапан дренажа для выпуска воды из вспомогательного резервуара. И вспомогательный резервуар, и подогреватель оснащены предохранительными клапанами. Это необходимо в случае, если редукционный клапан заест (не закроется), и впускаемый воздух будет иметь давление 80 ат.
11
В 1914 г. H K Porter Company выпустила 2-е издание своей книги «Modern Compressed Air Locomotives», в котором дано подробное исследование технологии сжатого воздуха и экономики. Эта и следующие иллюстрации локомотивов Портера взяты из этой книги. В книге описывается работа компаунд – двукратное (но не троекратное) расширение.
12
Журнал «Nature», 1901, 2-й выпуск.
13
Основано 13 февраля 1836 г. Жаном-Генри Ренье-Понселе в бельгийском г. Льеж. Первый локомотив построен в 1840 г. За время своего существования до 1932 г. Общество построило 1465 паровозов.
14
С 1917 г. Московское высшее техническое училище (МВТУ), ныне МГТУ им. Баумана.
15
По-другому их называют тепловозами непосредственного действия.





