- -
- 100%
- +

Введение
Всякому человеку, сталкивающемуся с проблемой постройки крыши, ясно, что она является не только элементом дома. От самой зари человечества крыша в первую очередь представляет собой элемент защиты от непогоды и способствует, по мере повышения требований к комфорту, развитию архитектурного искусства, этот элемент архитектуры подвергается постоянному совершенствованию с целью улучшения защитной функции постройки. Так или иначе, человек всегда стремится иметь «надежную крышу над головой».
Таким образом, крыша – это верхняя ограждающая конструкция здания, одновременно выполняющая несущие, гидроизолирующие, а при бесчердачных (совмещенных) крышах и теплых чердаках, еще и теплоизолирующие функции.
Основное назначение современной крыши заключается в защите людей от внешних воздействий, таких, как дождь, снег, ветер, жара, мороз, вредные облучения и вещества, пыль, пожар.
Можно сказать, что крыша – это один из главных элементов здания, она должна выдерживать ветровые и снеговые нагрузки и соответствовать противопожарным нормам, а, кроме того, выполнять декоративные функции. Ведь кроме всего прочего крыша является элементом архитектурного оформления здания. Именно эта часть здания бросается в глаза при подъезде к населенному пункту, ведь крыши создают характерный для данного поселения облик.
На базе свойственных для данной местности стиля архитектуры, климатических условий и имеющихся в наличии материалов выбираются конструкции и формы крыши. Основным конструктивным элементом крыши является самый верхний, то есть непосредственно кровля, наружный водонепроницаемый слой кровельного «пирога».
Часто в разговорной речи и технической литературе понятия «крыша» и «кровля» используются как синонимы. Понятие «крыша» более общее – оно включает в себя кровлю как один из конструктивных элементов. В соответствии с действующими нормативными документами:
Кровля – это верхний элемент крыши (покрытие), предохраняющий здания от всех видов атмосферных воздействий. Современные крыши – это, прежде всего, новые материалы и технические решения, улучшающие такие показатели, как надежность, долговечность и эстетический вид. Выбор материалов кровельной системы должен быть основан на принципе согласования сроков службы всех составляющих. Главным экономическим показателем при выборе кровельного материала является не стоимость за единицу площади конкретного кровельного покрытия, а стоимость всей кровельной системы при заданных сроке службы и эксплуатационных характеристиках. Надежность и долговечность крыши обеспечивается также правильным выполнением работ по монтажу (обустройству) всей кровельной системы.
Существует множество кровельных материалов: асбестоцементные волнистые или плоские листы, кровельная сталь, натуральная черепица, металлочерепица, кровельная медь, алюмоцинк, различные виды рубероида, и даже такие экзотические материалы, как дранка, листовой сланец, дерн, камыш и т. д.
Основанием, поддерживающим кровлю, является обрешетка. Материал и конструкция обрешетки зависят от типа кровли. В большинстве случаев – это деревянные бруски 50х50 мм и более. Под крупноразмерные кровельные элементы, такие как стальной профилированный настил, это могут быть прогоны из прокатной стали (швеллер, уголок).
Современные крыши – это, прежде всего, новые материалы и технические решения, улучшающие такие показатели, как надежность, долговечность и эстетический вид. Выбор материалов кровельной системы должен быть основан на принципе согласования сроков службы всех составляющих. Главным экономическим показателем при выборе кровельного материала является не стоимость за единицу площади конкретного кровельного покрытия, а стоимость всей кровельной системы при заданных сроке службы и эксплуатационных характеристиках. Надежность и долговечность крыши обеспечивается также правильным выполнением работ по монтажу (обустройству) всей кровельной системы.
Нагрузка от снега, собственного веса кровли через обрешетку передается на стропила, которые являются основным несущим нагрузки элементом крыши.
Крыши подразделяются на чердачные и бесчердачные.
Чердак – это пространство между поверхностью покрытия (крыши), наружными стенами и перекрытием верхнего этажа. Он надежно защищает дом от холода, обеспечивает вентиляцию и проветривание конструктивных элементов крыши. С конструктивной точки зрения, чердак значительно повышает надежность и долговечность крыши, однако, увеличивает стоимость здания по сравнению с домом, имеющим мансарду. В бесчердачных крышах последняя выполняет одновременно и функции чердачного перекрытия; в этом случае крышу называют покрытием, или совмещенной крышей.
Мансарда – этаж в чердачном пространстве, фасад которого полностью или частично образован поверхностью (поверхностями) наклонной или ломаной крыши, при этом линия пересечения плоскости крыши и фасада должна быть на высоте не более 1,5 м от уровня пола мансардного этажа. Внутреннее пространство дома при этом используется максимально, отчего стоимость здания существенно уменьшается.
Крыши бывают утепленными или холодными. Чердачные крыши для большинства зданий выполняют холодными. Холодная крыша защищает здание только от атмосферных осадков; теплозащита помещений верхнего этажа обеспечивается (в случае необходимости) чердачным перекрытием. Бесчердачные крыши могут быть холодными (над неотапливаемыми строениями) и теплыми (над отапливаемыми зданиями).
По форме крыши делятся на скатные и плоские:
1. Плоская крыша – это крыша, имеющая уклон менее 2,5%. Она может быть эксплуатируемой.
2. Скатная крыша – это крыша, имеющая уклон более 2,5%.
В самом общем виде к основным элементам крыши относятся:
1. несущая конструкция, состоящая из деревянных балок, стропил или сборных ферм, состоящих из верхнего и нижнего поясов и заключенной между ними решетки из скосов и подкосов;
2. основания под кровлю;
3. гидро– и теплоизоляционного слоя;
4. кровли.
Выбирают конструкцию крыши в зависимости от применяемого кровельного материла, а также с учетом уклона кровли, длины перекрываемого пролета, сечения стропил и обрешетки, и величины снегового покрова.
С наружной стороны устраивают карниз, который может быть разной конструкции и оформления. Карниз устраивают так, чтобы между ним, стенами и крышей не было щелей, что весьма важно для предохранения от образования конденсата в печной трубе. Для строительства бань чаще всего применяют односкатные или двускатные крыши. Уклон крыши выбирают в зависимости от применяемого кровельного материала и обилия атмосферных осадков в данной местности. Вообще уклон колеблется от 10 до 60º. При этом следует учитывать, что на крутую кровлю требуется больше материалов.
Глава I
Мауэрлаты
В каменных, кирпичных и бетонных стенах по всему их периметру укладывают балки или брусья-мауэрлаты, на которых при помощи шипов и гнезд крепят стропила.
Мауэрлаты – это подстропильные брусья, лежащие на верхнем обрезе наружных стен, на которые опираются нижние концы стропильных ног. Другими словами, мауэрлат – это брус, служащий опорой наслонных деревянных стропил и предназначенный для распределения нагрузки, создаваемой крышей сооружения. В случае каменных стен, мауэрлат располагается на верхнем внутреннем обрезе стен.
Стропильные ноги опираются на мауэрлат, распределяющий сосредоточенную нагрузку от стропил равномерно вдоль всей наружной стены. В каменных зданиях при частой расстановке стропил (1,0–1,5 м), а при стенах из малопрочных материалов независимо от расстояния между стропильными ногами, мауэрлаты укладываются по всему периметру наружных стен. В каменных домах в качестве опоры для стропильных ног используется мауэрлат – брусья толщиной 140–160 мм.

(Рис. 1) Опирание наслонных стропил в каменных зданиях.
Мауэрлат может располагаться по всей длине здания или подкладываться только под стропильную ногу. В том случае, если стропильные ноги в сечении имеют небольшую ширину, они могут со временем провиснуть. Чтобы избежать этого, необходимо применять специальную решетку, состоящую из стойки, подкосов и ригеля.
В местах примыкания к кирпичной кладке мауэрлат с двух сторон опиливается. Все места соприкасания мауэрлата с кладкой следует антисептировать, а между кладкой и мауэрлатом прокладывать изоляционную бумагу или толь. Мауэрлат обычно выполняется из бревен диаметром в 18–20 см. При редкой расстановке стропильных ног (более 1,5–2,0 м) взамен сплошных мауэрлатов укладывают отдельные коротыши длиной в 60–80 см только в местах опирания стропильных ног.
Чтобы мауэрлаты и концы стропильных ног были доступны для осмотра, нижняя поверхность мауэрлата должна отстоять от верха чердачного перекрытия не менее, чем на 35–50 см. В пролете между наружными стенами стропильные ноги опираются на один или несколько продольных прогонов, которые являются основными продольными элементами наслонных стропил.
Мауэрлаты для защиты от увлажнения изолируют от контакта со стенами прокладкой из двух слоев толя или рубероида.
Если толщина, досок, применяемых для стропил, обычно равна 40–50 мм, а брусьев – 60-140 мм, то мауэрлаты выполняют из брусьев сечением от 100х100 мм до 180–200 мм, отесанных на два канта. Лежни имеют такие же сечения при установке их на сплошные стены. При установке их на столбы размер сечения лежней принимается по расчету. Сечения всех элементов крыши (стропил, обрешетки, кобылок и т. д.) уточняется расчетом на прочность и при необходимости – на жесткость. Для экономии древесины вместо сплошных мауэрлатов можно использовать и отдельные бруски.
Когда стены толстые и свес большой, а балки укладывают по внутреннему краю стены, возможен прогиб в кровле. Чтобы этого не случилось, мауэрлат следует положить с отступом от внутреннего края стены. Место прогиба выравнивают, прибивая к концам стропильных ног «кобылку» – доску на ребро.
Нижние концы стропильных ног опираются на мауэрлаты из окантованных бревен диаметром 18–20 см, которые укладывают по внутреннему обрезу стены. Мауэрлаты связывают в углах врубками вполдерева и скрепляют скобами. Одинарное или двойное сопряжение стропильной ноги с затяжкой делают в зуб и скрепляют скобами.
Мауэрлат может располагаться по всей длине здания или подкладываться только под стропильную ногу. В том случае, если стропильные ноги в сечении имеют небольшую ширину, они могут со временем провиснуть. Чтобы избежать этого, необходимо применять специальную решетку, состоящую из стойки, подкосов и ригеля.
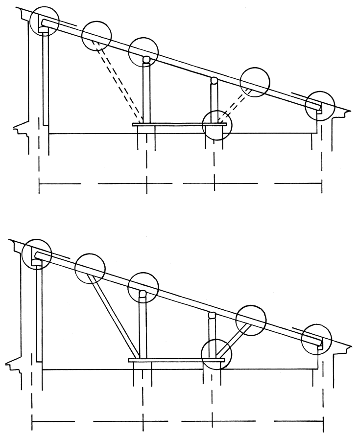
(Рис. 2, а) показана стропильная нога с подкосом, опертым на мауэрлат, положенный на обрез стены на уровне верха чердачного перекрытия.
При наличии одной промежуточной опоры стропильные ноги опирают на мауэрлаты наружных стен и на продольный прогон, опертый на стойки, устанавливаемые на промежуточные опоры.

(Рис. 2, б, в) Показаны стропила с одним рядом стоек и подкосами жесткости только против стоек.

(Рис. 2, г) стропила с одним рядом стоек и с подкосами у каждой стропильной ноги.
Конструкция наслонных стропил при двух промежуточных опорах показана на рисунке. В схеме, показанной на фигуре, на промежуточную опору передается одностороннее давление от подкосов, поэтому в местах расположения стоек ставятся распорки.

(Рис. 3, а, б) Конструктивные схемы односкатных наслонных стропил в поперечном разрезе. а – стропила с двумя рядами стоек и подкосами жесткости, б – стропила с двумя рядами стоек и подкосами против каждой ноги.
В мауэрлатах и прогонах в местах опирания на них стропильных ног вытесывают горизонтальные площадки.
Во избежание сноса крыши ветром нижние части стропильных ног через одну должны быть прикреплены скруткой из 2–3 проволок (d – 2–3 мм) к костылю, заделанному в стену на 200–300 мм ниже мауэрлата. Стропильные ноги прикрепляются к мауэрлатам также при помощи скоб; в районах с сильными ветрами мауэрлаты в свою очередь прикрепляются проволокой или скобами к кладке. Опирание на продольный прогон бревенчатой стропильной ноги показано на рисунке 4, а дощатой и из пластин – на фигурах 7 и 8. Стойка соединяется с прогоном шипом.
Стыки стропильных ног следует назначать так, чтобы использовать полную длину бревна или доски; стык может быть расположен на стойке или на консоли.
Бревенчатые стропильные ноги связываются в стыке болтами (d = 12–16 мм), а дощатые – гвоздями диаметром в 5,0–5,5 мм.
При загнивании концов стропил, опирающихся на мауэрлат, поступают следующим образом.
На чердачное перекрытие кладут бревно, опирающееся на 2–3 балки. В него упирают подкосы из досок, прибитые к стропильной ноге гвоздями, расстояние от которых до загнившего места должно быть не менее 200 мм.

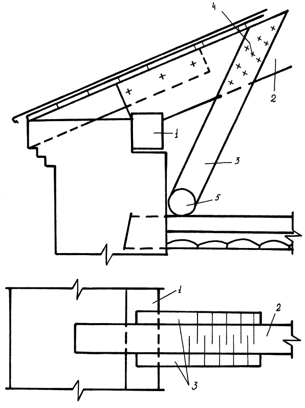
(Рис. 4) Укрепление стропильной ноги при загнивании ее конца: 1 – мауэрлат; 2 – стропильная нога; 3 – накладки и подкосы из досок; 4 – гвозди длиной 120–150 мм, 5 – бревно, опирающееся на 2–3 балки.

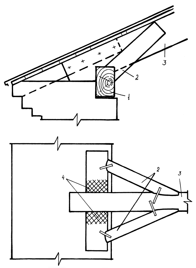
(Рис. 5) Укрепление стропильной ноги вблизи загнившей части мауэрлата: 1 – мауэрлат; 2 – подкосы; 3 – стропильная нога; 4 – сгнившая часть мауэрлата. Для ремонта мауэрлата, загнившего на незначительной длине, стропильную ногу скобами крепят к подкосам, упирающимся в мауэрлат и прикрепленным скобами к неповрежденному его участку.

(Рис. 6) Опирание стропильной ноги при загнивании мауэрлата на значительной длине: 1 – мауэрлат; 2 – стропильная нога; 3 – сгнившая часть мауэрлата; 4 – накладки и подкосы из досок; 5 – брус длиной 0,8–1,0 м, опирающийся на штыри; 6 – металлические штыри (длина 400–500 м, диаметр 20 мм), забиваемые в кладку.
При загнивании значительной части мауэрлата к стропильной ноге прибивают накладки из досок. Упирают их в новый дополнительный мауэрлат, установленный ниже сгнившего и закрепленный штырями в кладку стены.

(Рис. 7) Усиление стропильной ноги в средней части накладками: 1 – накладки и подкосы из досок; 2 – сгнившая часть стропильной ноги.
Для усиления загнивших посредине стропильных ног к ним прибивают 2 накладки из досок толщиной 50–60 мм. Гвозди забивают по концам накладок в неповрежденную часть стропильной ноги.
Глава II
Стропила
Стропила являются основным несущим элементом крыши, воспринимающим нагрузки от веса кровли с обрешеткой, от веса снега на кровле, а также ветровые нагрузки. Для удержания крыши на стенах, стропила крепят к последнему, а лучше к предпоследнему венцу при помощи скоб.
По конструкции стропила подразделяются на две основные группы; наслонные и висячие. Основным различием наслонных и висячих стропил является наличие у последних нижней затяжки, воспринимающей усилие распора от стропильных ног (см. рис. 1). Крыши с наслонными стропилами устраивают в домах, имеющих опорные стены. Пролет между опорами может достигать 4,5 м. При пролете от 5 до 6 м под стропила ставят подкосы. Наслонные стропила имеют не менее двух неподвижных точек опоры стропильных ног у концов (в коньке и на продольной стене) и не дают распора на стены.
Висячие стропила имеют неподвижные точки опоры стропильных ног в нижних концах и на продольной стене. Они дают распор, который воспринимает затяжка.
На рисунках показаны наслонные (8) и висячие (9) стропила.

(Рис. 8) Наслонные стропила: 1 – стропильная нога; 2 – ригель; 3 – чердачное перекрытие.

(Рис. 9) Висячие стропила: 1 – мауэрлат; 2 – стропильная нога; 3 – затяжка; 4 – бабка; 5 – подкос.
Наслонные стропила концами опираются на стены здания, а средней частью – на промежуточные опоры. Висячие же стропила опираются только концами на стены здания. Наслонные стропила устраивают в том случае, если расстояние между опорами не превышает 6,5 м. Наличие дополнительной опоры позволяет увеличить ширину, перекрываемую наслонными стропилами до 12 м, а двух опор – до 15 м. В деревянных брусчатых или же рубленых зданиях стропильные ноги опираются на верхние венцы (10), в каркасных – на верхнюю обвязку (11).
Конец ознакомительного фрагмента.
Текст предоставлен ООО «ЛитРес».
Прочитайте эту книгу целиком, купив полную легальную версию на ЛитРес.
Безопасно оплатить книгу можно банковской картой Visa, MasterCard, Maestro, со счета мобильного телефона, с платежного терминала, в салоне МТС или Связной, через PayPal, WebMoney, Яндекс.Деньги, QIWI Кошелек, бонусными картами или другим удобным Вам способом.



