Курс «Применение трубопроводной арматуры». Модуль «Арматура и оборудование морских платформ»

- -
- 100%
- +
Английское правительство объявило поиски собственных месторождений первоочередной задачей обеспечения национальной безопасности. Английские геологи выявили в Северном море на глубинах 40–70, и до 200 м новую нефтегазоносную провинцию со множеством месторождений нефти и газа. Прибрежные части Мексиканского залива давно уже были освоены США.
Американцы продолжали бурение в глубоководных частях Мексиканского залива, и оно было весьма результативным. Поиски залежей нефти и газа на акваториях всего земного шара во второй половине ХХ в. увенчались открытием крупных месторождений также в пределах Каспийского и Средиземного морей, Персидского и Оманского заливов, возле островов Азиатско-Тихоокеанского региона, у западных берегов Африки и в арктических областях. Глубины акваторий составляют при этом многие сотни метров и даже больше километра.
Около трети мировой добычи сейчас составляет нефть из морских месторождений. Извлечение нефти из под морского дна создает значительные политические, юридические и технические трудности. По-новому ставятся вопросы о границах и юрисдикции отдельных государств, о правовом статусе морей и океанов. Шельфы (до глубины 200 м) и акватории многих внутренних заливов и морей поделены международными договорами между странами, имеющими выход к морю.
Однако существуют еще и спорные территории, особенно в случаях появления новых государств. Например, территория Каспийского моря целиком была расположена в пределах Советского Союза, а Ирану принадлежала только небольшая полоса на южном побережье Каспия. После распада СССР выход к морю теперь имеют пять государств: Азербайджан, Россия, Казахстан, Туркмения и Иран. Возникла проблема передела территории дна Каспийского моря, прав государств на разработку месторождений, определение зон рыболовства. Вопрос находится в стадии дискуссии.
Обнаруженные морские месторождения являются собственностью какого-либо государства, если эта территория находится в его юрисдикции. Так, Норвегия после открытия в Северном море газовых месторождений и нефтяного месторождения Экофиск с запасами 300 млн. т превратилась из страны-импортера в страну-экспортера. Прибыль от добычи норвежской нефти и газа пошла не в карманы магнатов, а на благо всего населения страны. В результате Норвегия в 2001 г. вышла на первое место в мире по уровню жизни населения. По мере развития техники и технологии начали осваивать нефтегазовые месторождения на больших морских глубинах.
С начала 1970-х годов строительство морских сооружений для бурения и добычи нефти и газа начало развиваться небывалыми темпами. Громадный вклад в разработку глубоководных батискафов и водолазного дела внесли французские, английские и американские исследователи. Разработку проектов морских оснований осуществляли в основном инженеры Великобритании и США. Почти все проекты выполнены инженерами-нефтяниками этих двух стран. Было предложено множество конструкций морских платформ. Все они имеют вышку, подъемные краны, вертолетную площадку. Низ платформы поднят над уровнем моря на 30 м – максимальную высоту волн. Для экономии места сама платформа имеет несколько этажей.
В Советском Союзе и потом в России не было больших морских глубоководных нефтегазовых сооружений, поскольку имелось достаточное количество месторождений на суше, и строительство дорогостоящих платформ в акваториях рассматривалось как экзотика, а не жизненная необходимость. Россия имеет несколько мобильных самоподъемных морских платформ для бурения в Каспийском и Черном морях и на Дальнем Востоке. Эти работы ведутся, как правило, совместно с иностранными компаниями.
Компании США больше всех других стран строят морские добычные платформы. Они ведут работы по контрактам в Азиатско-Тихоокеанском регионе, на Ближнем и Среднем Востоке, у берегов Африки, на северном побережье Аляски, у берегов Северной и Южной Америки. К 2003 г. в мире насчитывалось примерно 6500 морских сооружений, и 4000 из них находятся в Мексиканском заливе. Сейчас наиболее интенсивно ведутся работы в Мексиканском и Персидском заливах, в Каспийском и Северном, Охотском и Балтийском морях.
К 2006 году было установлено подводных трубопроводов длиной свыше 175.000 км или в 4,4 раза больше земной окружности. Самая большая глубина воды, на которой были установлены подводные трубопроводы, составляет на сегодня 2414 м. Проект был осуществлен в Мексиканском заливе на платформе Анадарко для проекта Хаб в 2007 году. Этот рекорд был побит компанией "Петробрас" в проекте каскадных трубопроводов, которые были установлены на глубине 2689 м в Мексиканском заливе в 2009 году.
Самый длинный подводный нефтетрубопровод из гибких труб составляет сейчас 69.8 км (проект Пингвин А-Е, компания Шелл). Самый длинный подводный газопровод, протянутый в 2006 году, составляет 120 км ("Норск Гидро", Ормен Ланге).
Глубоководные трубопроводы в настоящее время работают при наиболее высоких давлениях и температурах. В настоящее время давление в подводных системах достигло 103,4МПа и 177°C. В 2005 году на платформе Статойл Кристин в Норвегии был достигнут рекорд в давлении (911 Бар) и температуре (167°С) на глубине свыше 320 м.
Наибольшее развитие в настоящее время получают суда добычи, обработки и хранения нефти и газа (FPSO), см. рис. 1.3.


Рис. 1.3. Судно FPSO и распределение систем морской добычи по типам конструкций и годам ввода в эксплуатацию
1.2. Особенности морской добычи
Скважины
За исключением нескольких инновационных установок, устьевое оборудование, манифольды и фонтанная арматура на морских платформах в основном такие же, как для сухопутных скважин (см. рис.1.4.).

Рис. 1.4. Установки манифольда на платформе
Регулирующие клапаны, предохранительные клапаны, трубопроводы и выходы настроены так же, и используются те же или аналогичные компоненты. Некоторые клапаны, вероятно, будут иметь пневматический или гидравлический привод для облегчения удаленного и быстрого закрытия в аварийной ситуации. Кроме того, некоторые елки могут иметь составной блок клапанов вместо отдельных клапанов, сфланцованных вместе.
Основное различие, однако, между наземным и морским скважинным оборудованием на платформе является потребность в большей экономичности, чтобы уменьшить вес оборудования, где это возможно, и свести к минимуму требования к занимаемому пространству. Проще говоря, более легкие, меньшие по весу и компактные установки делают платформы менее дорогими.
Хорошим примером является использование составного блока клапанов, чтобы уменьшить размер и вес елки. Другой пример – расположение устьев скважин как можно ближе друг к другу, как это могут позволить буровые работы, с достаточным местом для безопасной и эффективной эксплуатации арматуры елок, регулирующей арматуры, а также ремонта оборудования. Как правило, это означает расстояния от 6 до 10 футов (1,82-3 м) между скважинами.
Если установлена только одна буровая установка на платформе, все устья скважин, как правило, находятся в одной платформе. Большие платформы, которые предназначены для размещения двух буровых установок могут иметь два модуля (по одному для каждой буровой установки) с двумя или более рядами скважин в каждом кусте.
Технологическое оборудование
Основная функция технологического оборудования, будь то на платформе или на суше, является стабилизация производимых жидкостей и подготовка их для транспортировки или утилизации. Также продукция разделяется на компоненты нефти, газа, и воды (а иногда и конденсата). Отделенные жидкости измеряются и затем отправляются потребителям, закачиваются обратно в пласт или сжигаются на факелах.
Отличия технологического оборудования (сепараторы, скрубберы, насосы, компрессоры и т. д.), установленных на платформе и установленных на суше, являются незначительными (см. рис.1.4.). Где это возможно, применяются емкости и машины, которые являются компактными и легкими (например, электрические двигатели обычно используются вместо газовых двигателей для привода насосов и компрессоров).
Вертикальный зазор между палубами может ввести высотные ограничения, что диктует, например, использование горизонтальных, а не вертикальных сепараторов.

Рис. 1.5. Платформа – макет палубы для технологических объектов
Существует большая разница, однако, в том, как оборудование устанавливается. Технологическое оборудование на оффшорной платформе готовится в виде модулей и устанавливается блоками. После сборки модуля, он устанавливается на платформу по варианту "поставил и подключил". Это значительно сокращает дорогостоящие установки на шельфе и время подключения. В любом случае, оборудование и трубопроводы, электропроводка и элементы управления устанавливаются максимально компактно. Дополнительные инженерные затраты и затраты на изготовление блок-модулей, необходимые, чтобы уменьшить площадь палубы до абсолютного минимума, более чем компенсируются экономией средств в создании инфраструктуры платформы.
Ремонт скважин и капитальный ремонт скважин
На относительно небольшие платформы, не более 5 до 10 скважин, обычной практикой в некоторых районах является бурение всех скважин перед тем, как любая из них будет поставлена на эксплуатацию. Буровая установка снимается после того, как пробурена последняя скважина, и в будущем капитальный ремонт скважин выполняется с помощью портативного снаряжения на основе гидравлических агрегатов. Обслуживание скважин, которое не требует вытягивания труб (например, замена предохранительных клапанов, подъем клапанов и др.), как правило, осуществляется с помощью кабельных линий управления.
На более крупных платформах с большим количеством скважин бурение и добыча, как правило, проводятся одновременно. В этом случае буровая установка выполняет ремонт скважин.
Утилизация сырой нефти
В подавляющем большинстве случаев обработанная сырая нефть транспортируется из платформ посредством подводных трубопроводов. Поскольку большинство добывающих оффшорных зон включает в себя несколько платформ и более чем одну операционную компанию, трубопроводы являются основным средством доставки продукции.
Оффшорный трубопровод может быть самым дорогим элементом прибрежной установки, и иногда он значительно превышает стоимость одной или нескольких платформ, в зависимости от следующего:
– Диаметр трубы
– Длина
– Требования к покрытиям и катодной защите
– Глубина воды
– Различные аспекты строительства
В подавляющем большинстве случаев, однако, трубопроводы по-прежнему являются самым безопасным и самым экономичным способом транспортировки нефти на берег.
Иногда, оффшорные месторождения нефти находятся слишком далеко, производственные показатели являются слишком низкими, или нефтяное\газовое поле является небольшим и добыча является слишком непродолжительной, чтобы экономически оправдать строительство трубопровода.
Альтернативой является перевозка нефти с помощью танкеров. Это обычно требует некоторого типа систем отгрузки, устанавливаемых в 1 до 2 км от платформы, таких как отгрузочные платформы. Трубопровод на морском дне связывает между собой элементы системы погрузки при передаче нефти.
Два самых важных недостатка в погрузке танкеров – это чувствительность к погодным условиям и требование раздельного хранения нефти. Причальная загрузка танкеров лучше всего подходит для зон с теплым климатом, где время простоя из-за штормов будет минимальным. Требования к хранению нефти будут зависеть от общей добычи на месторождении и характеристик резервуарного парка (т.е. могут ли скважины быть закрыты в течение коротких периодов времени без потери производительности), а также стоимости простоя танкера. Это привело к развитию постоянно швартующихся танкеров для хранения добываемой продукции.
Утилизация газов
Отгрузка газа с производственной платформы будет зависеть от сочетания объема резервуаров и экономических факторов. Если же производство скважин – это, прежде всего нефть, то газ может быть обработан в качестве побочного продукта и может быть размещен наиболее экономичным способом. Конечно же, подача газа по трубопроводу на берег для продажи и использования в качестве топлива, как правило, предпочтительна, если это можно сделать экономически выгодно. Закачка газа обратно в пласт является общей альтернативой. Это помогает поддерживать пластовое давление и экономит газ для возможной будущей продажи. В некоторых областях сжигание газа еще приемлемо, но сейчас многие страны запрещают это, за исключением коротких периодов запуска скважин, испытаний и для утилизации небольшого количества остаточных отработавших газов.
Водоотведение
Пластовая вода обычно очищается, так что она может быть слита в море на шельфе в соответствии с правительственными правилами или закачиваться в резервуар. В любом случае, используется сочетание механических и химических методов для кондиционирования пластовой воды перед утилизацией. Осаждение и фильтрация используется для удаления нефти и других загрязняющих веществ из воды. Химическая обработка является общим способом для контроля бактерий и коррозии в нагнетательных скважинах.
Инженерное обеспечение буровых работ на море
Ускоренное развитие конструкций морских стационарных платформ произошло при освоении месторождений Северного моря. Там широко применяются массивные железобетонные платформы гравитационного типа и стационарные металлические платформы, закрепляемые на морском дне сваями. Разработан ряд конструкций платформ для работы в ледовых условиях. Для глубоководных акваторий имеются платформы с натяжными опорами. Для бурения с искусственных островов используются наземные буровые установки.
Буровые установки на морских стационарных платформах используются для бурения эксплуатационных скважин и проведения специальных работ в добывающих скважинах. Общее число скважин, которое может быть пробурено с одной платформы, зависит от фильтрационно-емкостных свойств пласта и размеров залежи и обычно не превышает 50 скважин. В большинстве случаев буровая вышка находится постоянно на платформе.
Полупогружная ПБУ представляет собой плавучую конструкцию, используемую для бурения скважин при глубинах моря от 60 до 2500 м. Она буксируется или переправляется с одного места бурения на другое самостоятельно за счет имеющейся системы гребных винтов. Большинство полупогружных ПБУ закрепляется на месте бурения тросами для обеспечения стабильного положения. Некоторые современные установки для поддержания точного положения при бурении на больших глубинах снабжены системой динамического позиционирования, основанной на системе движителей и точной навигации.
Самоподъемная ПБУ представляет собой опирающуюся на дно конструкцию, используемую для бурения при глубинах моря от 20 до 120 м. Самоподъемная установка буксируется к месту бурения, после чего ноги платформы спускаются и плотно прижимаются к морскому дну, обеспечивая стабильное положение платформы при бурении.
Затраты на обустройство морских нефтегазовых месторождений составляют свыше 50% всех капиталовложений. Стоимость больших нефтегазопромысловых платформ (например, платформа Тролль в Северном море) может достигать 1 млрд. долл. Удельные затраты на прокладку глубоководного магистрального трубопровода достигают 3 млн. долл. за километр.
На современных буровых установках используется система верхнего привода (СВП), исключающая использование ротора и ведущей бурильной трубы. СВП – это силовой вертлюг, который подвешивается на талевом блоке и перемещается по направляющим рельсам, принимающим на себя реактивный вращающий момент. СВП имеет электрический или гидравлический двигатель, редуктор и ввинчивается непосредственно в бурильную свечу. При использовании СВП бурильная колонна наращивается трехтрубными свечами.
Система контроля давления в скважине, препятствующая выбросу углеводородов, имеет следующую особенность: при проведении буровых работ на стационарной платформе, самоподъемной ПБУ и при наземном бурении превенторы располагаются непосредственно под буровой площадкой; в случае применения полупогружных ПБУ и буровых судов превенторы располагаются на морском дне. Система циркуляции промывочной жидкости является закрытой напорной.
Для северных и арктических условий влияние окружающей среды является определяющим фактором стоимости работ по добыче нефти и газа.
Особенность разработки морских и газовых месторождений состоит в том, что в проектах с целью снижения затрат предусматривают разработку месторождения, включая бурение скважин, добычу и подготовку нефти с кустовых стационарных платформ. При этом часть эксплуатационного оборудования размещают на буровой стационарной платформе, а вторую часть размещают на отдельной стационарной платформе. Так, на морском месторождении Фортиз в Северном море при глубине воды 73 м, сетка разработки имеет четыре куста скважин, каждый из которых пробурен со стационарной металлической платформы. Каждый куст содержит 27 скважин при сетке разработки 48 га на каждую скважину. Максимальный зенитный угол стволов скважин 550.
Скважины, пробуренные на шельфе и подготовленные к эксплуатации, можно разделить на скважины с подводным заканчиванием, которые оснащаются устьевым оборудованием, расположенным на морском дне, и скважины с расположением устьевого оборудования на платформе. Подводные скважины эффективны в тех случаях, когда небольшие залежи углеводородов расположены поблизости от существующей инфраструктуры или все отверстия платформы уже задействованы для других скважин.
Основное надводное технологическое оборудование для обеспечения добычи
Как уже упоминалось ранее, сырая нефть, как правило, подвергается обработке на надводной части морской платформы перед отгрузкой на сушу. Из-за ограничений в пространстве и весе на палубах платформы, требуется, чтобы технологический комплекс был компактным, поэтому его конструкция более сложная, чем у берегового технологического комплекса.
Требования к надводной части систем обработки зависят от условий скважины и будущих планов по расширению. В связи с этим часто предусматривается рост мощностей по добыче на 20-50%, что завышает рабочие диаметры трубопроводов и арматуры. Общие системы, устанавливаемые в надводной части морских добычных систем, и которые необходимы для обычного глубоководного месторождения приведены ниже:
– Система управления эксплуатации скважины
– Гидравлическая силовая установка
– Источники бесперебойного питания
– Регулирующие клапаны
– Мультифазные измерительные системы
– Блок перекрытия скважины
– Сепаратор сырой нефти
– Система подавления эмульсии
– Насосные и измерительные системы
– Теплообменник сырой нефти и газа
– Электрическая система нагрева
– Компрессоры газа
– Установки стабилизации конденсата
– Подводные устройства для ввода химических реагентов
– Система запуска очистителей и система их приема
– Насосы очистки и пр.
Индустриализация инженерного оборудования МП
В последнее время для скважин технологической линии добычи, сбора и предварительной подготовки к транспорту нефти, газа и конденсата применяются автоматизированное блочно-комплектное оборудование высокой заводской готовности.
Пример: Блочно-модульная установка оснащения куста газоконденсатных скважин

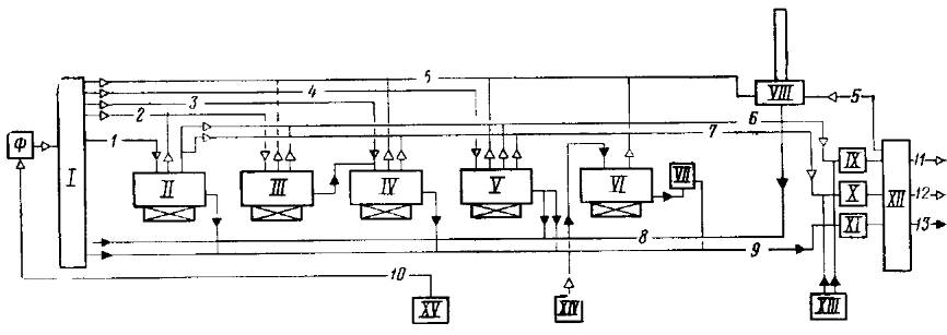
Рис. 1.6. Структурная схема размещения куста газоконденсатных скважин на морской стационарной платформе. Блоки:
I – группового манифольда скважин, II – замера дебита скважин, III – сепарации газа от конденсата I ступени, IV – сепарации газа от конденсата II ступени, V – освоения и опробования скважин, VI – продувки и разрядки аппаратов и коммуникаций, VII – насосов откачки нестабильного конденсата, VIII – газоотвод с каплеотбойником, IX – оперативного учета добычи газа I ступени, X – оперативного учета добычи газа, XI – оперативного учета конденсата, XII – распределительной арматуры, XIII – дозирования метанола, XIV – сбора и откачки сточных и дождевых вод, XV – глушения и прокачки скважины
Продукция скважины, оснащенной забойным отсекателем и пакером через фонтанную арматуру Ф поступает в блок группового манифольда скважины 1. Из этого блока продукция скважин, в зависимости от технологического назначения, может быть направлена в блоки замера по трубопроводу 1, сепарации газа 2 и 3 от конденсата первой или второй ступеней, освоения и опробования по трубопроводу 4, продувки и разрядки по трубопроводу 8 и распределительной арматуры по трубопроводу 9. В аварийных ситуациях, при срабатывании предохранительных клапанов, продукция скважин по трубопроводу 5 сбрасывается в блок газоотвода с каплеотбойником. Газ первой ступени сепарации по трубопроводу 6 второй ступени сепарации по трубопроводу 7 направляется в блоки оперативного учета, затем – в блок распределительной арматуры и подключается в подводные газопроводы 11 и 12 соответствующего давления. Нестабильный конденсат по трубопроводу 9 направляется в блок оперативного учета, затем в блок распределительной арматуры и подключается в подводный конденсатопровод 13. По линии 10 осуществляются технологические процессы глушения и прокачки скважины с использованием цементировочных агрегатов, входящих в состав буровых блоков – модулей.
Широкое применение методов индустриализации обустройства морских месторождений нефти и газа позволяет сократить сроки строительства объектов и обустройства месторождения в целом, трудоемкость строительно-монтажных работ, капитальные затраты на строительство и монтаж, число межблочных и межмодульных трубопроводов и трубопроводной арматуры, эксплуатационные затраты на содержание и улучшение условий работы обслуживающего персонала, постоянно находящегося на морских объектах. В первую очередь могут быть агрегатированны блоки распределительной арматуры, рис. 1.7.


Рис. 1.7. Блоки распределительной арматуры на МП
Создание и внедрение блочно-модульного автоматизированного малогабаритного оборудования большой мощности и блок-модулей высокой заводской готовности отвечают возросшим требованиям индустриализации обустройства морских нефтяных и газоконденсатных месторождений, охраны окружающей среды от загрязнений, надежности функционирования технологического оборудования и безопасности ведения работ на морских стационарных платформах.
КЕЙС.
ИНДУСТРИАЛИЗАЦИЯ ОБОРУДОВАНИЯ МОРСКИХ ПЛАТФОРМ. БЛОЧНО-МОДУЛЬНЫЕ УСТАНОВКИ УПРАВЛЕНИЯ СКВАЖИНОЙ КОМПАНИИ КОСМОС-НЕФТЬ-ГАЗ
Рост промышленного производства, а также растущие потребности населения неуклонно требуют увеличения добычи энергетических ресурсов. Материковые ресурсы углеводородного сырья истощаются, поэтому возникает все большая потребность освоения новых месторождений, при этом одним из основных перспективных направлений является освоение морских нефтегазовых месторождений, и в том числе месторождений континентального шельфа.
Необходимо отметить, что освоение морских месторождений, как наиболее сложных, сопряжено с большими трудностями и существенно отличается от освоения углеводородных месторождений, расположенных на суше.
Как показывает опыт последних лет, перспективным направлением при обустройстве морских месторождений углеводородного сырья является применение в обвязке скважин блочно-модульных конструкций полной заводской готовности. С одной стороны, блочно-модульные конструкции оборудования обеспечивают более высокие показатели качества, надежности, экологической и промышленной безопасности, с другой – при оснащении их системами управления и контроля существенно снижается роль человеческого фактора в процессе управления технологическими процессами.
В соответствии с этим направлением, компания ООО ФПК «Космос-Нефть-Газ», г. Воронеж, разработала и изготовила для компании ООО «Лукойл-Нижневолжскнефть», г. Астрахань, блочно-модульную станцию управления фонтанной арматурой СУФА77 для морской ледостойкой стационарной платформы ЛСП-1 нефтегазоконденсатного месторождения им. В. Филановского.

Рис.1. Морская ледостойкая стационарная платформа ЛСП -1 нефтегазоконденсатного месторождения им. В. Филановского




