Приборы управления реальностью. От Политрона к Метатрону

- -
- 100%
- +
Прибор может использовать сигналы как детерминированные, так и случайные, при этом обратимость схемы определяет мерность каждого из сигналов.
Особенности политрона: при дискретном входе, осуществляемом через функциональные пластины, выходной сигнал получается в аналоговой форме в виде непрерывного сигнала; преобразующей средой является электрическое поле; высокое быстродействие в обработке сигналов; прибор можно использовать в системах с изменяющимися во времени параметрами; прибор используется в одномерных моделях и для решения задач с большей мерностью; прибор даёт возможность регистрировать информацию от 10 источников на внешних устройствах, имеющих один входной канал.
Прибор имеет распределённую по пространству систему источников сигнала, связанную единой структурой и определённым характером взаимодействия.
Политрон может использоваться как переходный блок от объекта с распределёнными параметрами к объекту с сосредоточенными или наоборот. Обратимость входов и выходов политрона в зависимости от схемы включения позволяет использовать его, в частности при дискретно-аналоговом преобразовании.
Политрон может использоваться для преобразования информации о детерминированных физических процессах, в том числе о реальных физических процессах, знания о которых ограничены, представленной сигналами случайного характера или их характеристики невозможно точно измерить, которые можно отнести к процессам случайного характера. Прибор может быть использован в устройствах формирования случайных сигналов в качестве нелинейного преобразователя, позволяет сформировать случайный сигнал с регулируемыми вероятностными характеристиками, преобразовать принятый случайный сигнал к случайному сигналу с заданными характеристиками. Это позволяет применять устройство при управлении сложными процессами и в имитационном моделировании.
На основе политрона может быть построен генератор случайных чисел.
Область применения политрона
Политрон использовался в следующих задачах:
– в сфере связи на ближних и дальних расстояниях через эфир и через сплошные среды с предельно высокой помехозащищенностью и минимальными энергетическими затратами без искажения информации;
– для распознавания образов, в том числе и звуков, с высокой достоверностью, скоростью и минимальными энергетическими затратами;
– для прогнозирования чрезвычайных ситуаций как естественного, так и искусственного происхождения, раннее прогнозирование стихийных явлений (землетрясений, наводнений и т.д.) и катастроф;
– прогнозирование погоды;
– обеспечение надёжности работы и безопасности различных технических систем и устройств. Нормирование взаимодействия с техническими и биологическими системами;
– в технологии объёмного «видения электрона»;
– для прогнозирования в геологоразведке, для анализа полезных ископаемых и геологических месторождений;
– в картографической классификации ледяного покрова акваторий Северного морского пути;
– в качестве решающего устройства при интегрировании дифференциальных уравнений до 10-го порядка практически мгновенно;
– для передачи информации на расстоянии (опыт проводился с двумя подлодками и двумя политронами на большой глубине);
– в медицине, биологии при решении задач ранней диагностики и реабилитации различных патологий;
– для регистрации неконтактных воздействий врача-психотерапевта на пациента;
– для регистрации мыслительных процессов человека;
– для разработки искусственного интеллекта.
Политрон и гипотезы реальности проявления квантовых эффектов в его работе
Связь воздействия политрона с научными представлениямиВ 1956 г. А. И. Ставицкий и В. Н. Жук разработали электронно-лучевой прибор, названный политроном (авторское свидетельство СССР). Он предназначался для практических целей, которые в то время с квантовыми представлениями не ассоциировались. Однако в начале 70-х годов А. И. Ставицкий понял, что реальные характеристики политрона не вписываются в классические представления. Как потом выяснилось, схема политрона во многом похожа на схему опыта Ааронова – Бома для проверки влияния векторного потенциала поля на квантовую фазу элементарной частицы – электрона. Примерно через полтора десятка лет этот опыт был поставлен, а характер зависимости фазы частицы от векторного потенциала был описан Р. Фейнманом. Однако, в отличие от схемы Ааронова – Бома, в политроне крайне затруднено изучение, понимание и, следовательно, признание квантовых эффектов, что и явилось причиной столь продолжительных трудностей на пути широкого применения прибора. Попытки выявления квантовой структуры электрического сигнала с помощью политрона, уже запущенного в промышленное производство, начались с 1972 г. его автором Ставицким А. И., продолжалось в экспериментах Никитина А. Н., Ставицкого А. И. и др.
Это предположение осталось на уровне гипотезы, так как прямое наблюдение интерференции, недоступное из-за конструктивных особенностей политрона, не закладывалось в его конструкцию изначально и целенаправленно. Конструктивные параметры политрона не соответствуют привычным представлениям об условиях наблюдения квантовых эффектов на макроуровне. В политроне длина пути электрона не превышает нескольких сантиметров. При этом реальные результаты прибора намного превышали расчётные и не поддавались классической трактовке, количественные показатели разрешающей способности политрона не соответствуют классическим объяснениям физики. В политроне был реализован метод преобразования сигналов в объёмном электрическом поле в вакууме в качестве промежуточной преобразующей среды и свободно перемещающегося в нем объёмного электрического заряда в качестве исполнительного элемента, что позволило решать задачу преобразования пространственной многомерной информации во временной сигнал, на выходе многомерный сигнал представляется в виде изменения функции тока во времени.

ЛФ-9П
Идеи, высказанные авторами политрона и участниками экспериментов, объясняющие его уникальные возможности, опубликованы в десятках научных статей, практически реализованы в сотнях изобретений и устройств, защищённых авторскими свидетельствами и патентами.
Политрон выпускался серийно под наименованием ЛФ-9П, что позволило его использовать в различных конфигурациях и системах, в практической работе для решения прикладных задач для осуществления операций восприятия, преобразования и передачи информации в динамических режимах, в многочисленных экспериментах в различных областях. Серийное производство было прекращено после нецелесообразности использования ламповой техники в технических устройствах нового уровня.
Сомнения в реальности квантовых эффектов в политроне связаны с тем, что волновая фаза электронов, образующих ток в электрической цепи, не сохраняется на расстояниях, практически значимых для передачи информации, а информационный обмен посредством электрического тока возможен только на уровне его измеримых величин, а на микроуровне он неизбежно теряется в шумах. Неоднократные измерения показали, что волновая фаза электронов, образующих ток в электрической цепи, не сохраняется на расстояниях, практически значимых для передачи информации. Волновые свойства образующих ток электронов не проявляются в очевидной форме на макроуровне, в том числе на выходе политрона, даже если установлено, что доставленная ими на его вход информация на самом деле как-то влияет на выходные характеристики.
Политрон использовался для изучения интерференционных явлений на медленных (нерелятивистских) электронах, заданных характером граничных условий. Процесс интерференции регистрировался в виде непрерывно изменяющейся величины тока на выходе политрона, поддающегося непосредственному измерению. Подобные результаты другими методами пока получить не удалось2. По мнению исследователей, политрон производит регистрацию квантовых явлений, возникающих вследствие интерференции (т.е. процесса наложения когерентных электронных пучков, возникающих при их отражении от электродов), что обеспечивает его чувствительность ко всему окружающему и возможность регистрации любых явлений как контактным, так и бесконтактным методом. Регистрация происходит в явном виде в низкочастотном диапазоне при нормированных граничных условиях. В политроне недоступно прямое наблюдение интерференции, без которой невозможно себе представить получение информации, обусловленной волновой фазой носителя. В связи с недоступностью прямого наблюдения волновых процессов рассматривались косвенные свидетельства полного информационного обмена. В политроне были зафиксированы процессы, эквивалентные интерференции по конечному эффекту выделения фазовой информации, несмотря на её отсутствие в конструкции политрона. При этом волновые свойства электронов, образующие ток на входе политрона, могут проявляться в виде качественной закономерности выходных сигналов, согласно которой характеристики стационарного состояния источника сигнала могут сохранять свою форму независимо от выбора времени измерения.
В результате проведённых экспериментов с использованием политрона были расширены представления об электрическом токе как носителе информации, сделаны выводы, что информация, характеризуется не только энергетической, но и неэнергетической компонентой, не поддающейся измерению макроскопическими способами. Неэнергетическая компонента была выявлена в виде модуляции макросигнала в процессе информационного обмена. В отличие от энергетической, она не поддаётся прямому измерению и может быть отнесена к классу экспериментально неизмеримых величин, существование которых не отрицается. При этом она не может быть представлена никакими комбинациями прямых измерений энергетических величин.
В качестве физического фактора, ответственного за неэнергетический информационный обмен, рассматривается векторный потенциал поля, так как закономерности, выявленные в результате анализа модели и подтверждённые результатами экспериментов, совпадают с закономерностями, вытекающими из интеграла Фейнмана, который определяет изменение квантовой фазы частицы как результат действия на неё векторного потенциала поля.
Приборы на базе Политрона
Политрон в качестве преобразователя электрических сигналов использовался в различных схемах. Системы, устройства и приборы, использующие политрон, демонстрировались на выставках, в частности ВДНХ. Запатентовано более 200 авторских свидетельств и патентов на изобретения и промышленные образцы, использующие политрон.
Система «Психограф»
Одной из разработок на основе политрона был «Психограф», разработанный Валентином Ивановичем Ставицким (братом автора политрона Ставицкого А. И.) для исследования психофизического состояния человека и его реакции на различные виды информационных воздействий. Способ и система запатентованы в соавторстве с Семеновым К. Н. в 1997 г. Гипотеза Ставицкого А. И. о роли квантовых свойств в политроне была исследована и поддержана Ставицким В. И. с помощью экспериментов на психографе. Закономерности информационных функций человека, выявленные В. И. Ставицким с помощью психографа, согласуются с теоретическими выводами Р. Фейнмана о характере влияния векторного потенциала поля на квантовую фазу электрона. Были сделаны выводы о возможности электрического тока как носителя информации, а также обоснована гипотеза о квантовой природе информационных функций человека. Полученные экспериментальные факты показали несоответствие полученных результатов теории электросвязи и вызвали осмысление естественных и физических результатов. Обнаруженные эффекты нарушают классику электрического сигнала как временной последовательности значений электрических параметров, соответственно, нарушают классику времени. Поток электронов в психографе является носителем всего паттерна связей, схваченных в одновременности, отображающим в каждой точке структуру момента.
На психографе были получены парадоксы сигналообразования, которые раскрыли некоторые информационные особенности политрона. Была зафиксирована высокая чувствительность прибора на мыслительный процесс любого человека, на его эмоциональный настрой, в том числе на дистанционное ментальное воздействие. Ментальное воздействие человека изменяло форму электрического сигнала.
В статье Ставицкого В. И. в качестве критерия проявления полного информационного обмена предлагалось использовать качественные закономерности модуляции макросигнала на выходе политрона. Эти закономерности определяются на основе модели, в которой полный информационный обмен рассматривается как совокупность изменений не только энергии, но и других параметров состояния носителя информации.
Психограф Ставицкого В. И. прошёл длительную экспериментальную проверку, подтвердив закономерности взаимодействия человека с политроном, фиксировал свойства и характеристики этого взаимодействия. С помощью психографа можно было наблюдать в реальном времени внутренние психические процессы, происходящие в человеке (изменение состояния сознания, эмоционального состояния), и информационный обмен между людьми, фиксировать и регистрировать изменения состояния сознания человека при различных воздействиях: речь, музыка, графика, дистанционные экстрасенсорные и техногенные воздействия. Воздействия собственных мысленных усилий человека психрограф регистрировал в реальном времени (как контактным, так и бесконтактным способом) изменения психофизического состояния человека, позволял расшифровывать медико-биологическую информацию. Измеряемые характеристики были названы психограммами. Психограммы отражают как стационарные состояния человека, так и динамические изменения их в условиях внешних информационных воздействий различного вида: речь, музыка, художественная графика, дистанционные экстрасенсорные и техногенные воздействия, а также воздействия собственных мысленных усилий человека и т. д. Психограмма, по мнению исследователей, стала синтезом двух составляющих: классической (временной, энергетической) и неклассической (вневременной, пространственной, структурной). Действие политрона в схеме психографа накладывает на выходной сигнал дополнительную модуляцию, которая проявлялась в закономерностях психограмм отражать в виде временной функции вектор состояния системы, согласующихся с интегралом Р. Фейнмана. Полученные экспериментальные результаты и закономерности согласуются с установленным Р. Фейнманом характером влияния векторного потенциала поля на квантовые свойства электрона, изменение волновой фазы частицы под действием векторного потенциала поля, что важно для понимания как физической природы психических процессов человека, так и механизма преобразования сигнала в политроне, дают представление об электрическом токе как носителе информации и квантовой природы информационных функций человека, оставаясь в рамках научного метода.
Система «DSN-2000»
«DSN-2000» является электронно-квантовым прибором и предназначен для регистрации информационных полей различных объектов. Авторы изобретения – Ставицкий А. И., Никитин А. Н., Даровских А. Н.
С использованием этой политронной системы проводились исследования и решения прикладных задач практически до конца 90-х гг. За этот период успешно решён ряд экспериментально-теоретических исследований и прикладных задач, отмеченных во многих авторских свидетельствах и публикациях.
Основой «DSN-2000» является электронно-лучевой прибор политрон с электрически управляемой характеристикой, освоенный на предприятиях ВПК в начале 70-х гг. Прибор «DSN-2000» использовал два политрона для анализа информационных полей и имел компьютерное управление всеми режимами работы прибора. Было разработано программное обеспечение, позволяющее устанавливать рабочие параметры политрона, выбирать режимы работы прибора «DSN-2000» и визуализировать результаты измерений в графическом виде на экране монитора.
Политронная система «DSN-2000» применялась в экспериментах для обнаружения случайного сигнала на фоне белого шума, для решения практических задач картографической классификации ледяного покрова акваторий Северного морского пути и долгосрочного прогноза, прогнозирования геологических месторождений, для прогнозирования стихийных явлений (землетрясений, наводнений), для регистрации мыслительных процессов человека, работы в медико-биологическом направлении, регистрации неконтактных воздействий врача-психотерапевта на пациента и т. д. С помощью прибора решались задачи распознавания и классификации случайных процессов, задачи связи на ближние и дальние расстояния как по радиоканалам, так и через сплошные среды, в том числе и через воду.
Общеизвестно, что фундаментом прогностических утверждений геологов является четырёхмерная картографическая база данных. Стихийные бедствия имеют космогеофизическую, глобально-региональную циклическую структуру, пространственно-временная изменчивость которых также представляется в четырёхмерном картографическом пространстве. Это четырёхмерное информационное поле, эта среда неподвластна алгоритмическим методам, а политронные системы живут в ней как рыбы в воде.
Результаты выполненных исследований показали, что применение политронной системы «DSN-2000» для обнаружения случайного сигнала на фоне белого шума позволяет с вероятностью не менее 0,95 обнаруживать неизвестный сигнал на фоне белого шума при соотношении сигнал/шум 0,14.
Система «DSN-2000» использовалась для решения задач многомерной географической классификации. Примером такого решения является автоматическая классификация картографической базы данных по распределению сплочённости льда в летний период навигации (июль-сентябрь) на акваториях морей, тяготеющих к трассе Северного морского пути. Система использовалась для выделения скрытой «классифицирующей» информации особенностей ледовой обстановки, зафиксированной в комплектах ледовых карт, без априорных сведений о наличии таких особенностей.
Политрон позволил просто и надёжно выявлять подобие (аналогии) комплексов графических объектов, выявить пространственно-временные закономерности межгодовой изменчивости ледовых условий. Результаты исследований карт ледовой обстановки с помощью политронной системы доказали, что в Арктике ледовые процессы идут по принципу самоорганизации. Прогноз ледовой обстановки заданной детализации может быть составлен с использованием определённого набора аналогов (комплектов карт), из обработки которых выделение прогностической информации (скрытой информации) задаётся матрицей информационных элементов Ставицкого различной размерности.
Успешное решение задачи многомерной географической классификации в условиях межгодовой изменчивости распределения льда в Арктике позволило эффективно прогнозировать ледовую обстановку на трассе Северного морского пути в летний период. Заблаговременность такой информации составляет от одного месяца до одного года, хотя ограничений по заблаговременности в используемом подходе нет. Составленные картографические сценарии подекадного развития ледовых процессов в Арктике на 1997, 1998, 1999 годы показали не менее, чем 85-процентную оправдываемость последних. Появилась возможность предсказания существенных аномалий в развитии ледовых процессов и выдача информации в картированном виде.
Ещё один эксперимент состоял в проверке возможности классификации политронной системой сейсмических сигналов, которая позволила бы создать тенденцию развития процесса перед событием. В работе обрабатывались магнитофонные записи сейсмических сигналов, примыкающих непосредственно к событию в Спитаке. Выводы по эксперименту: использование политронной системы, на вход которой подавался сейсмический сигнал, позволяет вычислить тенденцию развития события в будущем. Вероятность правильного распознавания зависит от сроков предсказания.
Система «DSN-2000» с оптическим блоком для регистрации очагов землетрясения
1. Система «DSN-2000» с оптическим блоком для регистрации очагов землетрясения
1.1. Прибор «DSN-2000»
Назначение
«DSN-2000» является электронно-квантовым прибором и предназначен для регистрации информационных полей различных объектов.
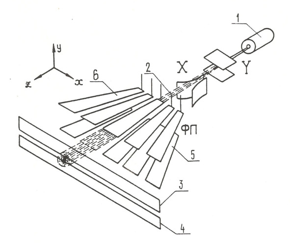
Основой «DSN-2000» является электроннолучевой прибор ПОЛИТРОН [1] с электрически управляемой характеристикой, освоенный на предприятиях ВПК в начале 70-х годов. На рис. 1 представлен внешний вид политрона, а на рис. 2 схематично показана его конструкция.

Рис.1 Внешний вид политрона
а – без защитного экрана.
b – с защитным экраном.

Рис.2. Упрощённая конструкция политрона
1 – электронная пушка;
2 – электронный пучок;
3, 4 – коллектора;
5, 6 – функциональные пластины (ФП).
Для упрощения рисунка изображены 5 пар ФП. В действительности у политрона имеются 10 пар ФП.
X, Y – отклоняющие пластины
Основной принцип работы политрона заключается в следующем:
С помощью электронной пушки 1 создаётся несфокусированный пучок электронов 2. Пучок с помощью отклоняющих пластин X и Y направляется в зону функциональных пластин (ФП) 5, 6 и попадает одновременно на две коллекторные пластины 3, 4. Коллекторные пластины имеют корытообразную форму, исключающую рассеяние электронов за пределы этих пластин, и являются мишенями/детекторами электронов. В процессе движения пучка возникает бомбардировка электронами как самих коллекторных пластин, так и ФП, расположенных в непосредственной близости от пучка электронов. В результате такой бомбардировки возникают вторичные явления, которые можно разделить на две части:
1) вторичная эмиссия – выбивание первичными электронами вторичных электронов;
2) отражение первичных электронов от поверхностей ФП одновременно под углами от 2 до 5°, происходящее в результате скользящего рассеяния.
По аналогии с оптикой (случай когерентного отражения пучка света от двух зеркал) эта ситуация приводит к появлению двух когерентных мнимых источников. Результат интерференции когерентных пучков от мнимых источников можно зарегистрировать в виде функции напряжения на коллекторах 3, 4.
Характерной особенностью интерференции является резкое усиление и избирательность информативных признаков сигналов, определяющих данное явление.
Именно это обстоятельство послужило основой для успешного использования политрона при решении многочисленных прикладных задач [2].
Экспериментальный блок с политроном
При проведении исследований с политроном удобно пользоваться специально разработанным блоком. Этот блок может быть использован в составе систем распознавания, диагностики, управления и т. д.

Экспериментальная установка ЭУП с двумя приборами ЛФ-9П
Блок содержит два прибора ЛФ-9П, делители напряжения и различные вспомогательные материалы. Схема разработана таким образом, что может быть использована совместно со стандартным блоком ВЭС-1 широко распространённой аналоговой вычислительной машины МН-7М. Кроме блока питания, эта машина может успешно использоваться для набора вспомогательных схем – блоков масштабирования, интеграторов, компараторов и т. п.
Для монтажа схем, подключаемых к функциональным пластинам, имеется специально встроенная панель, клеммы которой связаны со всеми функциональными пластинами.
Для контроля напряжения питания в блок встроен измерительный прибор, имеется возможность изменять сопротивление нагрузки на коллекторах от 1 кОм до 1 МОм.
Генератор пилообразного напряжения может быть подключён через специальные клеммы или может использоваться выход интегратора машины МН-7М.
Кроме того, в блок для проверки настройки и различных испытаний управляемым движением луча встроен специальный потенциометр.
Общие технические данные блока ЭУП:
1) напряжение источника питания – постоянное ±350 В ±0,1%, переменное 6,3±3 В, 50 Гц, мощность 100 Вт;
2) габариты – 498×397×199 мм;
3) масса – не более 18 кг.
Ставицкий А. И.Никитин А. Н.Политрон, Псилерон и Метатрон – влияние на случайные события
Политрон может использоваться для преобразования информации о детерминированных физических процессах, в том числе о реальных физических процессах, знания о которых ограничены, представленной сигналами случайного характера или их характеристики невозможно точно измерить, которые можно отнести к процессам случайного характера. Прибор может быть использован в устройствах формирования случайных сигналов в качестве нелинейного преобразователя, позволяет сформировать случайный сигнал с регулируемыми вероятностными характеристиками, преобразовать принятый случайный сигнал к случайному сигналу с заданными характеристиками. Это позволяет применять устройство при управлении сложными процессами и в имитационном моделировании.



