Водоснабжение, канализация и отопление загородного дома

- -
- 100%
- +
✓ совершенные – в таком колодце дно шахты достигает водоупорного пласта, а снабжение колодца водой происходит только через стенки шахты (Рис. 1.3).
Если снабжение несовершенного колодца водой происходит только через дно шахты (шахта опирается на водоносный слой), то такой колодец называют ключевым. Если шахта несовершенного колодца проникает в водоносный слой и колодец снабжается водой и через стенки, и через дно шахты, то такой колодец называют сборным.

Рис. 1.2. Несовершенный колодец

Рис. 1.3. Совершенный колодец
Для того чтобы увеличить запас воды в колодце, можно устроить зумпф (подствольник) – дополнительный резервуар в водоупорном пласте (Рис. 1.4). Через стенки зумпфа вода, естественно, в колодец не поступает, зато увеличивается общий объем резервуара и, соответственно, возрастает запас воды. Особенно актуально это в том случае, если дебит водоисточника не слишком велик и в часы наибольшего водопотребления источник не справляется с должным пополнением колодца водой.
Еще один вариант увеличения запаса воды в колодце – устройство шатра, то есть расширения подводной части колодезной шахты. Обычно если высота водоносного горизонта не превышает 3 м, то для увеличения запаса воды используется зумпф, а если высота водоносного горизонта более 3 м – шатер (Рис. 1.5).
Уровень водяного зеркала в колодце зависит от уровня зеркала водяного горизонта: в случае если водоносный горизонт не имеет подпора (безнапорный), то уровень водяного зеркала в колодце устанавливается на уровне зеркала водоносного горизонта (по закону сообщающихся сосудов), а если имеется подпор воды, то уровень водяного зеркала в колодце поднимается тем выше, чем больше подпор.

Рис. 1.4. Совершенный колодец с зумпфом
Планируя устройство колодца, необходимо учесть водопотребление вашего загородного дома. Вода – живая субстанция и, как все живое, имеет неприятное свойство приходить со временем в негодность. Попросту говоря, если воду из колодца не вычерпывать практически полностью (должен сохраняться постоянный уровень воды около 1 м), удовлетворяя ежесуточные потребности в воде, то оставшаяся в колодце вода начнет портиться, тухнуть, приобретать неприятный запах, в ней будут размножаться различные болезнетворные бактерии и микроорганизмы. Так что слишком полный воды колодец так же плох, как и недостаток воды – использовать протухшую воду нельзя. Именно поэтому колодцы, предназначенные для индивидуального использования (на одном участке), чаще всего делают несовершенными, при этом шахта заглубляется в водоносный слой не более чем на 1/3 его толщины, а снабжение колодца водой осуществляется через дно.

Рис. 1.5. Несовершенный колодец с шатром
Нередки ситуации, когда вода требуется в достаточно большом количестве (то есть необходим довольно большой дебит водоисточника), но нерегулярно (например, если загородный дом используется только в выходные дни). В результате вода в колодце застаивается, а вычерпывать каждый раз застоявшуюся воду – неблагодарный труд. Чтобы предотвратить застаивание воды в колодце, нужно оборудовать колодезную шахту трубой для вентиляции. Обычно для этого используются трубы диаметром 80–200 мм, металлические или пластиковые. Труба устанавливается таким образом, чтобы нижний конец ее отстоял от водяного зеркала на 15–20 см, а верхний конец возвышался над оголовком колодца на 1 м. Чтобы исключить проникновение в колодец насекомых, верхнее отверстие вентиляционной трубы закрывается мелкоячеистой сеткой и над трубой устраивается конусообразное навершие.
Для улучшения качества воды на дно колодца рекомендуется насыпать крупнозернистый песок (толщина песчаного слоя – около 0,2 м), затем слой щебня или гравия (толщина слоя гравия – около 0,25 м), а поверх гравийно-песчаной подушки уложить слой кремня. Кремень препятствует размножению бактерий и микроорганизмов, помогает воде дольше оставаться свежей. Водоносный слой может быть очень жидким, и обильный приток воды в колодец размывает фильтр, снижает его эффективность. В этом случае под креплением шахты устраивается дощатый пол, в котором просверливаются отверстия для притока воды, а песчано-гравийный фильтр располагается на этой опоре.
Из соображений качества воды не следует применять при строительстве колодца старые материалы, которые уже где-то «работали» (например, доски, служившие опалубкой).
Планируя устройство колодца, нужно обязательно учитывать существующие нормативы: расстояние от колодца до здания должно быть не менее 5 м, а от выгребных ям, канализационных труб, компостных куч и т. п. колодец должен располагаться на расстоянии не менее 10–20 м (чем дальше, тем лучше, наиболее предусмотрительные и заботящиеся о здоровье владельцы загородных домов предпочитают расстояние не менее 25 м). И даже если вам удалось оформить документы на источник водоснабжения с нарушениями, то задумайтесь по крайней мере о собственном здоровье и здоровье членов семьи.
Оптимально, если колодец будет располагаться на возвышении, в месте, которое не затопляется во время весеннего таяния снега и сильных дождей, чтобы гарантировать инфильтрацию колодца загрязненной водой с поверхности (Рис. 1.6).
Если вы собрались сооружать колодец самостоятельно, то необходимо принять некоторые меры предосторожности, чтобы в процессе работ не произошло неприятных неожиданностей, чреватых травмами. Если колодец будут сооружать специалисты, то соблюдение техники безопасности должны обеспечить они.
Так, шахта колодца должна быть снабжена ограждением, причем следует учитывать, что поблизости от шахты могут оказаться не только взрослые люди, но и дети и животные. Ограждение должно быть таким, чтобы никто не свалился в колодезную шахту. Для сооружения ограды можно использовать поставленные на ребро доски, которые располагаются на расстоянии 40–70 см от края шахты. Если колодец сооружают приглашенные специалисты, проверьте наличие и качество ограждения – в первую очередь ограждение требуется для вашей безопасности и безопасности вашей семьи.

Рис. 1.6. Расположение колодца: 1 – колодец; 2 – выгребная яма; 3 – поверхностный водоносный горизонт («верховодка»); 4 – водоупорный слой глины; 5 – защищенный водоносный горизонт
Площадка поблизости от шахты (2–3 м от устья) должна быть очищена и освобождена от различных тяжелых предметов, которые могут упасть в шахту.
Не используйте в качестве каната для бадьи с грунтом старые веревки: они порваться в самый ответственный момент. Канат должен быть максимально прочным, и его прочность следует проверять ежедневно перед началом работ (подобную проверку нужно производить не только утром, с началом работ, но и после обеденного перерыва) и после их окончания. Если глубина шахты составляет более 6 м, то необходимо использовать два каната – предохранительный канат является дополнительным гарантом безопасности работ.
Если при рытье шахты используется ворот, то он должен иметь вертикальный вал. Вороты с горизонтальным валом могут быть использованы только при рытье неглубоких (до 6 м) шахт. Ворот должен быть снабжен канатным тормозом и зубчатым остановом.
Если при рытье шахты используется механический подъемник, то в приводе допустимо применение только червячных редукторов с эффектом самоторможения. При этом на первичный вал редуктора требуется установить тормоз, чтобы уменьшить инерционный выбег механизма – в качестве еще одной меры предосторожности в дополнение к эффекту самоторможения червячного редуктора. Помните, что предосторожность никогда не бывает лишней!
Если в колодезной шахте работают люди, то их необходимо предупреждать каждый раз, когда в шахту что-либо опускается (не стоит без предупреждения бросать в шахту даже мелкие предметы – маленький камушек или карандаш точно так же могут повредить, например, глаз, как и большой булыжник).
В шахте можно работать только в касках – чтобы исключить травматизм при случайном падении в шахту каких-либо предметов.
Деревянный колодец
Деревянные колодцы сейчас строятся довольно редко: все дело в высокой цене на качественную древесину, которая требуется для их сооружения. К тому же далеко не каждая порода дерева подходит для использования: большая часть не выдерживает длительного контакта с водой, быстро гниет или придает воде неприятный привкус. Следует учитывать, что вкус колодезной воды во многом определяется древесиной, из которой изготовлен сруб колодца. Поэтому к выбору древесины – не только по качественным показателям, но и породы – следует подходить очень внимательно и не пытаться сэкономить, приобретая древесину «второй свежести».
Лучшим материалом для изготовления срубов деревянных колодцев считается дуб – его минимальный срок службы как в надводной, так и в подводной части составляет 25 лет, а в подводной части он может прослужить и больше столетия. Для увеличения срока службы колодца используют мореный дуб – для этого древесину сушат (естественная сушка не менее полугода), затем изготавливается и собирается колодезный сруб, все детали сруба маркируются, сруб разбирается, и его части укладываются в проточную воду на два года. Прошедший подобную обработку дубовый сруб – самый надежный и долговечный.
Наравне с дубом для изготовления колодезных срубов используется граб. Еще допустимо использовать для подводной и надводной части колодца вяз, ольху, лиственницу, березу, вербу, но срок службы этой древесины существенно ниже (10–20 лет в подводной части, а березы и вербы и вообще 5–10 лет).
Сосна пользуется популярностью из-за дешевизны и легкости обработки, но подходит только для сооружения надводной части колодца, постоянного контакта с водой эта древесина не выдерживает.
Древесину других пород применять не рекомендуется, особенно для изготовления подводной части колодца: несмотря на то что существуют древесные породы, которые могут так же, как и дуб, долговременно выдерживать без гниения и разрушения контакт с водой, они придают воде неприятный вкус и запах (например, есть удивительно водостойкие и долговечные тропические породы древесины, которые выделяют эфирные масла, и вода приобретает соответствующий аромат, вкус и не слишком полезные свойства, а отечественные осина и пихта придают воде горьковатый привкус). Оптимальный выбор: дуб для подводной части и сосна для надводной – лучшее соотношение «цена/качество».
Не допускается применять для строительства колодцев древесину, имеющую какие-либо пороки. Требования к лесу строги: не сухостойный, здоровый, прямой, отсутствие трухлявости, грибка, червоточин, плесени и других пороков. Применение не слишком качественной древесины для строительства колодцев – это не только сокращение срока их службы, но и отрицательное воздействие на здоровье (не всякую воду можно не только пить, но даже использовать для полива растений, особенно тех, которые употребляются в пищу).
Традиционные деревянные колодцы строятся из целых бревен (диаметром 150–200 мм), но теперь для строительства начали использовать и брус (150 × 150 мм), и пластины (распущенные вдоль бревна диаметром 200–220 мм) (Рис. 1.7). При сооружении сруба колодца из пластин плоская сторона обращается внутрь колодца (Рис. 1.8).

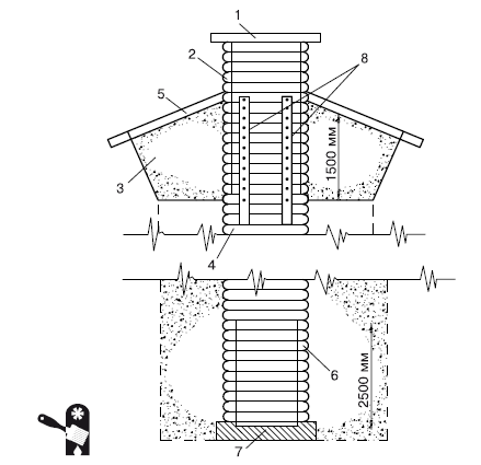
Рис. 1.7. Деревянный колодец с зумпфом: 1 – колодезная крышка; 2 – оголовок; 3 – насыпь под отмостку; 4 – венцы; 5 – отмостка; 6 – водоприемная часть; 7 – зумпф; 8 – вертикальные доски для фиксации венцов
Дерево должно быть тщательно просушено. Когда древесина намокает (что, естественно, и происходит в колодезной шахте), она разбухает и, таким образом, уплотняются пазы и угловые соединения. Если же использовать не абсолютно сухую древесину, а влажную, то нужная степень разбухания не будет достигнута и пазы и угловые соединения останутся неуплотненными. Данное требование очень важно, ведь использовать при сооружении колодезного сруба какие-либо уплотняющие и изоляционные материалы (например, пеньку, которой конопатят пазы при строительстве бревенчатых домов) категорически запрещается – подобные материалы не выдерживают повышенной влажности, в них быстро развивается гниль, а это делает воду в колодце непригодной для использования.

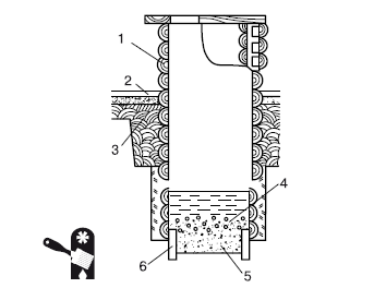
Рис. 1.8. Сруб из деревянных пластин: 1 – колодезный сруб; 2 – отмостка; 3 – глиняный замок; 4 – щебень; 5 – песок; 6 – короб для песчано-гравийного фильтра

Внимание
Ни в коем случае нельзя использовать для сооружения колодезного сруба древесину, прошедшую какую-либо химическую обработку: против возгорания, появления гнили, грибков и т. д. – вода из такого колодца непригодна для использования.
Все поверхности древесины, которые будут обращены внутрь колодца и будут иметь постоянный контакт с водой или находиться в условиях повышенной влажности, должны быть тщательно обработаны до гладкости. Не допускаются сколы, заусенцы, шероховатости, отщепления, другие дефекты – любая неровность поверхности приводит к скапливанию воды и грязи и, как следствие, к ускорению гниения древесины, а также к снижению качества воды.
Обычно деревянные колодцы имеют в сечении квадратную форму – соединение бревен под прямым углом является наиболее прочным и плотным. Чаще всего стороны колодца выбираются длиной 1 м, но бывает, что и больше и меньше – от 70 см до 1,4 м.
Соединение бревен в углах выполняется так же, как при строительстве домов, – «в лапу» либо «в чашу». Соединение «в чашу» применяется редко, так как при этом могут оставаться свободные концы бревен, выходящие за пределы стен. Это соединение используется только в том случае, если колодец сооружается не опускным способом (при опускании колодезного сруба в шахту выступающие концы бревен не только замедляют и затрудняют работу, но и могут привести к развалу сруба).
Следует заметить, что сооружение колодезного сруба из бревен – работа нелегкая, требующая определенного (и немалого) мастерства и навыков. Небольшая ошибка в том же соединении бревен – и окажется, что вся работа была напрасной, а колодец непригоден для использования из-за просачивания грунтовых вод. Проще изготавливать сруб не из бревен, а из пластин или брусьев, также можно применять толстые доски. Угловые соединения сруба из пластин, брусьев или досок выполняются так же, как и в срубе из бревен (Рис. 1.9).
Первая сборка сруба осуществляется на поверхности, при этом каждый его венец маркируется для последующего монтажа в подготовленной шахте.
Самый простой вариант – это если колодец неглубок (до 6 м) и шахта может быть сразу отрыта на нужную глубину. В этом случае подготовленный сруб просто монтируется в готовом котловане – так называемое возведение сруба со дна колодезной шахты. При этом пазы между венцами сруба должны быть заполнены жирной глиной – это предотвращает просачивание воды. Чаще всего сруб таким образом возводится на раме-основании, которая укрепляется на дне шахты. Возможен также вариант с монтажом пола: сначала на дне шахты размещаются лежни (распиленные вдоль бревна), которые служат основанием пола, а затем монтируется сруб.

а

б
Рис. 1.9. Варианты соединения углов сруба: а – соединение в простую «лапу»; б – соединение в косую «лапу»
Гораздо сложнее, если сруб нужно опускать в шахту и при этом котлован под ним приходится углублять – это опускное крепление с наращиванием сруба сверху по мере погружения. Такая работа тяжелая и непростая, требующая участия минимум двоих человек – один работает на поверхности, а второй в котловане (а когда котлован подходит к водоносному горизонту и приходится поднимать мокрый тяжелый грунт, то и больше).
Хорошо, если колодец относительно неглубок, а грунт плотный – в этом случае можно осуществлять опускное крепление с наращиванием сруба сверху, опуская его на веревках. Над шахтой устанавливается рама из бревен, сруб подвешивается к раме в шахте на небольшой высоте от дна (от 0,5 до 1 м), при этом веревки подводятся серединой под углы сруба, а затем закрепляются на бревнах рамы несколькими витками (не менее 5 штук), грунт выбирается из-под него, а при ослаблении веревок сруб постепенно опускается в шахту. В процессе опускания необходимо производить проверку вертикальности: поскольку между срубом и стенками шахты имеется зазор, то можно перемещать сруб, наклонять его, чтобы соблюсти строгую вертикальность в его размещении в колодезной шахте (Рис. 1.10).

Рис. 1.10. Опускание сруба в шахту колодца на веревках: 1 – шахта колодца; 2 – рама из бревен; 3 – сруб; 4 – веревки
Если же колодец глубок, то работы усложняются. В этом случае нельзя применять опускание сруба на веревках. Сначала шахта углубляется в грунт на 3–4 м, дно ее выравнивается (выравнивание должно быть абсолютно строгим, в противном случае колодезный сруб окажется перекошенным) и на нем начинается монтаж сруба. Сруб монтируется до тех пор, пока не достигнет высоты 0,5 м выше уровня грунта (для бревенчатого сруба это три венца). При наращивании сруба венцы скрепляются между собой досками, которые удаляются после того, как сруб готов, – доски служат временным креплением, предотвращающим отрыв венцов друг от друга по мере наращивания сруба. Затем подрывается грунт в середине каждой стены (глубина – около 0,2–0,3 м) и стены подклиниваются. Только после этого производится выемка грунта в углах сруба.
Для облегчения выемки грунта из глубокой шахты можно установить специальную опору с лебедкой. При этом один человек работает в шахте, загружая грунт в тару (в ведро или бочку), а второй (или двое – в зависимости от веса поднимаемого на поверхность грунта) работает наверху (Рис. 1.11).

Рис. 1.11. Опорная вышка для подъема грунта из глубокой шахты
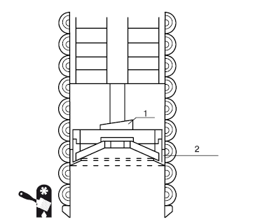
После того как грунт извлечен, клинья, подпирающие стены сруба, убираются и сруб равномерно осаживается на отрытую глубину, равномерность осаживания контролируется с помощью отвеса. Для того чтобы облегчить осаживание сруба в шахту, его дно можно снабдить башмаком с режущим стальным ножом (Рис. 1.12).

Рис. 1.12. Башмак в нижней части сруба: 1 – клин; 2 – башмак
Чтобы гарантировать строго вертикальный ход сруба в колодезной шахте, можно применять специальные направляющие (Рис. 1.13). Угловые направляющие изготавливаются из толстых досок и крепятся гвоздями к каждому венцу сруба. Посередине каждой стороны сруба устанавливаются дополнительные средние направляющие, также изготовленные из толстых досок и прикрепленные гвоздями к каждому венцу сруба. Средние направляющие придают всей конструкции дополнительную жесткость, что позволяет сохранять строгую вертикальность при опускании сруба. После того как все направляющие установлены, к ним вплотную укладываются толстые бревна, а в углы вбиваются длинные колья. Подобная конструкция гарантирует, что сруб будет идти в шахту без перекосов.

Рис. 1.13. Направляющие для гарантии вертикального осаживания сруба в колодезной шахте: 1 – угловые направляющие; 2 – дополнительная средняя направляющая; 3 – бревна; 4 – колья

Примечание
Конструкция направляющих после завершения работ из шахты не извлекается, а остается в грунте.
При рыхлом и сыпучем грунте могут возникать проблемы при осаживании сруба колодца в шахту – он застревает. В этом случае приходится ударять по верхнему венцу, чтобы миновать проблемное место. Это не всегда помогает, и, чтобы продолжить осаживание сруба, приходится сооружать на верхнем венце платформу для груза. Масса груза может составлять несколько тонн, и под таким весом сруб оседает. Но бывает, что и такое давление не дает результата, и тогда сооружение колодца выполняется самым сложным и непроизводительным способом – наращиванием сруба снизу. При этом в стенках шахты необходимо устраивать углубления для закладывания концов бревен (эти углубления называются «закладами» или «печурами»), выступающих за габариты сруба на 50–70 мм, – для наращивания сруба снизу через каждые 4–5 венцов делается венец, имеющий такие выступающие бревна («пальцы»). «Пальцы» поджимаются в углублениях домкратами и подклиниваются. Подобный способ применим только в том случае, если грунт достаточно плотный. В рыхлых грунтах и плывунах наращивание сруба снизу невозможно, так как нельзя надежно закрепить «пальцы» в грунте. Поэтому прежде чем браться за строительство деревянного колодца, необходимо определить, с каким грунтом придется иметь дело, и, исходя из этого, выбирать способ монтажа сруба в шахте колодца.
После того как закончены работы в шахте, сруб наращивается над поверхностью земли на 0,6–0,8 м. Эта надземная конструкция называется оголовком колодца (Рис. 1.14). Оптимально, если он снабжен крышкой или навесом, чтобы исключить попадание в колодец мусора.

Рис. 1.14. Оголовок колодца и способы подъема воды

Внимание
Если вода в колодце предназначена для питья, то крышка обязательна!
Вокруг оголовка сооружается отмостка. Ее строительство рекомендуется начинать не ранее чем через два года после завершения строительства колодца – из-за возможной усадки грунта. После того как грунт осядет, по периметру оголовка устраивается глиняный замок глубиной 1–1,5 м и шириной около 0,5 м, а поверх замка строится отмостка. Проще всего и надежнее соорудить отмостку из железобетона.
Конец ознакомительного фрагмента.
Текст предоставлен ООО «ЛитРес».
Прочитайте эту книгу целиком, купив полную легальную версию на ЛитРес.
Безопасно оплатить книгу можно банковской картой Visa, MasterCard, Maestro, со счета мобильного телефона, с платежного терминала, в салоне МТС или Связной, через PayPal, WebMoney, Яндекс.Деньги, QIWI Кошелек, бонусными картами или другим удобным Вам способом.
Примечания
1
На основе СНиП 2.04.01–85* «Внутренний водопровод и канализация зданий. Системы внутреннего холодного и горячего водоснабжения».
2
По материалам http://rosingstroy.ru/.
3
По материалам http://www.vodavsegda.ru/.
4
По материалам http://alma-ata.ucoz.ru/.










