Как вырастить бройлеров и пекинских уток на даче за лето. Для работающих дачников

- -
- 100%
- +

От автора
Для содержания цыплят бройлеров и утят как оказалось совсем не нужно каких-то необычных условий. Если подготовить клетки, кормушки, поилки специального образца то можно за летний сезон на даче получить 50-150 килограмм тушек птицы без особых затрат. Но это если все подготовить. Если этого не сделать, то получится не радость, а мучение. Вот о том, как все это сделать я рассказываю в этой книге. Это мой личный опыт. Это результат нескольких лет поисков решения задач по содержанию этих птиц на даче, когда бываешь там один раз в неделю Это ключевой момент. Я считаю, что мой опыт по выращиванию, цыплят бройлеров и утят может взять на вооружение каждый, и каждый обеспечит свою семью мясом птицы на целый год.
Я благодарен своим близким за терпение и понимание, за помощь в создании этой книги. Спасибо моей супруге Тамаре, дочерям Александре и Екатерине.
При выращивании сельскохозяйственной птицы обязательно соблюдайте санитарные требования по содержанию птицы. Эти меры помогут вырастить здоровых птиц и не заразить потребителей вашей продукции опасными для здоровья болезнями.
В своих предыдущих книгах я рассказал как просто и удобно можно содержать простых куриц и перепелов. Книги “Как вырастить 52 курицы и получить 1560 яиц за лето на даче. Для работающих дачников” Максимова А. О., книга “Содержание перепелов на даче и в квартире” Максимова Е. О..
К сожалению, дачники не используют свои площади для содержания бройлеров и пекинских уток, а ведь это выгодно и совсем просто. Я расскажу о своем опыте содержания цыплят бройлеров и пекинских уток на даче для получения мяса.
Во-первых, нужно отбросить мифы о том, что это очень сложно и потребует много времени. Что это не выгодно. Что для содержания уток нужен водоем. Что для их содержания требуются особые условия. Что для содержания птицы нужно жить на даче, а не работать. Ничего этого не нужно.
Я поселил утят в клетки, и они прекрасно там живут. Пекинских уток держат всего два месяца. Бройлеров тоже держат два месяца. За это время утки набирают вес около двух килограмм. Бройлеры тоже набирают вес два килограмма. Я ДЕРЖУ ВСЕХ ПТИЦ В КЛЕТКАХ. Это экономно и не требуется много площади. В помещении 5-10 квадратных метров можно вырастить 50-60 птиц и даже больше. Это примерно 100-120 килограмм тушек, ощипанных и выпотрошенных. Об этом я расскажу в этой книге. Для того чтобы держать уток и бройлеров жить на даче не надо. Просто нужно подготовить нужное оборудование. И никаких проблем не будет. Птицы прекрасно обходятся без человека, но так как они живут в клетках, требуется создать условия для их комфортной жизни.
Содержание бройлеров и утят
Экономический расчет
Так как бройлеры и пекинские утки набирают вес 2 кг за два месяца, то можно использовать поточный метод выращивания этих птиц. 1 мая купить 10 суточных цыплят или утят. Поместить малышей в брудер (брудер это ящик с подогревом оборудованный кормушкой и поилкой). 15 мая, то есть через две недели их можно перевести в клетки. Ещё через две недели 1 июня купить ещё 10 птенцов. Так как брудер свободен, помещаем новых птенцов в него. 15 июня переводим новых птиц в клетку. Занято две клетки. 1 июля первых птиц забиваем. Получаем 20 кг тушек. Покупаем 1 июля 10 птенцов. 15 июля переводим их в клетку.1 августа забиваем второй поток. Это ещё 20 кг тушек. Покупаем 10 птенцов. Помещаем их в брудер. 1 октября, это когда закроется дачный сезон, получим 4х20=80 кг тушек великолепного птичьего мяса. Если перевести на деньги получим. Утка стоит 300 рублей килограмм 300х80=24000 рублей. Бройлеры это 150х80=12000 рублей. Это на даче почти не затрачивая труда, между делом. Но нужно заранее все подготовить. Утепленное помещение. Брудер. Клетки. Поилки. Кормушки. И конечно заготовить корм. Если этого не сделать, то получится одно мучение, а не удовольствие от этой затеи. Ну и конечно морозильную камеру, где можно сохранить тушки птиц.
Клетку я изготовил такую же, как клетка для содержания несушек, только эта клетка без яйцеприемника (книга “Как вырастить 52 курицы и получить 1560 яиц за лето на даче. Для работающих дачников”).
Содержание утят на мясо
Из дневника
В начале июля купил на рынке шесть пекинских утят. Желтенькие красавчики, пушистые и шустрые. Продавец посадил их в картонную коробку, положил немного сена, и поехали они ко мне на дачу. Два дня утята жили в коробке в моей комнате, а затем я их посадил в металлическую клетку, предназначенную для кур-несушек. Установил кормушку, поилку, а на сетку пола положил немного картона, чтобы утятам было немного теплее. Утята едят корм для цыплят, траву, пьют воду. Проблем нет. Не надо бассейнов для плавания и прочего ненужного устройства. Едят хорошо и шустрые.
Неделю спустя, позавчера поехал на рынок за дробленой пшеницей. Купил ведро “дробленки”. Заглянул ради интереса на ряды с живностью и увидел того продавца который прошлый раз продал мне шестерых утят. Полюбовался утятками, поговорил с хозяином. Подумал-подумал и взял еще пятерых пекинских утят. По прибытии на дачу посадил новых жильцов к прежним утятам. Уни не враждовали, а сразу взялись уплетать корм. Была жара. На следующее утро обнаружил, что поилка пуста. Старые утята вместе с новыми утятами, намного быстрее выпили воду. Пришлось срочно сооружать новую поилку на больший объем. Изготовил ее из пластиковой канистры для воды, пластикового шланга и поилки купленной в магазине товаров для фермеров. Получилась не плохая поилка с запасом воды в 10 литров.
Ёмкость для поилки должна быть такой величины, чтобы воды хватило на все время вашего отсутствия.
Клетки для содержания утят и выращивания цыплят бройлеров на мясо
Размер 101 см на 40-50 см на 40-50 см (клетка простая, удобная, долговечная, почти даром)
Клетки для содержания утят и цыплят бройлеров на мясо можно изготовить из различных металлических пластин, металлической сетки и проволоки, которые можно найти выброшенными. После создания нескольких вариантов клеток я пришел к конструкции наиболее удобной для содержания своих птиц и совсем дешевой (в магазине подобная клетка стоит 7000 рублей).
Получилась довольно удачная конструкция, простая и дешевая. Такую клетку несложно изготовить самостоятельно. Длина клетки 1010 мм (длина 1010 мм потому что сетка выпускается заводом в рулоне, ширина сетки 1000 мм), глубина 400-500 мм, высота 400-500 мм.
Низ клетки это металлическая сетка с ячейкой 10-20 мм (лучше 20 мм). Задняя стенка 1010 мм на 400-500 мм изготовлена из металлической пластины (оцинкованное железо) или крупной сетки с ячейкой 40 мм на 40 мм. Боковые стенки это ограждение из вертикальных стоек (проволока диаметром 5 мм), Передняя стенка это ограждение из вертикальных стоек (проволока диаметром 5 мм). Клетка стоит на платформе с ножками высотой 150 мм. Под клеткой находится поддон для сбора отходов жизнедеятельности птиц. Платформа с клеткой устанавливаются на полочку. Полочка крепится с одной стороны на стену, а со второй стороны на две стойки.
В каждой клетке можно содержать 10 утят или цыплят бройлеров в начале откорма. Затем следует рассадить птиц по пять голов в каждую клетку.
У меня 6 клеток. Клетки собраны в этажерки по две клетки. Клетки расположены друг над другом.
У переднего ограждения устанавливаются две поилки, кормушки для мешанки, овощей, травы и прочего. Справа у бокового ограждения кормушка для сухого сыпучего корма – бункерная кормушка.

К задней стенке с боков прикрепляем уголки или пластины. Уголки или пластины можно изготовить из оцинкованной жести длиной 500 мм и шириной 50-80 мм. По всей длине с одной стороны загибаем края на 10 мм (500 мм). Загнуть края можно молотком на стальном уголке. Это делается для того чтобы курочки не поранились. Все крепления производятся винтами и гайками диаметром 3-4 мм. Изготавливаем петли из жести и крепим пластины (уголки) к задней стенке. Если задняя стенка изготовлена из листа жести, то боковые вертикальные пластины можно прикрепить непосредственно к ней винтами или к загнутым краям самой задней стенки. А если возможно заднюю пластину изготовить длиной 1090 мм, то можно загнуть края на 5 мм каждый и по всей длине на 180 градусов, а затем загнуть на ширину 35 мм на 90 градусов. Края вертикальных боковых пластин со стороны задней стенки можно загнуть под углом 90 градусов.

Если заднюю стенку делаем из сетки, то с боков к сетке крепим вертикально пластины.

Петля изготавливается из оцинкованной жести. Рис 4. Для изготовления петли сначала вырезаем пластинку из жести
размером 15 мм на 50 мм. Обрабатываем края и углы наждаком или напильником. Сгибаем посередине пластину, вставляем стержень такой же толщины как толщина проволоки сетки, к которой будет крепиться петля. Обжимаем пластину пассатижами. Вынимаем стержень, намечаем керном отверстие и сверлим диаметром 4 мм под винт М 4.

Рис 4. Изготовление петли

Правая задняя вертикальная боковая пластина.
Крепим пластину к сетке не загнутым краем с помощью петель. Рис 5. Крепление задней боковой пластины к задней стенке (сетке).

Передняя стенка клетки для птиц
Передняя стенка должна быть такого же размера как задняя стенка. В нашем случае это 1010 мм на 500 мм.
В первую очередь изготавливаем передние боковые уголки.
Передние боковые уголки изготавливаем из жести. Длина 500 мм и ширина пластины 60-100 мм. Края по длине нужно загнуть на 5-10 мм на 180 градусов, для того чтобы птицы не поранились. Изгибаем посередине на 90 градусов по всей длине. Рис 7

Изготавливаем верхнюю и нижнюю передние пластины.
Они почти одинаковы. С одной стороны по длине загибаем край на 1 см под углом 180 градусов, и еще раз загибаем этот край, но на 90 градусов. В отогнутых под 90 градусов краях размечаем и сверлим отверстия сверлом 5 мм под стойки из проволоки. Рис 8. Размечаем центры отверстий через 50 мм. Сверлим отверстия в верхней пластине и нижней так чтобы они совпадали.

К передним боковым уголкам крепим винтами верхнюю и нижнюю передние пластины. Эти пластины по длине меньше чем 1000 мм. Рис 6.
Изготавливаем стойки ограждения из проволоки.
Выправляем и очищаем проволоку диаметром 5 мм. Режим проволоку нужной длины болгаркой или ножовкой по металлу. Зажав в тиски, ударом молотка загибаем конец проволоки длиной 10-20 мм на угол 90 градусов. Длина стойки должна быть такой, чтобы нижний её конец был больше расстояния между верхней пластиной и нижней пластиной. Выправляем стойки по всей длине и зачищаем концы. Рис 9.

Изготавливаем боковые верхнюю и нижнюю пластины так же как передние верхние и нижние пластины. Длина боковых верхних и нижних пластин зависит от ширины сетки для пола и верха клетки. Их длина меньше 500 мм.
Стойки бокового ограждения такие же, как передние.
Длина передней стенки 1010 мм. Когда передняя стенка собрана, крепим боковые верхние и нижние пластины к передней стенке и задней стенке. Не забываем о ширине сетки для пола и верха клетки.
Теперь можно приступить к установке сетчатого пола клетки. Надеваем петли на сетку у задней стенки, сверлим отверстия и крепим сетку к задней стенке винтами М 4. Сетка пола крепится к нижним боковым пластинам и к передней пластине так же.
Петлю одеваем на проволоку, из которой изготовлена сетка. Затем закрепляем петлю струбциной к пластине. Сверлим отверстие в пластине. Петлю крепим винтами к пластине. Рис 10.

Верхняя и нижняя сетки крепятся к пластинам.
Верхняя сетка крепится к верхним пластинам с помощью петель.
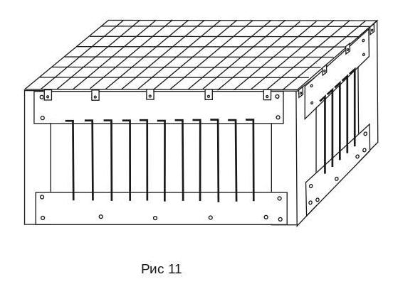
Когда верхняя и нижняя сетки закреплены, вставляем в отверстия проволочные стойки ограждения. Рис 11.


Рис 12. Стойки ограждения вставлены. Боковая правая стенка.
Для того чтобы стойки не вышли из отверстий сверху закрепляем уголок или деревянный брусок. Рис 13.

Для доступа внутрь клетки несколько стоек сверху крепятся коротким уголком, который можно легко снять.
Конец ознакомительного фрагмента.
Текст предоставлен ООО «ЛитРес».
Прочитайте эту книгу целиком, купив полную легальную версию на ЛитРес.
Безопасно оплатить книгу можно банковской картой Visa, MasterCard, Maestro, со счета мобильного телефона, с платежного терминала, в салоне МТС или Связной, через PayPal, WebMoney, Яндекс.Деньги, QIWI Кошелек, бонусными картами или другим удобным Вам способом.



