108 минут, изменившие мир

- -
- 100%
- +
Удачные запуски вдохновили конструкторов, однако выявили очередную группу проблем. Стало ясно, что с помощью гироскопов необходимо не только корректировать отклонение ракеты от оси полета, но и пресекать малейшие колебания по всем трем осям: по курсу, крену и тангажу[42].
Рассмотрели несколько вариантов стабилизации ракеты. К примеру, предлагалось установить крылья – то есть фактически шла речь о создании крылатой ракеты или ракетоплана. Однако исследования показывали, что на начальном участке траектории, когда скорость еще низка, крылья неэффективны, а на больших высотах их использование вообще теряет смысл.

Расположение газовых рулей в хвостовой части ракеты: 1 – сопло двигателя; 2 – газовый руль; 3 – ось поворота руля
Решение проблемы нашли в применении газовых рулей. К тому времени было уже известно, что если воздушный поток крайне изменчив, то струя истекающих из ракеты газов постоянна по своим характеристикам. Это навело на мысль, что поверхности управления можно установить прямо в «выхлопе». Первым такой вариант описал еще Константин Циолковский, за ним идею высказал Герман Оберт. Последний особенно подчеркивал, что газовые рули должны управлять ракетой путем сжатия истекающей струи своими плоскими поверхностями.
В итоге конструкторской работы появилась ракета «А-3». Ее носовая часть была заполнена батареями. Под ними размещался приборный отсек с барографом и термографом; там же установили миниатюрную кинокамеру, снимавшую в полете их показания. Имелось аварийное устройство отсечки топлива, действовавшее с помощью сигнала по радио. Ниже отсека с приборами был расположен бак с кислородом, затем шел отсек с парашютом, потом бак с этиловым спиртом и, наконец, ракетный двигатель. В составе оборудования «А-3» имелась гиростабилизированная платформа с акселерометрами для корректирования ракеты в полете по тангажу и по курсу, но главное – электрические сервомоторы и молибденовые газовые рули.
Территория испытательной станции в Куммерсдорфе оказалась мала для обеспечения масштабных работ. Необходимо было сменить место, и после недолгих поисков Вернер фон Браун нашел его. Новый ракетный центр решили возвести на балтийском острове Узедом, расположенном в устье реки Пене, близ рыбацкого поселка Пенемюнде. На разработку ракетного оружия из бюджета Германии было выделено 20 млн рейхсмарок.
Хотя новая станция и получила название Армейская испытательная станция Пенемюнде, ее равноправными хозяевами стали армия и ВВС. При этом армейцам отводилась лесистая часть острова восточнее озера Кельпин – ее назвали «Пенемюнде-Восток». Представители ВВС облюбовали себе пологий участок местности к северу от озера, где можно было соорудить аэродром; эта зона получила название «Пенемюнде-Запад».
Строительство на острове Узедом велось с размахом: посреди дикой местности вырастали здания цехов, станции серийных испытаний, экспериментальной лаборатории, завода по производству жидкого кислорода, электростанции. На северной стороне острова укладывались плиты аэродромного покрытия, сооружались стартовые площадки, стенды. Южнее располагался городок научно-технического персонала. Несколько в отдалении собирались бараки для рабочих. Через остров проложили железные и шоссейные дороги.

Снимок стартового стола в Пенемюнде, сделанный с британского самолета-разведчика 23 июля 1943 года
Запуски четырех ракет «А-3» были проведены в декабре 1937 года. Хотя двигательная установка отработала как надо, система наведения и стабилизации не оправдала возлагавшихся на нее надежд. Газовые рули «А-3» оказались слишком малы, а реакция сервосистемы на сигнал управления запаздывала. Требовалось вновь пересмотреть всю концепцию.
В компоновке нового варианта большой ракеты, получившей обозначение «А-5», использовался двигатель ракеты «А-3», но снабженный большими газовыми рулями из графита. Кроме того, ракете была придана более совершенная обтекаемая форма с хвостовым оперением в виде четырех стабилизаторов – форму отработали в аэродинамической трубе, а также сбрасывая модели с самолетов. Но что важнее всего – на «А-5» установили самую современную систему управления. Запуски «А-5» начались осенью 1938 года, но только через год, когда уже шла война с Польшей, эта ракета стартовала с полным оборудованием и безупречно поднялась на высоту 12 км. Всего состоялось 25 пусков ракет «А-5»: сначала они стартовали вертикально, затем – по наклонной траектории. Конструкторы могли вздохнуть с облегчением: полеты «А-5» подтвердили правильность выбранных решений.
Уже в то время, когда ракета «А-3» находилась на стадии проектирования (лето 1936 года), Вернер фон Браун и Вальтер Ридель задумали построить ракету, которая в дальнейшем стала известна как «А-4». Она должна была доставить боевую часть весом в 1000 кг на расстояние в 260 км. По этим данным можно спроектировать большое количество совершенно разных ракет, но выбор габаритов определился элементарным соображением: требовалось доставить новое оружие вплотную к линии фронта, а следовательно, максимально допустимые габариты диктовались шириной туннелей и кривизной закруглений железнодорожной колеи. Для такой ракеты требовался новый мощный двигатель, и за его разработку взялся талантливый конструктор Вальтер Тиль. Он не только сумел улучшить конструкцию, предложенную Риделем, но и добился полного и равномерного сгорания топлива, использовав специальные центробежные форсунки.

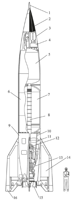
Схема баллистической ракеты «А-4/V-2» (рисунок А. Шлядинского): 1 – наконечник с головным взрывателем; 2 – боевая часть; 3 – приборный отсек; 4 – приборы системы управления; 5 – бак горючего; 6 – топливный отсек; 7 – бак окислителя; 8 – тоннель трубопровода горючего; 9 – хвостовой отсек; 10 – рама ракетного двигателя; 11 – бак перекиси водорода; 12 – турбонасосный агрегат; 13 – камера сгорания и сопло; 14 – стабилизаторы; 15 – газовые рули; 16 – воздушные рули
В двигателе «А-4» были применены и другие технологические новшества: пленочное охлаждение, сварные стенки камеры сгорания.
Ракета «А-4» имела общую длину 14,3 м и стартовый вес 12,7 т и состояла из четырех отсеков. Носовая часть представляла собой боевую головку массой 1 т. Ниже находился приборный отсек, в котором наряду с аппаратурой помещались стальные цилиндры со сжатым азотом, используемым для повышения давления (вытеснения) в баке с горючим. Ниже приборного располагался топливный отсек – самая объемистая и тяжелая часть ракеты. Бак с этиловым спиртом располагался в верхней части этого отсека. Из него через центр бака с кислородом проходил трубопровод, подававший горючее в камеру сгорания. Самой важной новинкой в «А-4» по сравнению с другими ракетами было наличие турбонасосного агрегата для подачи компонентов топлива к форсункам двигателя.

Принцип работы двигателя «Овен» ракеты «А-4»
В 1940 году ракетный центр Пенемюнде вдруг оказался на «голодном пайке»: начавшаяся война жадно поглощала ресурсы, и финансирование резко снизилось. Но все же к лету 1942 года ракетчикам удалось выпустить опытные образцы «А-4».
Первый экспериментальный запуск новой большой ракеты состоялся 13 июня 1942 года в присутствии министра вооружений Альберта Шпеера и фельдмаршала Эрхарда Мильха. Зрелище было столь эффектным, что и через двадцать пять лет Шпеер вспоминал о нем с благоговением: «В пусковую секунду, сначала как бы нехотя, а затем с нарастающим рокотом рвущего оковы гиганта, ракета медленно отделилась от основания, на какую-то долю секунды, казалось, замерла на огненном столбе, чтобы затем с протяжным воем скрыться в низких облаках. Лицо Вернера фон Брауна сияло от счастья. Я же был просто потрясен этим техническим чудом – опровержением на моих глазах привычного закона тяготения: без всякой механической тяги вертикально в небо вознеслись тринадцать тонн груза!..»
Однако столь эффектный взлет завершился провалом – двигатель ракеты отработал 36 секунд, после чего она рухнула на землю в 1,3 км от старта. Второй запуск состоялся только через два месяца, ракета поднялась на 11 км, но в полете разрушилась головная часть.
Успех сопутствовал лишь третьей ракете «А-4» – ясным днем 3 октября 1942 года она преодолела расстояние в 190 км. Радости конструкторов не было предела, однако следующие запуски вновь принесли разочарование. Большая ракета еще требовала доводки.
Семнадцатого февраля 1943 года работники Пенемюнде запустили «А-4» вертикально вверх, чтобы узнать ее «потолок». Ракета достигла высоты 192 км, преодолев таким образом условную границу космоса. На корпусе этой ракеты техники нарисовали голую красотку, сидящую на лунном серпе, – в память о фантастическом фильме Фрица Ланга «Женщина на Луне».
Немецкие ракетчики оставались энтузиастами освоения Вселенной, они часто обсуждали возможность создания искусственных спутников Земли и пилотируемых космических кораблей. Вернер фон Браун налаживал контакты с метеорологами и астрономами, чтобы начать научные исследования с помощью ракет. (например, на «А-4» устанавливали регистрирующую аппаратуру Эриха Регенера). Однако эта деятельность была запрещена на высшем уровне – ракетчиков чуть не обвинили в государственной измене и саботаже.

Старт ракеты «А-4» на полигоне Пенемюнде
Еще весной 1942 года английская агентура в Германии получила информацию, что Пенемюнде является важнейшим военным объектом. Информация требовала проверки, и командование стало посылать разведывательные самолеты в этот район Балтики, однако, чтобы не выдать немцам своих намерений, англичане фотографировали все побережье – от Киля до Ростока. Через некоторое время летчики сообщили, что немцы вполне примирились с частыми полетами над этим районом, а однажды один из разведчиков вернулся с фотоснимком, на котором было изображено нечто похожее на небольшой самолет на наклонной пусковой установке[43].

Разрушения на улицах Лондона, причиненные ракетами «V-2»
Вечером 17 августа 1943 года немцы узнали о концентрации крупных сил английской бомбардировочной авиации над Балтийским морем, но сделать уже ничего не успели. Ночью Пенемюнде подверглось налету более 300 тяжелых бомбардировщиков, сбросивших огромное количество фугасных и зажигательных бомб. Целями бомбардировки были испытательные стенды, производственные цеха и поселок на острове Узедом. Человеческие потери составили 735 человек. Среди них был и главный «двигателист» Вальтер Тиль.
Однако разрушение ракетного центра уже не могло остановить Адольфа Гитлера, который увидел в «А-4» оружие, способное поставить Англию на колени и вывести ее из войны.
Вернувшись однажды из ставки, рейхсминистр Геббельс опубликовал в «Фёлькишер Беобахтер» следующее зловещее заявление: «Фюрер и я, склонившись над крупномасштабной картой Лондона, отметили квадраты с наиболее сто́ящими целями. В Лондоне на узком пространстве живет вдвое больше людей, чем в Берлине. Я знаю, что это значит. В Лондоне вот уже три с половиной года не было воздушных тревог. Представьте, какое это будет ужасное пробуждение!..»

Мальчик-жертва «V-2», Антверпен, 1944 год
«Война механизмов» (Robot Blitz) началась ранним утром 13 июня 1944 года. В первой волне атаки на Лондон использовались самолеты-снаряды «V-1», созданные по заказу ВВС[44]. Когда английские военные научились бороться с ними, в ход пошли ракеты «А-4», названные в целях пропаганды «V-2» (от нем. Vergeltung – возмездие).

Немецкие ракетчики сдаются в плен: слева – Вальтер Дорнбергер, с загипсованной рукой – Вернер фон Браун (© NASA)
Ракетные атаки продолжались с 8 сентября 1944 года по 23 марта 1945 года. За этот период времени по целям в Англии и на континенте было запущено свыше 4000 «V-2». По официальным данным, на территорию Англии упало 1054 баллистические ракеты. Погибло 2754 человека, в основном гражданское население. Ракетчики Пенемюнде так и не сумели добиться точности в наведении ракет, а большое рассеивание (от 10 до 20 км!) свело наносимый ущерб к минимуму. Поставить Англию на колени массированным применением ракетного оружия не удалось.
В конце января 1945 года в связи со стремительным наступлением советских войск руководство ракетного центра Пенемюнде получило приказ эвакуироваться. В первых числах февраля автопоезд, насчитывавший до 3000 автомашин и прицепов, под охраной эсэсовцев двинулся через Германию. Десятки ракетных специалистов, огромное количество технической документации, образцы ракетного оружия и ценное оборудование – всё, что представлялось возможным, было вывезено с «секретного» острова.
Ракетчики эвакуировались в Баварию, в район стыка границ Австрии, Германии и Швейцарии, и провели там несколько тревожных недель. Наконец, когда стало ясно, что все окружающие районы заняты американскими войсками, Магнус фон Браун, младший брат Вернера, был послан отыскать кого-нибудь, кому персонал ракетного центра мог сдаться официально.
Остров Узедом был занят 5 мая 1945 года войсками 2-го Белорусского фронта. На этом история ракетной программы нацистской Германии завершилась. Но ей еще предстояло сыграть немалую роль в становлении мировой космонавтики.
1.5. Трофейная техника
К концу Великой Отечественной войны Советский Союз значительно отставал в области ракетостроения. Дело в том, что в 1937 году по советским ракетчикам был нанесен серьезный удар. В мае того мрачного года по обвинению в измене Родине арестовали и расстреляли маршала Тухачевского. Второго ноября 1937 года в связи с «делом Тухачевского» арестовали руководителей Реактивного научно-исследовательского института, они тоже были расстреляны[45]. Двадцать седьмого июня 1938 года арестовали и Сергея Королёва. Через три месяца после этого состоялось судебное заседание, на котором Королёва приговорили к десяти годам лишения свободы с поражением в правах на пять лет и конфискацией имущества. Новоиспеченного заключенного отправили в лагерный пункт Мальдяк на Колыме. Работы над ракетопланами и жидкостными ракетами были практически свернуты, институт реорганизован[46]. Основным направлением стало создание реактивных минометов «БМ-13» на автомобильном шасси, которые вошли в историю под ласковым именем «катюши».

Сергей Павлович Королёв в Пенемюнде
Однако сведения о применении «А-4/V-2» заставили руководство СССР задуматься. Невиданное оружие могло быть использовано против Советской армии. Об интересе англичан и американцев к ракетам свидетельствовали данные разведки. Американцы даже не скрывали, что ведут «охоту» на немецких военных специалистов[47]. Глава государства Иосиф Виссарионович Сталин поставил задачу: изучить опыт создания «А-4» и попытаться воспроизвести его в отечественных условиях.
Четырнадцатого октября 1945 года на берегу Северного моря, в местечке Куксхафен, расчет немецких ракетчиков подготовил к запуску ракету «А-4». Только теперь делали они это не по приказу своего командования, а под присмотром англичан. Ракета стартовала успешно, поразив условную цель в 233 км от старта. На том запуске, проведенном в ходе операции «Отдача»[48], присутствовали делегации советского и американского командования. Наблюдал за стартом ракеты и Сергей Павлович Королёв. Английские разведчики сразу обратили внимание на коренастого офицера в форме капитана артиллерии. Один из англичан, хорошо говоривший по-русски, напрямую спросил Королёва, чем тот занимается. Сергей Павлович ответил: «Вы же видите, я капитан артиллерии». На это англичанин заметил: «У вас слишком высокий лоб для капитана артиллерии. Кроме того, вы явно не были на фронте».
И действительно – Сергей Павлович ни разу не побывал на фронте. Всю войну он провел в засекреченных «шарагах» – специальных конструкторских бюро, созданных НКВД. В начале 1940 года Королёва вернули по этапу в Москву, и до ноября 1942 года он работал под руководством знаменитого авиаконструктора Андрея Николаевича Туполева[49]. Однако Королёв не забыл своего увлечения ракетами. Когда ему удалось перевестись в Казань, где на авиамоторном заводе № 16 шли работы по созданию четырехкамерного реактивного двигателя на жидком топливе «РД-1», Королёв сразу же предложил поставить этот двигатель на самолет «Пе-2», получив на выходе летательный аппарат нового типа – реактивный перехватчик «РП»[50]. Позднее эта работа принесла ему орден «Знак Почета».

Трофейные двигатели для ракет «А-4»
Именно в Казани Королёв, просуммировав результаты исследований Реактивного института и объединив их с опытом боевого применения «катюш», сконструировал две ракеты на твердом топливе: «Д-1» и «Д-2»[51]. Для реализации проектов Сергей Павлович предлагал создать Спецбюро. В записке от 30 июня 1945 года, составленной Королёвым, встречается один пункт, который совпал с планами правительства: «Ознакомить ведущих работников Спецбюро с трофейной ракетной техникой». Вскоре Королёв отправился в Германию и возглавил группу «Выстрел», занимавшуюся изучением вопросов предстартовой подготовки и запуска ракет «А-4».
Чтобы как-то скоординировать деятельность многочисленных групп, работавших с трофейной ракетной техникой, в марте 1946 года было принято решение о создании единой научной организации – института «Нордхаузен», расположившегося в городе Бляйхероде. Выбор места был обусловлен тем, что поблизости находился огромный подземный завод, в цехах которого узники немецкого концентрационного лагеря «Дора» собирали «V-2»[52]. Королёв получил в этом институте должность главного инженера. Именно здесь он в компании сослуживцев начал первые эскизные проработки варианта ракеты «А-4» на дальность 600 км – будущей «Р-2».

Трофейная ракета «А-4»
Тогда же у сотрудников института «Нордхаузен» возникла идея создания и постройки силами немецких вагоностроительных фирм специального железнодорожного состава – ракетного поезда. Этот поезд должен был обеспечить экспериментальный старт «А-4» в любой местности – чтобы не требовалось ничего, кроме железнодорожной колеи. Поезд состоял из 68 специальных вагонов, в числе которых были вагоны-лаборатории для автономных испытаний бортовых приборов, вагоны службы радиотелеметрических измерений «Мессина», фотолаборатории с устройствами обработки пленки, вагон испытаний двигательной автоматики и арматуры, вагоны-электростанции, компрессорные, мастерские со станочным оборудованием, рестораны, бани и душевые, салоны для совещаний, броневагон с электропусковым оборудованием. Предполагалось, что управление ракетой будет осуществляться прямо из броневагона. Сама ракета устанавливалась на стартовом столе, который вместе с подъемно-транспортным оборудованием входил в комплектацию специальных платформ.
Как ни невероятно, но два таких спецпоезда были построены и полностью укомплектованы уже к декабрю 1946 года. В течение первых послевоенных лет наши ракетчики просто не мыслили себе жизни и работы без этих спецпоездов…
В мае 1946 года министр вооружения Дмитрий Федорович Устинов[53] пошел с докладом к Сталину и описал главе Советского Союза, какие перспективы сулят тяжелые баллистические ракеты. Доклад произвел впечатление, и по его итогам 13 мая 1946 года было принято Постановление Совета министров СССР № 1017-419сс «Вопросы реактивного вооружения». В соответствии с этим постановлением создали Специальный комитет по реактивной технике при Совете министров СССР. Возглавил его Георгий Максимилианович Маленков[54], а посты его заместителей заняли министр вооружения Дмитрий Федорович Устинов и инженер «старой школы» Иван Герасимович Зубович[55].
В историческом постановлении говорилось: «Обязать Специальный комитет по реактивной технике представить на утверждение председателю Совета Министров СССР план научно-исследовательских и опытных работ на 1946–1948 годы, определить как первоначальную задачу – воспроизведение с применением отечественных материалов ракет типа ФАУ-2 (дальнобойной управляемой ракеты)».

Постановление Совета Министров СССР по вопросам реактивного вооружения (© РКК «Энергия»)
Головной организацией при Министерстве вооружения, на которую возлагалась реализация программы освоения ракетного оружия, определили Научно-исследовательский институт реактивного вооружения на базе завода № 88 (НИИ-88). Это предприятие было организовано в стенах артиллерийского завода № 8, построенного вблизи подмосковного поселка Подлипки[56]. После начала войны завод был эвакуирован в Свердловск, но через четыре года часть рабочего коллектива вернулась в Москву. Однако в 1946 году никто и предположить не мог, что вскоре небольшой поселок превратится в современный город, а на военном заводе будут собирать космические корабли.
1.6. Подлипки и Капустин Яр
Советским ракетчикам, работавшим в Германии над изучением трофеев, пришлось трудно – им достались только разрозненные чертежи, остатки ракет, отдельные узлы и агрегаты. В результате сложнейшей работы из деталей и агрегатов, найденных на складах различных фирм в Германии, Чехословакии и Польше, удалось собрать 29 ракет «А-4» и скомплектовать детали и агрегаты для еще 10 ракет.
К концу 1946 года началась отправка советских специалистов на родину. Те, кто принимал непосредственное участие в изучении ракет «А-4», сразу вливались в инженерно-конструкторский коллектив отдела № 3 Специального конструкторского бюро (СКБ НИИ-88), который возглавил Сергей Павлович Королёв. В личном архиве Королёва сохранилась короткая записка, в которой он подводит итог командировки в Германию: «Главное не то, что мы узнали по технике, а то, что мы сплотили коллектив».
Становление института потребовало решения целого ряда проблем. Одной из основных стала проблема подготовки кадров. Многие работники впервые встречались с ракетной техникой, нуждались в переквалификации. Времени на это отводилось немного, поэтому при НИИ-88 был создан консультационный пункт Всесоюзного заочного политехнического института. Позднее оформилась система подготовки кадров через вузы авиационной и оборонной промышленности. Вначале в состав отдела № 3 СКБ-88 входили 60 инженеров, 55 техников, 23 практика, но через год там было уже 310 специалистов, поезд со своим сложным хозяйством и вновь организованное экспериментальное производство. При этом штат всего СКБ составил 934 человека, а штат завода – 6830.
В 1946 году началось и формирование филиала № 1 НИИ-88, в котором должны были работать немецкие специалисты, помогавшие изучать ракетную технику еще в Германии. Первая группа во главе с Хельмутом Греттрупом[57] прибыла в Советский Союз в конце октября, а к июню 1947 года их численность достигла 177 человек. Некоторая часть прибывших была размещена с семьями в Подлипках, остальные – в филиале № 1 на острове Городомля озера Селигер. Перед немцами стояло две задачи: подготовка собранных «А-4» к испытательным запускам и проектирование улучшенной баллистической ракеты «Г-1»[58]. Однако коллектив филиала оказался слишком разношерстным, что не позволяло ему трудиться с полной отдачей. Кроме того, иностранцев старались не допускать к наиболее секретным темам, не давали разобраться в намерениях советских конструкторов, а рационализаторскими предложениями зачастую пренебрегали. Поэтому влияние филиала на растущее советское ракетостроение оказалось минимальным. Тем не менее эскизный проект «Г-1» был все-таки создан и дважды обсуждался на научно-техническом совете НИИ-88. Дальше работа не двинулась, а после успешных испытаний ракеты «Р-2» немецкие специалисты начали возвращаться в Германию.
Отдельное внимание руководство НИИ-88 уделяло строительству – в Подлипках вырастал новый город. Первые объекты были заложены уже в 1946 году. Сначала реконструировали главный корпус завода – под сборку баллистических ракет. Параллельно оборудовались или возводились с нуля здания под научно-исследовательские лаборатории, испытательные станции и жилые дома. В условиях послевоенной разрухи строительные организации не могли обеспечить необходимый размах работ, поэтому к ним привлекались подразделения института. В 1947 году своими силами было выполнено строительных работ на 28 млн рублей, что составило 46 % всего объема капитальных вложений НИИ-88.







