Самый полный справочник птицевода

- -
- 100%
- +
Поилки
Поилками для кур могут быть любые емкости, обеспечивающие свободный доступ к воде и чистоту. Лучшим устройством для поения являются желобовые металлические поилки со штуцерами с каждой стороны для использования под проточное поение.
Для предотвращения разбрызгивания воды на подстилку поилки устанавливают на металлических поддонах.
Поилка для молодняка птицы до 10-дневного возраста состоит из двух частей: металлического резервуара для воды и тазика-поддонника. В резервуаре у края делают отверстие размером 1 см, через которое вода поступает в тазик по мере того, как молодняк ее выпивает. Резервуар дна не имеет, а верхнюю часть его делают в виде конуса, для того чтобы молодняк не залетал на него и не загрязнял воду. Поилки лучше изготовлять из листового оцинкованного железа с хорошо пропаянными швами. Поилку ставят на кирпичи, положенные плашмя.
Поилка для молодняка птицы старше 10-дневного возраста состоит из трех частей: металлического резервуара для воды, деревянной решетчатой подставки и металлического противня. Крышку резервуара делают подъемной, на петлях. Под подставкой устанавливают металлический противень для сбора воды, пролитой птицей. В отличие от утят и гусят, цыплята не проливают воду на пол, поэтому при изготовлении поилок для них решетчатые подставки и противни можно не делать. Резервуар и противень изготовляют из оцинкованного железа. Края поилки и крышки вставляют под проволоку.

Поилки разных типов

Электрооборудование для обогрева молодняка
Поилку можно изготовить из досок в виде треугольника или из цементной или гончарной трубы, распилив ее вдоль на две равные части. Из проточной поилки вода должна поступать в утепленную сточную яму, которую устраивают возле птичника. Поилку можно сделать с электроподогревом. Для этого используют электроподогреватель воды на 20, 60 и 100 Вт (соответственно на 10, 50 и 100 л воды), который опускают в поилку.
Электроподогреватель представляет собой колбу-пробирку длиной 12–15 см, в которую вмонтирована нихромовая спираль. К концам спирали припаян изолированный шнур с вилкой для включения в электрическую сеть. Воду подогревают до нужной температуры.
Простой способ предохранения воды от замерзания – обертывание ведра-поилки изоляционным материалом и подливание теплой воды. Можно также погрузить в воду деревянный кружок несколько меньшего диаметра, чем ведро. Кружок, плавая, не дает воде замерзнуть. В нем следует сделать 3–4 круглых отверстия, через которые птица будет пить воду.
Как сделать поилку с электроподогревом.
Поилку с электроподогревом можно сделать самостоятельно. На схеме изображена поилка с электроподогревом, а также даны ее размеры. Такие устройства рекомендуются для зимы.

Кормушки и поилки для цыплят: а – вакуумная поилка: 1 – емкость для воды; 2 – отверстие для вытекания воды; 3— подставка; 4 – миска; б – лотковая кормушка

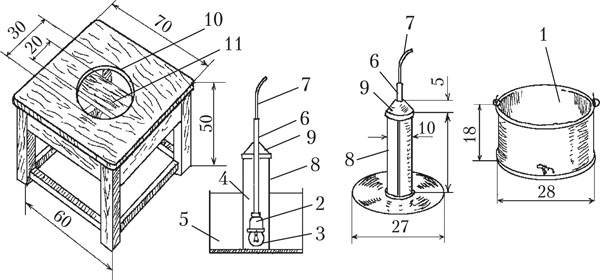
Поилка с электрообогревом: 1 – оцинкованное ведро; 2 – патрон для электролампы; 3 – лампа мощностью 10 ватт; 4 – сухой песок; 5 – вода; 6 – шланг резиновый; 7 – электропровод; 8 – цилиндр из оцинкованной листовой стали (швы пропаяны); 9 – крышка съемная из оцинкованной листовой стали; 10 – гнездо для ведра; 11 – подставка для ведра (доска, прибитая гвоздями к крышке столика)
Насесты
Так как почти половину суток, а зимой и более, птице приходится обитать в птичнике, необходимы условия для ночного отдыха – насесты.
Куры чувствуют себя спокойнее, когда насесты расположены горизонтально. Не приходится бороться за более высокие ряды, в отличие от наклонных насестов. Зооветеринарными нормами на одного обитателя птичника предусмотрено 1820 см бруска при условии, что расстояние между ними 30–35 см. Поперечное сечение бруска должно быть в пределах 5x5 см, с овальным округлением его верхней, рабочей, части. Тогда птицы, умостившись на насест, плотно его обхватывают и чувствуют себя удобно и во время сна. От падения они гарантированы. Насесты устанавливают на высоте 60 см на подпорках таким образом, чтобы их можно было приподнимать и крепить к стене во время уборки.
Гнезда
Для яйцекладки каждая наседка старается уединиться. Нередко курица заскакивает в птичник перед самым несением.
Ждать некогда, необходимо свободное гнездо. Если его не оказывается, яйцо откладывается прямо на подстилку.

Гнезда для кур
Специалистами-куроводами установлено, что обсемененность патогенными микробами яиц, снесенных на подстилке, в 20–30 раз выше, чем в гнездах, а выводимость из этих яиц на 20 % ниже.
Чтобы избежать этих неприятностей, каждые пять несушек должны иметь отдельное гнездо.
Гнезда для кур устраивают на высоте 50–60 см от пола. Высоко расположенные гнезда способствуют появлению яиц с мясными и кровяными включениями внутри. Изготавливают гнезда из фанеры или теса, размерами 30x35x35 см и, располагают их в защищенном от прямых солнечных лучей и посторонних глаз месте либо одной, либо несколькими линиями, либо в виде шкафчика. Потребность гнезд в птичнике – одно на 5–6 несушек. В гнезда укладывают мягкую солому или стружку, которые по мере загрязнения обновляют. У входа в гнездо устраивают порожек, чтобы не терлась подстилка, а перед гнездами устраивают планку для взлета. Яйца из гнезд собирают через каждые 2 часа в период наиболее интенсивной яйцекладки (с 10 до 13 часов), зимой – чаще.
Грелка для цыплят
Для обогрева молодняка птицы в начале выращивания применяют различные нагревательные приборы. Но, к сожалению, многие из них небезопасны: довольно часто бывают случаи возгораний.
Предлагаем смастерить эффективную, дешевую и безопасную грелку для цыплят. Ее можно соорудить за считанные минуты.

Самодельная грелка
Необходимо взять стеклянную литровую банку с полиэтиленовой крышкой. В крышке прорезать отверстие по размеру резьбы электропатрона. Патрон нужно раскрутить и между верхней и нижней его частями вставить крышку, а затем снова его скрутить. Затем нужно ввинтить лампочку на 15–25 Вт, накрыть крышкой с лампой банку и включить в сеть.
Лазы
Для выхода птицы из помещения в выгульный дворик устраиваются лазы на высоте 5–8 см от пола размерами 40x40 см. В приусадебных хозяйствах достаточно одного лаза, для фермерских хозяйств – 1 на 125 голов. Снаружи лазы оборудуют дверцами.
Зольно-песочные ванны
Для песочно-зольных ванн устраивают произвольных размеров ящик из металла или дерева высотой не более 20 см. В него засыпают сухие песок и золу в равных количествах. Пользование такими ваннами способствует изгнанию эктопаразитов с тела птицы.
Вольеры
Около птичника с южной стороны оборудуют легкого вида солярий (выгул), огороженный оцинкованной сеткой высотой 1,8–2 м. Сверху устраивают теневые навесы. Площадь выгульного дворика должна составлять не менее половины площади птичника. Иногда в выгуле оборудуют насесты. При огораживании соляриев желательно натянуть поверху сетку, препятствующую залету свободно живущей птицы, которая может быть источником инфекции.
Инструменты для уборки помещений
Применяются в основном в малых птичниках, где сложно организовать механизированную уборку. Это скребки, вилы, лопаты, грабли, метлы.
Системы содержания кур
Существуют две системы содержания кур: выгульная и безвыгульная. При выгульной системе куры располагаются в птичнике на насестах или на сетчатых (планчатых) полах с использованием ограниченных (вольеров) или неогражденных выгулов.
При безвыгульном содержании птица постоянно содержится в закрытых помещениях: в клетках, на полу с глубокой несменяемой подстилкой или без нее – на сетчатых или планчатых полах.
Напольное содержание с использованием выгулов дает возможность птице постоянно находиться в активном движении, подвергаться ультрафиолетовому облучению солнечными лучами, вдыхать свежий воздух. Все это обеспечивает нормальный обмен веществ в организме, укрепляет здоровье, способствует устойчивости к заболеваниям, продлевает хозяйственные сроки использования птицы. Кроме того, от птицы, пользующейся выгулами, получают продукцию более высокого качества. Яйца такой птицы отличаются более полным содержанием комплекса витаминов, имеют хорошие инкубационные качества; из них получают кондиционный суточный молодняк с высокими жизненными задатками: он лучше сохраняется и развивается.
Более интенсивным способом содержания кур считается клеточное: в три-четыре раза увеличивается уровень использования производственных помещений; полнее выдерживаются санитарно-гигиенические требования, что позволяет получать чистое яйцо. Облегчается и упрощается уход за птицей и контроль за ее состоянием: ее легко можно достать из клетки и осмотреть. Клеточное содержание требует меньших затрат кормов на производство яиц и получение привесов.
Но такое содержание имеет и свои отрицательные стороны: из-за ограниченных возможностей двигаться укорачиваются сроки продуктивного использования птицы, снижается устойчивость к воздействиям окружающей среды, птица чаще подвергается стрессовым факторам.
Наиболее доступным методом при содержании кур на приусадебном участке является содержание на глубокой несменяемой подстилке.
Кур всех пород (кроме яйценоских и мясных гибридов, не нуждающихся в выгулах, но находящихся в постоянных климатических условиях) необходимо выпускать на выгульную площадку. Климатические условия наиболее влияют на яичную продуктивность, поэтому при выборе породы для получения пищевых яиц рекомендуется учитывать пригодность ее в данном регионе.
Конец ознакомительного фрагмента.
Текст предоставлен ООО «ЛитРес».
Прочитайте эту книгу целиком, купив полную легальную версию на ЛитРес.
Безопасно оплатить книгу можно банковской картой Visa, MasterCard, Maestro, со счета мобильного телефона, с платежного терминала, в салоне МТС или Связной, через PayPal, WebMoney, Яндекс.Деньги, QIWI Кошелек, бонусными картами или другим удобным Вам способом.





