Ящик для письменных принадлежностей

- -
- 100%
- +
– Вот так, ангел мой, – сказала я продавцу, – смотри только случайно не продай шубу, которую я только что вернула, а не то тебя дьявол укусит! Ты меня слушаешь?
– Да, мадам, слушаю и горю желанием узнать, что будет дальше.
– Дальше я пойду покупать своей новой шубе подходящие духи. К этой шубе нужны новые духи. Мне кажется, лучше всего подошли бы «Issey Miyake»…
– Не понимаю, какую шубу мадам имеет в виду теперь?
– Ну, разумеется, ту же самую. Снглф, сегодня я еще раз появлюсь в вашем салоне. На этот раз со своим мужем, Адамом. И он купит мне эту же шубу. В противном случае я не смогу в ней показаться перед ним, я даже не смогу забрать ее домой, как сказала моя сестра Ева, присутствующая сейчас здесь… Ты меня слушаешь?
– Слушаю, мадам, но не понимаю.
– Как это – не понимаешь? У меня останется пятьдесят тысяч, у тебя – десять, к тому же я бесплатно получу шубу, которую мне купит муж… Что тут непонятного? Впрочем, совершенно не важно, понимаешь ты или нет. Достаточно, чтобы ты слушал. Итак, шубу не продавай! Кстати, имей в виду, моему мужу ты назовешь ту цену шубы, которая указана в прейскуранте салона, то есть пятьдесят тысяч… Мы с ним все же родственники…
С этими словами мы с Евой покинули салон. Со всех сторон нас одолевали запахи большого города, и я читала их как буквы.
– В последние недели и от моих снов воняет. Они стали густыми, как мамалыга, и черными, как деготь. А сквозь них текут огромные массы времени, похожие на подземные реки, хотя, проснувшись, я вовсе не становлюсь старее, чем я есть, чем была раньше. В моей жизни как будто существуют два времени. В одном времени не стареешь, но вместо тела тратится что-то другое. Карма? Может быть, наше тело и наша душа – это горючее? Горючее для чего? Может быть. Время – это сила, которая движет телом, а Вечность – это горючее души?
* * *– Теперь нам пора немного передохнуть, – сказала я и повела сестру обедать во дворе небольшого ресторанчика. После обеда я достала из сумки телефон и позвонила мужу.
– Мы, как обычно, во дворике ресторана. Ждем тебя. Я немедленно должна показать тебе кое-что. Срочно приезжай. И захвати мою гитару.
Как только появился месье Адам, я попрощалась с сестрой выражением, которому я научилась у поколения шестьдесят восьмого года:
– Приходи в пять тридцать. Куда угодно, только не опаздывай.
– Издеваешься?
– Могла бы и сама догадаться. У «Шекспира», как обычно.
После этого я отвела мужа в меховой салон. Вместе с моей гитарой, которую он покорно нес в руке.
– Ты, Адам, заключен в свою осуществленную любовь, как в клетку, – сказала я ему, входя в салон.
– В какую любовь?
– То есть как – в какую? Разве ты не был влюблен в меня до женитьбы? Был. И разве ты не получил то, что хотел? Получил.
– Разве все это не получила и ты?
– Получила, но не с тем мужчиной. Знаешь ли ты, Адам, что во сне я все еще девушка? Уже десять лет, лежа в постели рядом с тобой, я вижу во сне, что я невинна. И мне постоянно снится, что я теряю невинность с кем-то другим, а не с тобой. В моих снах их было не меньше двухсот, тех, кто лишил меня невинности…
– Лили, прошу тебя! – взбунтовался он.
– Итак, это все, что касается невинности и того, что получил ты. Сейчас и я хочу получить кое-что. Хочу ту самую шубу, о которой я тебе говорила. Вот, я нашла ее здесь, в этом салоне. И влюбилась в нее… Я просила вас оставить одну шубу, – продолжала я, обращаясь к продавцу.
– Сейчас посмотрим. На какое имя, достопочтенная мадам?
– На любое из моих четырнадцати, мой юный месье.
– Посмотрим, посмотрим, мадам… Совершенно верно, шуба оставлена на имя Эмпуза.
– Правильно. Вот теперь мы с супругом пришли вместе, чтобы он купил ее.
Напуганный таким диалогом, Адам предпринял отчаянную попытку:
– Но ты же знаешь, Лили, что у тебя денег больше, чем у меня. Ты можешь ее купить, а я не могу.
– Это не одно и то же. Я хочу, чтобы мне ее купил ты.
И тут я мгновенно посерьезнела и шепнула мужу на ухо:
– Сейчас я ее примерю.
Я распахнула пальто, и капитан удостоверился в том, что под пальто его жена не носит ничего, за исключением духов «Jacomo de Jacomo».
– Лили, прошу тебя, не надо! Лили, идем домой. Прекрати эту комедию.
– Значит, берем шубу без примерки?
– Да-да, прошу тебя, без примерки! Сколько стоит это чудо?
На свой вопрос капитан получил неизбежный ответ, который заставил обернуться всех, кто находился в салоне.
– Пятьдесят тысяч.
– Пятьдесят тысяч?
– Дорогой мой, тебе кажется, что это много, только потому, что ты не видел ее на мне. Ты должен посмотреть, как она на мне сидит.
Тут я сбросила пальто, оставшись в чем мать родила, надела шубу, поднялась на подиум и под музыку триумфально прошлась перед присутствующими, вызвав громкие аплодисменты.
– Тебе не нравится? Тогда я верну ее.
Я распахнула шубу, снова раздались аплодисменты.
– Не нужно, – поспешно вмешался мой муж, – запакуйте пальто мадам, она останется в шубе. И выпишите счет.
Как только счет был оплачен, продавец завернул мое пальто, и я тут же всучила его мужу.
– Это тебе на память, – сказала я ему, – а теперь простимся. Прощай, Адам!
И схватила свою гитару.
– Что это значит, Лили?
– Это значит то, что перед Богом и всем честным народом я покидаю тебя. И тебя, и твои обгорелые усы. А если кто-нибудь из присутствующих имеет что-либо против, то пусть скажет об этом сейчас или потом не говорит никогда!
С этими словами я направилась к дверям. К изумлению присутствующих, продавец вдруг выпалил:
– Остановись! Остановись! Не входи и не выходи! Берегись трехспальной кровати! Ничего от тебя и ничего в тебе…
Адам ошеломленно посмотрел на него и крикнул мне вслед:
– Но почему?
Я остановилась и ответила:
– Почему? Если ты не помнишь, я объясню тебе почему. Когда я в семнадцать лет вышла замуж, у меня была такая грудь, что никто из знавших меня не запомнил моего лица. Даже ты, мой муж. Как-то вечером, когда я танцевала, ты упал передо мной на колени и приложил руку к моему животу. Тогда я впервые почувствовала боль. Боль продолжалась семь лет. Слабая, иногда она усиливалась, но чаще я почти не замечала ее. Как-то ночью боль стала резкой, колющей, я, обезумев, отшвырнула книгу, которую читала в постели, и бросилась к врачу. Меня осмотрели под рентгеном и сделали снимок находившегося во мне крохотного, совершенно правильного скелета семилетней девочки. Мне пришлось изрядно напрячь память, чтобы высчитать, кто был ее отцом. Теперь я это знаю. Отцом был ты…
С этими словами я открыла дверь из салона на улицу. Капитан только тут пришел в себя и прокричал:
– Лили, вернись, куда же ты, Лили?
И получил ответ:
– В Киев. У меня с моим новым любовником медовый месяц. Сейчас это модно – ездить в Киев в медовый месяц…
В этот момент какой-то представительный господин, находившийся в салоне, воскликнул «Браво!», а продавец бросил мне через порог:
– Обернись, обернись, море шумит, волны зовут тебя…
Потрясенный капитан, продолжавший стоять посреди зала, смерил его злобным взглядом и рухнул в кресло со словами:
– Мать твою в потолок! – А потом добавил: – Властелин мира, жена, которую ты мне дал, улетела!
Это были последние слова, которые я слышала от мужа.
* * *В самом сердце Парижа, на месте, откуда через один из рукавов Сены открывается прекрасный вид на церковь Матери Божьей, находится букинистический магазин английских книг «Шекспир». В хорошую погоду товар раскладывают перед входом, и именно здесь я снова встретилась с сестрой.
– Дело сделано? – нетерпеливо спросила Ева, разглядывая на мне новую шубу. – Какие теперь у тебя планы?
– Поселюсь в квартире, которую сегодня сняла на Filles du Calvaire.
– Значит, все-таки эту квартиру ты сняла для своей шубы?
– Нет. Я ушла и от мужа, и от майора Бейли. Как я тебе уже говорила, теперь я изменю свою проклятую жизнь. Потом будет поздно, мне и так уже двадцать шесть. Я собираюсь закончить учебу. А потом завести детей. Но не с кем попало.
– А как же медовый месяц, и новый любовник, и Киев?
– Никак.
– Что значит никак?
– У меня нет нового любовника… Сейчас время учиться.
– Не понимаю. Я думала, что ты оставляешь старого любовника и мужа ради нового любовника.
– Правильно, но новый любовник – это пока что лишь гипотетическая возможность. С меня довольно и мужей, и любовников. Возможно, мне стоило бы найти любовницу. Женщины лучше понимают, что нам приятнее всего…
– Значит, с этим, в бабочке, у тебя ничего нет? Тебе еще нужно его заловить. Да ты еще хуже, чем я!
– Ева, ты уверена, что остаешься женщиной и во время сна? Я тебе прямо сейчас покажу, как находить новых любовников. Сделать это легче всего тогда, когда и не собираешься искать. Просто хлопай глазами и смотри. Ты видишь на витрине с книгами объявление?.. Видишь, прекрасно, а теперь прочитай его.
К стеклу книжного магазина «Шекспир» был прилеплен листок бумаги пепельного цвета. Написанный по-английски крупными буквами текст сообщал:
РАЗЫСКИВАЕТСЯ!
Молодой человек,
обладатель «Хазарского словаря»
(мужская версия),
разыскивает девушку,
у которой тоже есть
экземпляр «Хазарского словаря»
(женская версия).
Цель:
обмен экземплярами и беседа.
Тел.: 2259 39.
– Теперь тебе ясно?
– Нет.
– Поэтому у тебя и нет любовника. Я только что купила новые духи Elisabeth Arden «Blue Grasse», как и полагается для нового любовника, а здесь, у «Шекспира», отыскала эту чертову женскую версию. Это словарь, в котором на двести девяносто третьей странице нью-йоркского издания Кнопфа есть дырка, та самая, которую этот парень ищет в качества предмета обмена. Имея в руках такую штуку, я позвоню по телефону из объявления. Интересно узнать, что есть в его экземпляре…
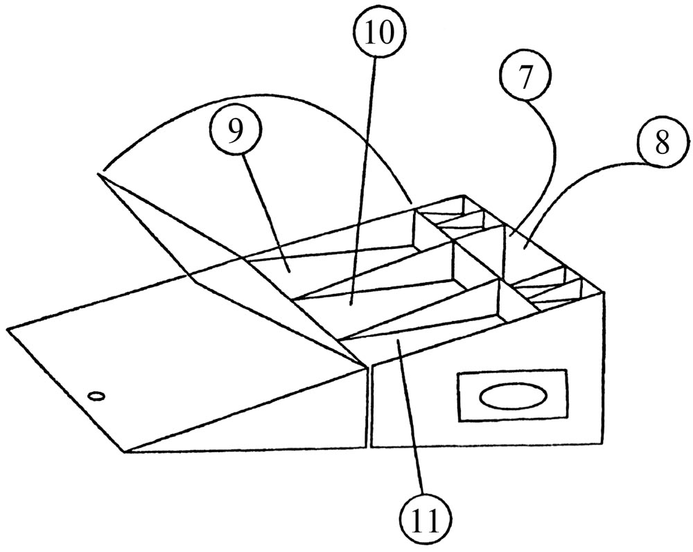
2-6. Черные и белые отделения
Если поднять крышку и открыть ящик, перед нами окажется поверхность для письма. Она ограничена латунной рамкой, снабженной некоторыми вспомогательными средствами, обеспечивающими доступ в разные отсеки и части ящика.
Итак, в рамке расположены два замка и одно углубление для внутреннего ключа, который по размеру больше, чем ключ от внешнего замка. По форме он представляет собой трубку с треугольным отверстием в торце. В прошлом похожими инструментами пользовались зубные врачи, чтобы рвать зубы. Латунь, из которой сделан ключ, местами изъедена и покрыта зеленым налетом.
В верхней части ящика находится первый внутренний замок. При закрывании этого замка внутренним ключом возникает особый эффект. На дне ящика из имеющегося там отверстия при повороте ключа выступает винт. Для того чтобы во время качки ящик не упал со стола или с другой поверхности, на которой он стоит, с помощью упомянутого ключа и винта его можно зафиксировать на деревянной основе. И пока ящик закрыт на ключ, винт остается недоступным.
– Будь у тебя хоть две левых руки, не украдешь! – так сказал об этом хитром устройстве официант.
Между латунной рамкой ящика и покрытой сукном поверхностью для письма, в верхней его части, находится пять маленьких отделений из светлого и темного дерева, напоминающих пять ванночек. В одном из них, по-видимому, когда-то стояла чернильница, так как на дереве осталось несколько зеленых клякс, а в другом – баночка с песком для посыпания свежих записей. Четыре из пяти ванночек квадратные, а пятая прямоугольная, она имеет форму корытца из темной древесины тика и предназначена для перьевых ручек. В центре этого корытца есть небольшая дужка. Судя по всему, к нижней стороне этой ванночки можно было прикреплять промокательную бумагу, которая довольно быстро вытеснила из употребления песок. Таким образом, отделение для ручек могло использоваться и в качестве миниатюрного пресс-папье.
Два отделения пусты.
В прямоугольном корытце лежит темно-зеленая ручка из кедрового дерева, на конце ее медное устройство, куда вставляют перо,
В соседней ванночке осталось немного красноватого песка, кроме того, там лежат старый свисток в форме фаллоса и стеклянная пробка от флакона, который в ящике не обнаружен. Свисток предназначен для того, чтобы вызывать духов умерших. Звук у него странный, что-то похожее на «кмт! кмт! кмт!». Это зов, на который откликаются ледяные сны мертвых душ, когда они, чтобы согреться, забираются иногда в теплые сны живых. Только тогда их и можно вызвать. Точнее, свисток служит для того, чтобы мог подать голос тот, кто хочет вызвать души мертвых. Если свистнуть три раза, вызовешь душу умершего и ее ледяной сон из их временного пристанища. Душа умершего и ее сон найдут тебя по звуку свистка. Таким образом, свисток предупреждает о том, что, возможно, существует нечто, что запрятано в шкатулке гораздо глубже, чем нам известно.
Короче говоря, если вы что-то ищете и не находите, не теряйте надежды. Может быть, это «что-то» найдет вас.
Что же касается стеклянной пробки от флакона, то, посмотрев сквозь нее на свет, можно как под увеличительным стеклом прочитать вырезанную на ее донышке надпись на греческом языке. Эта надпись в стеклянной пене выглядит так:
«Не забывай, что твои годы идут парами, как сестры, как мать и дочь или как сестра и брат. А иногда как отчим и падчерица или как любовники…»
Тот, кто догадается перевернуть стеклянную пробку и посмотреть с другой стороны, прочтет следующее:
«Для того чтобы встретить ночь всех твоих ночей как день, нужно заранее понять, какова та пара лет, которые входят в твою жизнь».
В отделении, где когда-то находилась чернильница, сейчас стоит пузырек с черной краской и палочка, с помощью которой женщины в азиатских и африканских странах раскрашивают боковую часть своих ступней.
Вторая часть
Средний уровень ящика для письменных принадлежностей

На этом уровне ящика для письменных принадлежностей расположены:
один выдвижной ящик из розового дерева (7),
другой из древесины ореха (8),
а также три довольно больших отделения (9-11).
7. Ящик из розового дерева
Средний уровень ящика частично становится виден тогда, когда извлечешь оттуда ванночку для ручек (4). Под ней обнаруживается пустое пространство. Если теперь вынуть левую стенку средней ванночки, высвободится потайная пружина и на этом месте, слева, из глубины, выскочит выдвижной ящик из розового дерева (7), запрятанный до этого под ванночками. В нем лежат нож, вилка и прядь женских волос. Одновременно с появлением ящика начинает звучать музыкальная шкатулка, скрытая где-то внутри так, что ее нельзя ни увидеть, ни пощупать, а можно только услышать.
У музыкальной шкатулки есть семь мелодий. По одной для каждого из видов морского ветра. Иными словами, она играет ту или иную мелодию в зависимости от того, какой дует ветер. Стоит измениться ветру, меняется и мелодия. Так что мореплаватель мог определять ветер, не выходя из каюты, по звукам из музыкального ящика и узнавать, что за ветры свистят над палубой и когда происходят перемены. О ветре под названием «юго» сообщала мелодия, начинавшаяся словами «В рубахе тихой завтрашних движений…», если дул ветер «бора», то слышалась песня «Тишина такая, как тогда, когда синие цветы молчат…», ветер «трамонтана» завывал под звуки «День мой смеркается дважды…» и т. д.
8. Ящик из древесины ореха
Если убрать правую стенку средней ванночки, то и с этой стороны из пустоты выскочит подброшенный пружиной ящик из древесины ореха (8). В этом ящике лежит свернутая в трубку рукопись, закрученная в страницу, вырванную из какого-то комикса. На одной из картинок комикса изображен бык с пеной у рта. У него на спине, верхом, лицом друг к другу, сидят молодой человек и девушка. Текст комикса на английском, а эта картинка называется «Third Argument». Итак, если развернуть вырванную из комикса страницу, обнаружится рукопись. Она представляет собой тетрадь, страницы которой исписаны зелеными чернилами, бумага толстая и рыхлая, наподобие промокательной, с надписью мелким шрифтом на каждом листе, сообщающей, что это экологический продукт. По обложке желтоватого цвета рассыпаны мелкие синие цветы. Сама рукопись написана мужской рукой и напоминает своеобразный дневник, в который кое-где вклеены вырезки из отпечатанного типографским способом текста. Далее целиком приводится текст дневника со всеми вставками. Написано в Париже на сербском языке.
Рукопись из Парижа, завернутая в страницу из английского комикса
– Это ты прилепил объявление в книжном магазине «Шекспир»? – спросил меня вчера из телефонной трубки женский голос.
– Я, – ответил я.
– Сейчас я иду на факультет. Я учусь на строительном. Знаешь, где это?
– Я тоже учусь на строительном, – выпалил я в ответ, – буду у входа через сорок пять минут.
Стоило мне посмотреть на нее, как по положению ее зрачков я понял, что ее левый глаз прошел гораздо большее число реинкарнаций, чем правый. Он был старше правого, по крайней мере, на тысячу пятьсот лет. И не моргал. Она пришла с книгами под мышкой.
– Ты читала книгу? – спросил я.
– Нет, – ответила она. – Я вообще не так уж много читаю. А ты? Ты читал ее? Или это просто прием, чтобы познакомиться со мной?
– Забудь об этом, – сказал я. – Хочешь, будем заниматься вместе, а?
– Хорошо, но только давай сразу договоримся. Пока не кончится семестр – никакого траханья. А после сессии посмотрим. Идет?
– Идет, – ответил я.
Так мы начали вместе готовиться по курсу «Математика 1», и, оттого что, в отличие от меня, она была не из провинции, занимались мы в ее большой квартире на улице Filles du Calvaire.
Каждое утро, довольно рано, я проходил мимо принадлежавшего ей сверкающего автомобиля марки «Layland-Buffalo». Предварительно я сворачивал в сквер, который выходит на Rue de Bretagne, отыскивал на дорожке камень, подбирал его и прятал в карман. Потом звонил у двери и поднимался на второй этаж. Книги, тетради и нужные для занятий инструменты я не брал. Все это лежало у нее, всегда готовое к работе. Перед ней мерцал семнадцатидюймовый монитор пентиума. Занимались мы с девяти до одиннадцати, потом нам подавали завтрак, и мы продолжали занятия до двенадцати. Позже мы повторяли пройденный материал. Все это время я держал в руке камень, который, стоило мне задремать, падал на пол и будил меня прежде, чем она успевала что-то заметить. Иногда, когда мне не хотелось спать, я разглядывал ее гитару, стоявшую в углу комнаты. На стенах вместо картин в рамках и под стеклом висели сильно увеличенные почтовые марки с изображениями парусников и пароходов. После часа дня я уходил, а она продолжала заниматься одна.
Таким образом мы готовились к экзамену по математике ежедневно, кроме воскресенья, когда она занималась одна. Очень быстро она заметила, что я все больше и больше отстаю от нее. Она думала, что я ухожу раньше, чем она закончит заниматься, чтобы самостоятельно выучить материал пропущенных лекций, но ничего мне не говорила.
«Каждый должен, как дождевой червяк, сам прогрызть себе дорогу вперед» – так, должно быть, думала она, понимая, что, обучая кого-то другого, себя она не научит. Несмотря на нашу договоренность, иногда во время передышки в учебе она целовала собственные колени, оставляя на них следы губной помады, или, свесив на лицо свои длинные волосы, сквозь них показывала мне язык. Я на это не реагировал, соблюдая условия предложенного ею договора не заниматься любовью во время учебы, поэтому между нами ничего такого не происходило. По сути дела, за развязностью, которую она изображала, скрывалась стыдливая, я бы даже сказал целомудренная, натура, хотя, возможно, она сама об этом даже и не догадывалась. Кроме того, эротика в ней вообще еще не пробудилась, и, несомненно, ее предыдущий любовный опыт был не особо удачным, так что к новой связи она подступалась с опаской. Именно поэтому она и откладывала все на «после сессии»… Легче выучить птицу застегивать пуговицы, чем научить подобных ей любви…
– Кто ты? – как-то раз неожиданно спросила она меня.
– Можешь и сама догадаться. Есть старая тайна, в которой каждый, как в зеркале, может увидеть себя или кого-то другого, к кому будут в этот момент обращены зеркала. Вся поэзия Древней Греции и Рима повторяет одну и ту же зашифрованную историю. И тот, кто умеет правильно прислушаться, услышит ее. Кто не умеет – не услышит. Есть одна теория, согласно которой мужские и женские особи дышат по-разному. Кроме того, некоторые считают, что длина шага мужчины и женщины различна. Как бы то ни было, суть дела состоит в следующем. Женщины и мужчины делятся на тех, у кого трехфазное и двухфазное дыхание. Или шаг. Такими они родятся, такой у них характер, такова их природа.
Есть женщины, природа которых проявляется в двухфазных ритмах, и в их жизни долгому вдоху предшествует короткий, или, другими словами, их первый шаг длиннее второго. Они всегда немного спешат. За ночь им снится сто быстрых снов. Есть также и мужчины, природа которых строится на двухфазных ритмах, они, правда, всегда делают сначала короткий вдох, а потом длинный. И всегда стараются, чтобы их первый шаг был осторожным и коротким, а второй длинным. Этих всегда ловят с поличным на краже. Но, кроме того, как среди вас, так и среди нас есть такие, кто делает подряд два длинных вдоха или два шага одной длины. Такие шаги нельзя назвать ни мужскими, ни женскими. Это, возможно, самые старые, гермафродитские шаги. Так ходили люди до разделения полов.
Существуют и другие женщины, характеру которых свойствен трехфазный ритм. У них в любви первый шаг всегда будет осторожным и коротким, второй длинным, а третий снова коротким, у них в начале любого дела как бы не хватает сил вдохнуть полной грудью, но следующий их ход всегда будет сделан на полном вдохе, и за ним снова последует движение вполсилы, вполвдоха. Мужчины с такими женщинами никогда не могут правильно оценить ситуацию. Потому что мужчины не умеют считать до трех.
Что касается мужчин, природа которых проявляется в трехфазном ритме, для них характерен один решительный длинный шаг, за которым следуют два коротких шажка. Это те мужчины, которые часто упускают свой шанс. И наконец, некоторые редкие характеры отличаются тем, что у них за двумя короткими, нерешительными шагами всегда идет один энергичный и длинный. С такими нелегко справиться, такие всегда рассчитывают на длинную дистанцию и, как правило, добиваются того, что задумали…
Любой человек, в том числе и ты, может сообразить, к какой категории он относится, и найти свое место в этой древней иерархии.
– А у тебя какое в ней место? – спросила она, но ответа не получила. Искать ответ ей пришлось самой.
Когда в сентябре подошло время экзамена, мы договорились в день, назначенный для сдачи, встретиться утром и вместе пойти на факультет. Она очень волновалась, поэтому ее не особенно удивило, что я не только не пришел на встречу, но и вообще не появился на факультете. Уже после того как она сдала экзамен, у нее возник вопрос: а что же произошло со мной? Но меня нигде не было. Я не знаю, был ли у нее все это время какой-то любовник или нет и ожидала ли она, что после экзамена, в соответствии с нашим договором, мы встретимся не для того, чтобы заняться математикой. Теперь как раз наступил тот момент, о котором она сказала «после экзамена посмотрим». Но мы не посмотрели. Так или иначе, я не появлялся до самой весны.
«Много чести», – подумала она и решила выбросить меня из головы, но, вне всякого сомнения, иногда у нее возникал вопрос: «Чем же он все-таки занимается? Должно быть, он из породы тех, вечно улыбающихся, которые покупают товар на Востоке, а продают на Западе».
В ту пору, когда нужно было готовиться к сдаче «Математики 2», однажды утром она столкнулась со мной на факультете, с интересом отметив новые заплаты на моих локтях и отросшие волосы, каких она раньше не видела. Все повторилось в точности, как и в первый раз. Каждое утро в определенное время я появлялся у нее, она проходила сквозь зеленоватый и слоистый воздух огромной квартиры, как сквозь воду, в которой струились холодные и теплые течения, открывала дверь, и, хотя была еще сонной, взгляд ее оставался таким же, как всегда, – от него разбивались зеркала. Несколько мгновений она наблюдала за тем, как я выжимаю бороду в шапку и снимаю перчатки. Соединив большой и указательный пальцы, я, резко взмахнув кистями рук, одновременно выворачивал перчатки наизнанку, в результате чего обе мои руки мгновенно освобождались от них. Как только с этим бывало покончено, мы без промедления приступали к работе. Она была полна решимости заниматься в полную силу и ежедневно доказывала это на деле. Мы сидели перед настенным телевизионным экраном, темным и таким же немым, каким немым был все это время и ее музыкальный центр. Устав смотреть на монитор, заполненный уравнениями, она переводила взгляд на мои ноги, одна из которых всегда была готова сделать шаг, а другая оставалась в полном покое. Потом они менялись ролями. С непреклонным упорством и систематичностью она входила в мельчайшие детали предмета, независимо от того, стояло ли утро, и мы после завтрака на свежую голову еще только начинали работу, или же занятия приближались к концу и темп падал. Она не пропускала ни одной мелочи. Казалось, она спешит наверстать что-то упущенное раньше. Иногда она, повернувшись ко мне своим широким лицом, задумчиво смотрела на меня прекрасными глазами, между которыми оставалось место для целого рта. Или же крестила меня высунутым языком. Но я по-прежнему придерживался нашего договора. По-прежнему я уходил в час дня, и вскоре она снова заметила, что мне не удается сохранять концентрацию, что мои взгляды стареют за один час и что я отстаю в знаниях.










