Камины и печи: выбор, дизайн, строительство

- -
- 100%
- +

Введение
Еще десять лет назад никто и не подумал бы, что наличие печи в доме станет показателем престижа, основательности и серьезности хозяев. Какое-то время даже бытовало мнение, что русская печка – символ горестной жизни простого крестьянина. Зато теперь печь, отделанная специальными изразцами, выполненными под заказ знаменитым мастером, может стать главной причиной гордости в доме.
Растущая популярность загородного строительства и печного отопления вернула из небытия профессию печника. Со временем в связи с доступностью новейших строительных материалов у огромного количества людей появилась возможность сложить печь своими руками. Согласитесь, ничто не сравнимо с удовольствием сделать это самому и потом по праву хвалиться перед близкими и друзьями.
Данная книга – самоучитель печной и каминной кладки, предназначенный для тех, кто хотя бы примерно представляет, где приобрести кирпич, как заготовить раствор, сделать печь либо камин ключевым акцентом интерьера, организующим все остальное жилое пространство. Здесь кратко рассказывается о стилях и направлениях декора, в которых может быть выполнен источник отопления, приводится примерное соотношение материалов, необходимых для возведения той или иной модели.
Большая часть книги посвящена печной кладке, как более сложной: практически каждый ряд кирпича выкладывается по индивидуальной раскладке. В строительстве камина основная часть рядов просто повторяется, трудности представляет лишь выполнение сложных арочных перекрытий, о которых рассказывается в соответствующей главе. Вы научитесь готовить и заливать автономный печной фундамент, правильно выкладывать и выводить на крышу дымовую трубу. Кроме того, в книге рассказывается, как отремонтировать печь либо камин в случае непредвиденного повреждения, пользоваться источником отопления правильно, «разогнать» сооруженные только что печь или камин и добиться, чтобы они как можно скорее заработали в повседневном режиме.
На страницах издания описаны все основные технологии кладки и приведена порядовка наиболее популярных моделей печей и каминов, а также даны рекомендации, сообразующиеся с преимуществами и недостатками каждой модели.
Глава 1
Тысячелетия с очагом
Камин (или, если угодно, печь) придумал первобытный человек, которому надоело сидеть у костра ночь напролет, поддерживая огонь. Житель каменного века обложил очаг камнем – и стало меньше шансов, что огонь потухнет.
С пышными каминными залами ассоциируются рыцари или английские лорды. Печи – это эпоха Ивана Грозного, Петра I и, разумеется, топящаяся по-черному курная изба, знакомая со школьных учебников по поэмам Некрасова.
На славянских землях источником отопления в течение многих столетий служил курной очаг без трубы. Он был глинобитным, то есть из глиняного раствора, и являл собой переносной горшок, который наши предки ставили прямо на пол. Дым выходил через приоткрытую дверь. Со временем люди додумались сделать отверстие в потолке – дым стал подниматься на чердак, а затем через щели в кровле уходил в небо. Следующим шагом в достижении комфортности отопления стали дымники – прообраз будущих деревянных труб из плотного теса, которые сменились кирпичными.
В XV веке русская печь стала выглядеть примерно так, как выглядят модели, сохранившиеся в российской глубинке по сей день. Декорировать источник отопления начали в эпоху правления Петра I – в России переняли голландскую технологию изготовления гладких изразцов, которыми и начали облицовывать печи, называя их «голландками». Некоторое время спустя русским источником отопления заинтересовалась Европа, и печники начали ездить на чужбину, где выкладывали совершенно уникальные очаги. Камин в это же время начал проникать в дома русских помещиков, и не столько для обогрева усадеб, сколько для придания задушевной атмосферы вечерним чаепитиям. Одним словом, русские вдруг увидели красоту камина и пожелали ощутить с ее помощью поэтику родового гнезда, а избалованные пышностью западной католической культуры европейцы захотели по-настоящему согреться.
Эволюция камина
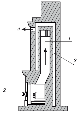
Слово kaminos – латинское, переводится как «очаг». Жители древней Западной Европы в какой-то момент поняли, что самое главное – это устройство, куда мог бы выходить дым, не отравляя воздух в помещении. Так у камина появилась длинная труба, над которой возвышался раструб в форме конуса, предназначенный собирать дым. На камин в современном понимании очаг стал похож во времена Великой Римской империи, когда мастера сконструировали специальное устройство из поддерживающих трубу балок, которые давали возможность разместить камин в центре помещения так, чтобы было тепло всем присутствующим (рис. 1.1).

Рис. 1.1. Камин изнутри: 1 —дымовая труба; 2 – канал для входа холодного воздуха; 3 – отверстие для выхода нагретого воздуха в помещение
Понадобилось несколько столетий для того, чтобы камин стал прилегать к стене. Это перемещение в пространстве стало шагом к смыканию топки и дымохода (рис. 1.2).
В раннее Средневековье никому не приходило в голову украшать камины. Ими просто пользовались – топили с утра до ночи, так как камин дает тепло только во время топки, и постоянно готовили пишу. Средневековая монашеская аскеза уступила место интерьерности жилища. Желание властителей того времени жить в красоте не обошло и камин. Поначалу архитекторы стали включать его в общую стилистику помещения, а затем и вовсе отталкиваться именно от источника отопления. Каминный зал стал таким же важным, как королевская гостиная.

Рис. 1.2. Камин изнутри: 1 —дымовая труба; 2 – чугунная решетка; 3 – канал для циркуляции воздуха; 4 – канал для выхода нагретого воздуха
Главным материалом средневековых печников был тесаный камень, затем кирпич. С наступлением эпохи Возрождения это сырье использовалось лишь в небогатых домах. Основным желанием было видеть у себя портал из гранита либо мрамора, декорированный флорентийской мозаикой и резными украшениями над каминными полками.
ЭТО ИНТЕРЕСНО
В эпоху Средневековья были созданы первые камины, вошедшие в сокровищницу мирового монументального зодчества. Например, знаменитый камин аббатства Мон-Сен-Мишель, вокруг которого собирались в огромном количестве французские рыцари-паломники. Каминное устройство по размерам тождественно объему большой современной городской комнаты, а в топку без труда помещалась целая бычья туша – ее зажаривали целиком.
В середине XIII века начали приглашать знаменитых мастеров для украшения каминов. Портал отопительного устройства становится палитрой художника и полем действия скульптора. На камине появляются башенки замков и шпили соборов, барельефы с изображениями рыцарских турниров и охоты, а в палаццо итальянских купцов – иронические бытовые сцены из жизни простонародья.
Знать VI–XII веков, чей быт и привычки породили романский стиль, мало ценила комфорт повседневного обихода. В фаворе скорее были аскеза и пренебрежение к пышности убранства. Камины, выполненные в романском стиле, ассоциируются с античными порталами. Данный стиль апеллирует к античности, навевая мысли о древней неспешности и мудрой суровости, взывая к подавляющему бесстрастному величию. Спокойствие и гармония сводчатых перекрытий, вырастающих из стен барельефов, делают неуместным какое-либо украшательство. Светлый камень, преображенный скупым резцом художника, создает ощущение торжественности.
Из Северо-Восточной Франции в XII веке начал триумфальное шествие по Западной Европе самый, пожалуй, экзальтированный и пафосно-скорбный стиль средневекового искусства — готический. Сначала под его влиянием оказывается архитектура, а вслед за ней и пластика. Возведенные в готическом стиле храмы и даже светские здания призваны будоражить в созерцающем религиозный экстаз, толкать душу вверх, возводить глаза к небу. Основные признаки готики («летящие» стрельчатые своды, высокие вытянутые окна от пола до потолка) нашли свое отражение и в конструкциях каминов. Порталы отопительных устройств в сознательном нарушении пропорций вытянуты вверх, художнику важно асимметрично удлинить камин, минимизировав его ширину.
Началом XV века датировано первое появление фрагментов, являющихся принадлежностью современного камина. Так, уже в эпоху готики появилась чугунная декоративная плита, предназначенная для защиты стены, к которой примыкал камин, от постоянного воздействия высокой температуры.
Устав от религиозной доминанты, в конце XVI века европейцы стали отдавать предпочтение барокко. Дословный перевод – «раковина причудливой формы». Под этим прекрасным вербальным образом подразумевается господство кривых линий, складывающихся в особую динамику и ритмику рисунка, пластика гротескно выгнутых деталей, витые колонны, изобилующие филигранными резными и лепными деталями рамки и карнизы. Барокко выражает изысканность настолько, насколько романский стиль отвергал ее, а готический презирал.
С наступлением эпохи Возрождения оформление портала отопительного устройства стало полноценным жанром пластического искусства. Появляются камины-шедевры, над которыми великие художники трудились в течение нескольких лет. Порталы изначально создаются огромными, с широким полем деятельности для их облицовки мрамором, розовым гранитом, флорентийской мозаикой и германскими изразцами, возведения колонн и пилястров, покрытия венецианской резьбой. Соответственно требованиям эстетов менялась технологическая конструкция камина – увеличение портала повлекло за собой расширение всей прилегающей к стене площади каминного массива, а также дымосборника.
В отопительных конструкциях того времени трудно провести грань между мастерством и излишеством, зато культ каминного убранства достигает своего апогея. Портал отопительного устройства тонет в украшениях, каминная полка превращается в выставку произведений искусства. Именно в эпоху барокко модным стало украшать не только сам портал, но и продумывать богатое структурированное пространство вокруг него.
Барокко был стилем дворцов. В королевских пенатах, как известно, мода изменчива, капризна и недолговечна. Монархические династии – единственные ее законодатели. На смену барокко приходит рококо – новая страница дворцовой жизни Франции, воспетой Александром Дюма и супругами Голон. Венценосный кутюрье Людовик XV создает собственный стиль. Интерьеры своего дворца он хочет видеть целостными ансамблями. Однако при всей нарочитой пышности форм, жеманности и манерности рококо проигрывает барокко в легкости – неотъемлемом достоинстве высокого искусства. Стиль Людовика XV перегружен деталями, он утомляет, зато камин – главный в эпохе рококо. Создание интерьера начинается с возведения уникального, пышного, ажурного отопительного устройства, а уж потом подбирается дополняющее камин убранство гостиной либо опочивальни. Мраморный портал весь в завитках и раковинах, барельефах и скульптурах. Кажется невероятным, что его можно было топить!
Эпоха барокко и рококо научила эстетов любить маленькие вещи – мастера соревновались в минимализме каминных украшений. Декораторы рококо придумали легкие стеновые панели, окружающие отопительное устройство, нежные, хрупкие карнизы и огромные зеркала, размещенные над порталами. Каминная полка стиля рококо немыслима без обилия массивных сосудов «под старину», покрытых сложной резьбой либо художественной росписью, ваз из восточного фарфора и фаянса, маленьких глазурованных флакончиков, фигурок пастухов и пастушек, дам и кавалеров. В центре обычно располагались большие часы, а по краям симметрично размещались канделябры.
На смену королевскому великолепию пришел педантизм буржуазных революций, как известно, более прагматичный, отразившийся и на каминах.
Буржуа осознали себя хранителями традиций, в том числе античных, как ода которым возник классицизм, основанный на подражании совершенству древних греков и римлян. Этот стиль возник в XVIII веке как показательное отторжение ужимистой манерности, навязчивой вычурности доведенных до безвкусицы крайностей барокко и рококо. Никаких украшательств – только строгая польза и ясное видение мира. Реалисты-прагматики хотят видеть в своем доме прямые линии, простые, четкие формы, симметричную геометрию. Для декора остается место, но оно минимально – не более чем две небольших виньетки в углу прямоугольного каминного портала.
Классицизму не хватает торжественности, а подлинное искусство невозможно без некоторой доли пафоса. Во Франции приходит к власти Наполеон, его имперская власть не может сочетаться с сухостью эмоций. В 1803–1813 годах возникает стиль ампир. Господство в оформлении интерьеров переходит к монументальным, статичным, мемориально застывшим формам. Как и классицизм, ампир культивирует упорядоченность, уравновешенность фрагментов, их безукоризненную симметрию и последовательность.
Отопительные устройства этой эпохи обрамлены колоннами, пилястрами, у подножия восседают сфинксы, каминную полку удерживают на плечах атланты и кариатиды, а венчают грифоны. Очень популярен преимущественно флористический орнамент, состоящий из символов величия – венков и меандров. Ампир держится долго, он хранит свои позиции практически весь XIX век. Именно в это время для художественной отделки топки стал использоваться огнеупорный кирпич. Мастера начали художественно исполнять внутренности камина – колосниковую решетку, на которой в топке лежат дрова, а также решетчатый золосборник, предназначенный для того, чтобы остатки продуктов сгорания не препятствовали доступу свежего воздуха в топку, дающего углям возможность прогореть полностью.
Потеснить ампир смог лишь викторианский стиль, эклектичный по своей сути, вобравший в себя лучшее от всех стилей– предшественников. Его находка – знаменитый камин Шерлока Холмса, оснащенный литой чугунной топкой. В портале отопительного устройства появилось новшество – вставки из расписанной вручную эмали, которым раньше отдавали предпочтение буржуа. Народный вектор этого стиля отличается деревянными порталами, расписными композициями из цветов и птиц, а также простонародными игривыми жанровыми сценами. Современники снисходительно называли викторианский стиль «стилем подставок и верхушек», имея в виду безыскусное стремление мастеров к обилию деталей и общую перегруженность.
ЭТО ИНТЕРЕСНО
Именно викторианский стиль оказался внимателен к разнообразнейшим каминным аксессуарам. Разумеется, и прежде топка камина не мыслилась без щипцов для переворачивания горящих дров, большой вилки для разрыхления топлива, щетки с длинной ручкой, совка для чистки топки, меха для раздувания огня. Однако викторианские мастера захотели сделать эти вещи красивыми, а самое главное – придумали новые. Например, приспособление, которым можно было разбивать горящие угли на более мелкие кусочки (сегодня оно называется кочергой), красивые ведерки и ящики для угля (позже в моду вошли покрытые деревянной резьбой ящики, а также решетки для топлива).
Изюминкой викторианского стиля стал украшенный живописью либо гобеленом каминный экран. Иногда он даже выполнялся в виде специальной сетки, позволяющей любоваться плясками язычков пламени в топке. Очень скоро мастера поняли, что каминный экран, помимо того что красив, снижает и риск пожара, предохраняя деревянный пол от попадания на него горящих углей из топки.
Мировые войны не только коренным образом изменили облик мира, но и заставили полностью переосмыслить ценности искусства. Первая мировая война породила стиль модерн, Вторая – ар-деко.
Модерн отверг прямые линии в поисках особой изысканности традиционных флористических мотивов, которым старательно придавался эротический подтекст. Именно в то время мастера решили поэкспериментировать с месторасположением отопительного устройства, найдя такие варианты его размещения, как центральный камин-очаг, пристенный и встроенный. В эпоху модерна в отделке часто сочетались мрамор и керамика, литье и ковка.
Стиль ар-деко, возникший после Второй мировой войны как вызов классическим ценностям, сделал ставку на индивидуальность. По сути, этот стиль позволил художникам творить по наитию, не страшась выйти за рамки. Если сегодня вы пообщаетесь с молодыми дизайнерами, то увидите, что они склонны относить к стилю ар-деко все непохожее, разовое, индивидуальное, неповторимое, шокирующее, смелое и вызывающее.
Современные стили выполнения каминного портала
Все стили, о которых было рассказано ранее, отнюдь не ушли в прошлое. Сегодня при разработке дизайнерского решения какого-либо интерьера к ним добавляется приставка «под» – «под готику», «под ампир». Так обычно происходит, когда речь идет об оформлении интерьера, стилизованного под какое-то основное направление. Допустим, вы точно знаете, классическая у вас будет гостиная или, наоборот, «техногенная», урбанистическая, подчеркнуто ультрасовременная, напичканная новыми вещами, сияющими матовыми и глянцевыми поверхностями. Современный камин может быть даже ярко-салатовым с металлическим отливом (если, конечно, к нему располагает ваше мироощущение).
Сегодня оформление источников отопления является одним из центральных мотивов творчества современных дизайнеров. Советуя вам что-либо, прежде всего они основываются на таких критериях: для чего вам нужен камин, каким занятиям вы будете у него предаваться и что больше любите делать. Ведь одно дело – камин для кухни, другое – для спальни и третье – для кабинета, совмещенного с библиотекой (в большом доме каминов может быть и несколько).
Камин, как правило, является визитной карточкой владельца дома. Следовательно, сегодня говорится о стилях оформления каминов с точки зрения не искусствоведения, а утилитарного использования. Современные мастера работают в четырех направлениях, или, если угодно, стилях.
Первый из них – романтический, основанный на традициях романтизма, готики и раннего барокко. Пример – камин, выполненный в средневековом стиле, сложенный из необработанного камня или кирпича с открытой кладкой. Он помогает вам уподобить хотя бы часть своего дома старинному замку. Но помните, такой источник отопления весьма требователен – ему непременно нужны оштукатуренные стены, столы из резного дуба, балочные потолки.
Второй стиль выполнения каминов – классический. Он для тех, кто хочет сделать свой холл похожим на кабинет королевы Виктории, не только беседовать здесь с домочадцами, но и принимать важных гостей.
Третий стиль – кантри. Он открывает наиболее широкий простор для украшения портала, об этом рассказывается в главе «Декоративная отделка портала камина. Основы дизайна», посвященной классификации каминов по использованию основных и декоративных материалов (см. главу 8). Стиль кантри подразумевает легкость, народность, уютность, культ домашнего очага. Это то, что вам просто нравится в сочетании с безделушками, сувенирами и занавесочками.
Четвертый стиль – так называемый современный, или городской (ошибочным будет сводить его только к хай-тек либо к минимализму). Это направление для тех, кто больше всего ценит присутствие в доме лишь необходимых (новых, качественных и престижных) вещей, в декорировании жилья готов ограничиться одной-двумя картинами либо инсталляциями, а камин воспринимает именно как источник красоты живого огня, не нуждающегося в дополнительном искусственном обрамлении.
История русской печи
Русская печь – невероятная долгожительница, ведь ей более тысячи лет. Именно благодаря своей уникальности она заслуживает столь пристального внимания – все последующие разработки и инновации русских гениев отопительного дела совершались на основе ее конструкции. Показательно, что многие владельцы современных новых домов, особенно деревянных, для поддержания единства стиля хотят греться именно у нее. В русской печи нет привычных, имеющихся во всех остальных моделях поддувала и топки, в которой бы одновременно совмещались отсек для приготовления пищи и чугунный настил-плита с конфорками.
Вернемся к истории печи в узнаваемом нами современном виде. До самого XV века у русского отопительного устройства не было трубы и топилась она по-черному. По большому счету, называть печью этот глинобитный очаг пока преждевременно. Однако русская изба отнюдь не была вся в копоти. Наши предки хорошо понимали, что полдела в процессе грамотной топки – это умение выбирать, заготавливать и хранить дрова. Сверху они клали любые породы, но снизу только осину, и топливо у них, между прочим, сгорало полностью. Сажа скапливалась лишь у верхней притолоки избы или возле специального «волчка» (так называемого волокового оконца, то есть проделанной в стене щели в диаметр бревна, которая закрывалась заволокой) – там, где оседал дым.
Со временем топку по-черному сменила топка по-серому – обитатели избы догадались выпускать дым через потолочные щели на чердак. Оттуда дым рассеивался во все стороны через слуховые окна и щели в кровле.
В конце XV века в русских деревнях появилась печная кладка – наши предки научились сами обжигать кирпич. Вскоре возник прообраз современной дымовой трубы – это был деревянный дымник, торчащий из крыши. Его сменила труба из теса, начинающаяся непосредственно от потолочной дыры, – понятно, что тяга стала куда как лучше. Спустя столетие над устьем горнила печи, то есть над топкой, появился колпак для сбора дыма. Он был соединен с трубой и назывался «чело», а понятием «перетрубье» стало обозначаться место, где очаг соединялся с трубой. Правда, у конструкции был минус: тяга стала просто замечательной, а вот риск пожара возрос значительно. Поэтому, хотя кирпичная труба и была для наших предков слишком дорогим удовольствием, со временем она сменила деревянную.
Русская печь была воистину сердцем повседневной материальной культуры. Раннее утро в семье начиналось с ее топки – в горнило, поближе к устью, загружались дрова. Спустя три часа можно было убирать угли и золу, подметать под и сажать в печь хлебы, а также ставить горшки. Устье закрывалось заслонкой.
Своей функциональностью русская печь соответствовала практически всем бытовым потребностям сельского жителя: согревать избу, спать в тепле лежанки старикам и малышам, греть воду во встроенном котле, сушить промокшую одежду и собранные грибы-ягоды, печь хлеб и подключать трубу самовара.
ЭТО ИНТЕРЕСНО
Еда в крестьянской печи получалась очень вкусной – ведь она часами томилась в чугунных и глиняных горшках, пока хозяева работали в поле.
Однако русские инженеры признавали несовершенство русской печи и работали над ее модернизацией. Дело в том, что у русской печи есть один серьезный недостаток – расстояние от пола до пода не прогревается. В главе «Типы и виды печей и каминов» подробно рассказывается, почему так происходит. В морозные дни пол в избе мог даже покрыться ледяной коркой, так как он вообще не обогревался – теплый воздух устремлялся вверх.
Одни мастера предлагали устроить у задней стенки отсека для приготовления пищи автономное поддувало с колосниковой решеткой. Это дало эффект, но несколько иной: в отсеке для приготовления пищи температура действительно стала выше, так как топливо у задней стенки стало гореть интенсивнее и жарче. Однако поверхность печи от пола до потолка так и не прогрелась. Другие мастера попытались соорудить параллельные восходящие дымообороты, по которым горячий пар поднимался бы вверх из отсека для приготовления пищи, а затем по каналу спускался снова к дымооборотам, двигался вниз и только потом направлялся в дымовую трубу (рис. 1.3).

Рис. 1.3. Устройство печи: 1 – шанцы; 2 – поддувало (зольник);
3 – поддувальная дверца; 4 – колосниковая решетка; 5 – топочная дверца; 6 – под (имеет скат к решетке); 7 – топочная камера; 8 – хайло, или прогар; 9 – свод топки; 10 – камера (виден душник); 11 – наружная стенка; 12 – дымооборот; 13 – перекрыша печи; 14 – дымоход (к трубе); 15 – отступка (зазор между дымоходом и печью); 16 – канал; 17 – дымовая задвижка; 18 – внутренние тепловоспринимающие стенки










