Изобретено на Урале. Сборник изобретений и технологий

- -
- 100%
- +
СПОСОБ ЗАКРЫТИЯ ЛЮКОВ ЖЕЛЕЗНОДОРОЖНЫХ ПОЛУВАГОНОВ И УСТРОЙСТВО ДЛЯ ЕГО ОСУЩЕСТВЛЕНИЯ
Разработчик: Федеральное государственное бюджетное образовательное учреждение высшего образования «Уральский государственный университет путей сообщения»
Авторы: Зубков В. В., Сирина Н. Ф, Русин Д. Л.
Способ закрытия люков железнодорожных полувагонов и устройство для его осуществления – (Патент №2728155).
Авторами разработан способ закрытия люков железнодорожных полувагонов источником механической энергии в виде пневматических приспособлений (пневматических домкратов), не имеющих жесткой фиксации, которые устанавливают под открытыми крышками люков и в междушпальном пространстве рельсошпальной решетки таким образом, чтобы штоки пневматических домкратов с установленными на них держателями вертикально направлялись на рабочую поверхность крышек, при этом в качестве источника пневматической энергии для питания пневматических домкратов используют локомотив, предназначенный для организации производства маневровой работы.
Применение данной технологии целесообразно на железнодорожных путях общего и не общего пользования, где осуществляется выгрузка железнодорожного подвижного состава, а также, где осуществляется погрузка железнодорожного подвижного состава с подготовкой вагонов к погрузке с открытием люков.

Способ закрытия люков железнодорожных полувагонов и устройство для его осуществления
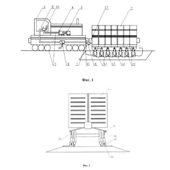
Способ закрытия люков железнодорожных полувагонов включает закрытие люков источником механической энергии в виде не имеющих жесткой фиксации пневматических домкратов (14), устанавливаемых под открытыми крышками люков (15) и в междушпальном пространстве рельсошпальной решетки таким образом, чтобы штоки пневматических домкратов с установленными на них держателями вертикально направлялись на рабочую поверхность крышек люков (15). В качестве источника пневматической энергии для питания пневматических домкратов используют локомотив (1), предназначенный для организации производства маневровой работы. Устройство для закрытия люков железнодорожных полувагонов содержит установленные в маневровом локомотиве (1) двигатель (3) пневматического компрессора (4), пневматическую магистраль локомотива, концевой кран локомотива, между приводное соединение, клапан сброса давления, систему управления потоком сжатого воздуха и устанавливаемые под открытыми крышками люков и в междушпальном пространстве рельсошпальной решетки не имеющие жесткой фиксации пневматические домкраты (14), на рабочих поверхностях штоков которых установлены держатели. Изобретение сокращает время закрытия люков железнодорожных полувагонов, потребляемые энергетические ресурсы, упрощает конструкцию, минимизирует трудозатраты и снижает расходы для осуществления процесса закрытия люков полувагонов.
Питательные коллоидные растворы на базе структурированной воды
Разработчик: ООО «Электротехнический альянс»
Авторы: Дьяков М. В.
Автором разработан метод преобразования молекул воды в ассоциативную структуру, при которой молекулы в жидкости не разбросаны хаотически, а «зацеплены» друг за друга, образуя некоторое подобие макромолекулы. Такое состояние жидкости достигается посредством частотного гидравлического воздействия, реализуемого аппаратом – «АКВАВИТ».
Воздействие данных физических явлений приводят жидкость в возбужденное молекулярное состояние, которое сопровождается повышением температуры, удалением растворенных газов, увеличением кислотно-щелочного баланса pH, уменьшением окислительно-восстановительного баланса ОВП, уменьшением электрического сопротивления, увеличением электропроводности.
При растворении в такой воде различных веществ, их действие усиливается многократно, что позволяет создавать коллоидные растворы самого широкого спектра действия, для применения их в таких областях, как :

Сертификат соответствия биодобавки – «Аквагумат», и аппарат производства структурированной воды – «Аквавит»
● Растениеводство
(увеличение приживаемости и морозоустойчивости, сокращение сроков созревания культур с пониженным содержанием нитратов и тяжелых металлов)
● Животноводство, птицеводство, звероводство, рыбоводство
(увеличение выживаемости экологически чистой продукции)
Последние исследования в Хорватии показали устойчивые результаты по увеличению массы бройлеров от 460 до 780гр. (отдельные экземпляры). При использовании питательных коллоидных растворов бройлеры опытной группы потребляли меньше корма в сравнении с основной массой птиц, кроме того, падеж составил 0,5%.
●Медицинские центры, косметические салоны, фитнес-центры (повышение иммунитета, очищение организма, восстановление работы различных функций работоспособности).
Исследования структурированной воды фирмы ООО «ЭЛТА» в
Уральской Государственной Медицинской Академии показали, что она обладает выраженными поляризационными характеристиками. Наличие такой поляризации прямо указывает, на более высокую адекватность к живому организму, ибо такая вода имеет возможность обеспечить синтез белка и существенно повлиять на оптимальное функционирование живых клеток, тканей и органов человека.
Из заключения: «Выявлено, что данная вода обладает благоприятным воздействием на функциональные системы организма человека: приводит к нормализации отклонений вегетативной нервной системы, что соответственно оптимизирует психофизиологическое состояние организма человека, соответственно усиливает иммунитет. Вода может использоваться как оздоровительный компонент лечебного процесса. Рекомендуется использовать данную воду как фактор, благоприятно воздействующий на иммунитет и психофизиологическое состояние организма человека».
Способ лечения и профилактики самопогрызания шерсти у шиншилл
Разработчик: ФГБОУ ВО «Уральский государственный аграрный университет»
Авторы: Дрозд М. Н., Усевич В. М., Усевич В. Н.
Способ лечения и профилактики самопогрызания шерсти у шиншилл – (Патент №2785908).
Авторами разработан способ лечения и профилактики самопогрызания шерсти у шиншилл, возникающей на фоне иммунодефицита.
Способ апробирован в центре реабилитации животных Уральского ГАУ и питомнике шиншилл Свердловской области.
Данная немедикаментозная профилактика необходима предприятиям по выращиванию шиншилл всех форм собственности Российской Федерации.
Изобретение относится к области ветеринарной медицины и касается немедикаментозной профилактики болезней с синдромом самопогрызания шерсти и нарушения обмена веществ у шиншилл. Для этого шиншиллам осуществляют курсовое ежедневное скармливание кормовой минеральной добавки – КМД «БШ-ВИТ» состава, мас.%: Al2O3 – 20—30; SiO2 – 20—25; Fe2O3 – 10—15; CaO – 8—12; Na2O – 12—15; SO3 – 3—5; K2O – 0,3—0,5; KJ – 0,2 в смеси с сухим порошком из ягод облепихи в равных объемных долях в виде фитоминеральной кормовой добавки – ФМКД. Доза КМД «БШ-ВИТ» составляет 0,2 г. на 1 кг. живой массы шиншилл один раз в сутки, а порошка облепихи 0,1 г. на 1 кг. живой массы, при этом продолжительность курса составляет 30 дней. Изобретение обеспечивает лечение и профилактику синдрома самопогрызания шерсти у шиншилл без создания стрессовых ситуаций для животных.
Минеральная кормовая добавка – альтернатива неорганическим сорбентам и другим минеральным добавкам, содержит 32 минерала, является высокоэффективным экологически чистым продуктом, безвредным для людей и животных. Для ее производства используется местное отечественное сырье.

На Фиг. 1. А, Б, В представлено состояние шерстного покрова животных первой группы до начала исследования (фото). На Фиг. 2 А, Б, В представлен внешний вид животных первой группы через 3 месяца после прекращения скармливания ФМКД, мех выглядел восстановленным
СПОСОБ ПОВЫШЕНИЯ РЕЗИСТЕНТНОСТИ У ЖИВОТНЫХ
Разработчик: ФГБОУ ВО «Уральский государственный аграрный университет»
Авторы: Дрозд М. Н., Усевич В. М., Усевич В. Н.
Способ повышения резистентности у животных – (Патент №2802588).
Авторами разработан способ повышения естественной резистентности у животных, что приводит к повышению сохранности поголовья, улучшению качества откорма и получению продукции животноводства высокого санитарного качества.
Способ найдет применение в лечебно-профилактической работе на: молочно-товарных фермах, предприятиях по выращиванию и откорму мясного скота, звероводческих и фермерских хозяйствах.
Современные условия ведения сельскохозяйственного производства диктуют создание оптимальной интенсивной технологии, позволяющей получать максимальное количество продукции животноводства в кратчайшие сроки. Процессы интенсификации способствуют повышению стресс-нагрузки на организм животных и птиц. Любые стресс-факторы в первую очередь снижают естественную резистентность, что ведет к развитию вторичных иммунодефицитных состояний. В условиях стресса иммунная система снижает свою защитную функцию, и организм подвергается агрессивному воздействию различных патогенов, к которым относятся различные микроорганизмы, простейшие, грибы и вирусы. Кроме того, нарушается приспособляемость организма к меняющимся условиям внешней среды. При этом страдают взрослые животные и новорожденные, у которых только происходит окончательное созревание и устанавливаются функции органов и систем. Причем молодой организм формируется с какими-то поломками в системе адаптации. Отдельного внимания заслуживает использование средств, нивелирующих отрицательное негативное влияние некачественных кормов. Часто нарушаются условия заготовки и хранения кормов – это ведет к порче корма, обсеменению спорами гнилостных грибов, их размножению и активному росту спор грибов, обсеменяющих растительные корма в период вегетации. Условия и способы подготовки кормов к скармливанию не способствуют устранению этих патогенов.
Способ, предназначенный для повышения естественной резистентности у животных, включает применение кормовой минеральной добавки «БШ-ВИТ» в качестве минерального адаптогена дополнительно к используемым витаминным добавкам, премиксам по рецептуре хозяйства в течение 30—35 дней: по 0,3 г. на 1 кг. живой массы животного.
Способ обеспечивает снижение падежа и увеличение прироста живой массы.
«БШ-ВИТ» является высокоэффективным экологически чистым продуктом, безвредным для людей и животных. Для ее производства используется местное отечественное сырье (побочный продукт алюминиевого производства).
Способ обеспечивает нормализацию обменных процессов, восстановление естественной резистентности и восполнение дефицита недостающих минералов.
СПОСОБ ПОВЫШЕНИЯ РЕЗИСТЕНТНОСТИ И ПРОДУКТИВНОСТИ У ПТИЦ
Разработчик: ФГБОУ ВО «Уральский государственный аграрный университет»
Авторы: Дрозд М. Н., Усевич В. М., Усевич В. Н.
Способ повышения резистентности и продуктивности у птиц – (Патент №2802589).
Авторами разработан способ повышения естественной резистентности и продуктивности у птиц, что приводит к повышению сохранности поголовья, улучшению качества откорма и получению продукции птицеводства высокого санитарного качества.
Способ необходим птицеводческим предприятиям, фермерским хозяйствам всех форм собственности Российской Федерации.
Изобретение относится к области ветеринарной медицины, а именно к немедикаментозному повышению резистентности и продуктивности у птиц.
В качестве дополнительной кормовой добавки используют структурированный торфо-сапропелевый концентрат «Фитовит» под торговым названием «ГумиТорф-Фито».
Препарат используют в жидком виде смешанным с питьевой водой. Препарат выпаивают на протяжении всего периода выращивания ежедневно с 1 по 42 день в дозе 2,0 л на 1 м3 питьевой воды, за исключением дней плановой вакцинации.
Способ обеспечивает снижение падежа птицы и увеличение прироста живой массы, а также нормализацию обменных процессов, восстановление естественной резистентности и восполнение дефицита недостающих витаминов и минералов.
«Фитовит» является высокоэффективным экологически чистым продуктом, безвредным для людей и животных. Для ее производства используется местное отечественное сырье.
СПОСОБ ПРОФИЛАКТИКИ ВТОРИЧНЫХ ИММУНОДЕФИЦИТНЫХ СОСТОЯНИЙ У ПТИЦ
Разработчик: ФГБОУ ВО «Уральский государственный аграрный университет»
Авторы: Дрозд М. Н., Усевич В. М., Усевич В. Н.
Способ профилактики вторичных иммунодефицитных состояний у птиц – (Патент №2796855).
Авторами разработан способ для лечения и профилактики вторичных иммунодефицитных состояний у птиц, что приводит к повышению сохранности поголовья, улучшению качества откорма и получению продукции птицеводства высокого санитарного качества.
Способ найдет применение на птицеводческих предприятиях и фермерских хозяйствах всех форм собственности Российской Федерации в качестве лечебно-профилактической работы, ветеринарной санитарии, оценки качества получаемой продукции.
Изобретение относится к области ветеринарной медицины и касается профилактики развития вторичных иммунодефицитных состояний у птиц.
Способ профилактики вторичных иммунодефицитных состояний у птиц включает введение в рацион цыплятам кормовой добавки «ДиаГум», причем включают указанную добавку в качестве органо-минерального адаптогена дополнительно к используемым витаминным добавкам, премиксам по рецептуре хозяйства в течение 42 дней: с 1 по 14 день жизни в дозе 2 г. на 1 кг. живой массы, а с 15 до 42 день по 2 кг. на 1 т. комбикорма. Изобретение обеспечивает снижение падежа птицы и увеличение прироста живой массы.
Использованные готовые кормовые добавки – отечественного производства из местного сырья. Они обладают свойствами адаптогенов минерального, органического и органо-минерального происхождения.
Авторами определены оптимальные дозы и схемы применения их для лечения и профилактики иммунодефицитных состояний у птицы, а также для повышения качества получаемой диетической продукции птицеводства.
ПРИМЕНЕНИЯ «БУРСАНАТАЛ Р», В КАЧЕСТВЕ ЭКОЛОГИЧЕСКИ БЕЗОПАСНОГО СТИМУЛЯТОРА ПЕПТИДНОГО ПРОИСХОЖДЕНИЯ ДЛЯ ПРОФИЛАКТИКИ ЗАБОЛЕВАНИЙ И ПОВЫШЕНИЯ ПРОДУКТИВНОСТИ ПТИЦ НА РАЗЛИЧНЫХ СТАДИЯХ ОНТОГЕНЕЗА, ВКЛЮЧАЯ ЭМБРИОНАЛЬНЫЙ ПЕРИОД
Разработчик: Кольберг Наталья Александровна. доцент, к.в. н. Директор Единого лабораторного комплекса УрГЭУ, главный научный сотрудник Евразийского института человека, старший научный сотрудник института иммунологии и физиологии УрО РАН.
Авторы: Кольберг Н.А, Кольберг М.А, Травникова Д. А.
Патенты: РФ№2547843; РФ№2414227; РФ№2501307; РФ№2506811; РФ№2522247.
Авторами создан биологически активный препарат «Бурсанатал», обладающий иммуномодулирующим действием, основой которого является фабрициевая бурса птиц (фабрициевая бурса- орган созревания В-лимфоцитов, прямых потомков стволовой клетки).
«Бурсанатал» повышает: качество яиц, продуктивность кур-несушек, качество получаемого мяса, увеличивает живую массу. Эффективен в: неспецифической резистентности, гуморальном иммунитете, и его напряженности при инфекционных заболеваниях. Служит фагоцитарной активности полиморфно-ядерных клеток. В сравнении с классическими иммуностилмуляторами, иммунокорректорами, иммуномодуляторами лишен таких недостатков, как: токсичность, сложность технологии производства, высокая стоимость.
Результаты исследований препарата
• Пептиды из обогащенного яйца (от кур с повышенным иммунитетом) продемонстрировали ростовые и стимулирующие факторы сохранность мезенхимальных стволовых клеток и фибробластов человека
Конец ознакомительного фрагмента.
Текст предоставлен ООО «Литрес».
Прочитайте эту книгу целиком, купив полную легальную версию на Литрес.
Безопасно оплатить книгу можно банковской картой Visa, MasterCard, Maestro, со счета мобильного телефона, с платежного терминала, в салоне МТС или Связной, через PayPal, WebMoney, Яндекс.Деньги, QIWI Кошелек, бонусными картами или другим удобным Вам способом.





