Туалеты, компосты, утилизация отходов

- -
- 100%
- +
– температура при работе с этим клеем должна быть не ниже 10 °C.
При попадании на кожу отвердителя или готового клея пораженное место нужно как можно скорее протереть ацетоном, а затем промыть теплой водой. По окончании работы с клеем, а также во время перерыва в работе необходимо вымыть руки теплой водой.
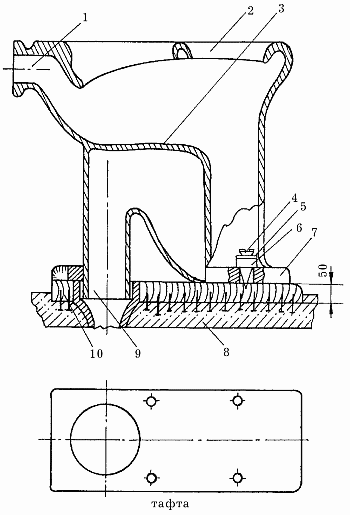
Крепление унитаза традиционным способом начинают с изготовления и установки тафты. Лучше всего для нее подходит толстая дубовая доска. Если унитаз с прямым вертикальным выпуском, отверстие под него отмечается на поверхности тафты. Отверстия высверливаются по периметру, а оставшиеся перемычки перерубаются стамеской (рис. 19).

Рис. 19. Установка унитаза с прямым выпуском на тафте: 1 – горловина; 2 – обод сиденья; 3 – тарельчатая чаша; 4 —шуруп; 5 – шайба; 6 – резиновая прокладка; 7 – прилив; 8 – цемент; 9 – выпуск; 10 – тафта с гвоздями.
Перед установкой тафту следует проолифить, чтобы продлить срок ее службы. А в ее нижнюю поверхность можно набить гвозди так, чтобы они выступали на 20–30 мм и надежно связывали тафту с цементной подушкой. Закончив все эти предварительные операции, подготовленную выемку в полу можно заполнять раствором и устанавливать тафту на место.
Когда цемент «схватится», приступают к установке самого унитаза. Надо смазать шурупы крепления жирной смазкой – эта превентивная мера облегчит возможную замену унитаза в будущем. Не стоит ограничиваться стандартными металлическими шайбами, чтобы исключить отколы и трещины. Под головки крепежных шурупов кроме шайб необходимо установить резиновые прокладки. Закрепив унитаз, раструб канализационной трубы герметизируют смоляной прядью и раствором цемента.
Предварительно проверив правильность установки унитаза, его привинчивают шурупами к дюбелям. Эту операцию необходимо проделать крайне осторожно, дабы не отколоть край унитаза у отверстия. Чтобы в дальнейшем можно было без лишних усилий снять унитаз, прикрепленный к тафте, шурупы перед завинчиванием смазывают тавотом.
Смывной бачок необходимо закрепить на двух шурупах еще до установки унитаза. При этом шурупы обязательно укрепляют на стене в дюбелях так, чтобы бачок стоял строго горизонтально.
Непосредственно перед установкой смывного бачка к нему на полу присоединяют смывную трубу диаметром 32 мм. Другой конец смывной трубы обмазывают суриком и обертывают льняной прядью, которую сверху также обмазывают. На конец трубы надевают резиновую манжету, которую приматывают к трубе тонкой проволокой. Другой конец манжеты выворачивают и натягивают на трубу.
Установка тарельчатых унитазов имеет несколько особенностей. При установке такого унитаза с прямым выпуском сам выпуск нужно соединять непосредственно с раструбом отводной трубы, который должен быть выведен заподлицо с полом. Унитаз устанавливают в соответствии с монтажными размерами.
К корпусу унитаза привертывают специальную арматуру для крепления сиденья. Подключение тарельчатых унитазов с выпуском под углом 30° к канализационной сети можно осуществить 2 способами. Один способ состоит в присоединении унитаза к 2-плоскостному тройнику, являющемуся частью канализационного стояка.
Другой способ состоит в том, что унитаз присоединяется к канализационной сети с помощью переходного тройника, являющегося частью отводной линии. В последнем случае унитаз устанавливают с откосом от канализационного стояка.
Также унитаз можно устанавливать с прокладкой отводной трубы над полом, открыто или в плинтусе. Поверхности для установки унитазов подготавливают с помощью электрического инструмента. В процессе обработки этим инструментом на подготовляемые поверхности с помощью корундового камня желательно нанести шероховатости, способствующие лучшему креплению унитаза.
Конец ознакомительного фрагмента.
Текст предоставлен ООО «ЛитРес».
Прочитайте эту книгу целиком, купив полную легальную версию на ЛитРес.
Безопасно оплатить книгу можно банковской картой Visa, MasterCard, Maestro, со счета мобильного телефона, с платежного терминала, в салоне МТС или Связной, через PayPal, WebMoney, Яндекс.Деньги, QIWI Кошелек, бонусными картами или другим удобным Вам способом.










