Разведение рыбы, раков и домашней водоплавающей птицы

- -
- 100%
- +
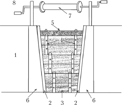
Количество и размеры ям определяют с учетом площади пруда, частоты изменения воды в нем и плотности зарыбления.
Для водоема площадью около 50 м2 с одним изменением воды через сутки и зарыбленностью 5–6 шт. на 1 м2 достаточно одной дафниевой ямы с оптимальным размером 3×2 м и глубиной 0,5 м.
При большей площади водоема, а также более плотной посадке рыбы количество дафниевых ям увеличивают; их ложе должно иметь плоскую прямоугольную форму, слегка пологую по краям.
Дафниевые ямы и соединительные каналы, по обыкновению, копают вручную.
Многие рыбоводы-любители увеличивают количество дафниевых ям, которые в значительной мере улучшают обеспечение рыб естественным кормом.
Водные растения, которые высаживают по периметру на первой ступеньке ложа (глубина 20–25 см), можно взять в озере или реке, прилегающих к пруду.
В прудах с родниковым водоснабжением вода плохо прогревается. Поэтому деревья нужно высаживать так, чтобы они не затеняли зеркало воды. Независимо от источников водоснабжения, дафниевые ямы не должны затеняться.
Определяя высоту защитного земляного вала, который предотвращает проникновение в пруд дождевой, талой и половодной воды, нужно учитывать крутизну склона окружающей местности и высоту повышения уровня воды в реке (озере) во время наводнения.
Водоем с речным водоснабжением
В прибрежной зоне даже на глубине 2–2,5 м не всегда можно найти сильные источники. В этом случае пруд должен иметь продольную форму вдоль реки. Ширина его может быть 5–6 м (это оптимальное расстояние для выкапывания котлована экскаватором с выбрасыванием грунта на обе стороны). Длину водоема проектируют, учитывая размеры дачного (приусадебного) участка. Два соединительных канала между рекой и водоемом будут обеспечивать проточное речное водоснабжение. Смена воды будет зависеть от длины водоема и скорости течения в реке.
Ширина и глубина соединительных каналов между водоемом и рекой должны обеспечивать проточность воды в пруду и могут быть от 0,25 до 0,5 м. В зимний период соединительные каналы часто промерзают, ухудшая кислородный баланс в водоеме. Для того чтобы этого избежать, можно проложить вместо соединительных каналов асбестоцементные трубы диаметром 250–330 мм, которые углубляют в воду на 0,5–0,6 м, а сверху присыпают землей. На входе и выходе труб устанавливают металлическую или капроновую сетку, так же как и в водоемах с родниковым водоснабжением.

Водоем с речным водоснабжением: 1 – река; 2 – искусственный пруд; 3 – дафниевые ямы; 4 – соединительный канал, который обеспечивает поступление воды; 5 – соединительный канал, который обеспечивает отток воды; 6 – надводная и подводная растительность; 7 – рамка с сеткой, которая препятствует выходу рыбы; 8 – прибрежные лесонасаждения; 9 – березовые насаждения вдоль водоема; 10 – защитный земляной вал; 11 – цветник
В таких водоемах вода хорошо прогревается, поэтому затенение зеркала воды от близлежащих деревьев допускается до 25 %.
Водоем с речным или родниковым водоснабжением через 8–15 лет частично заиливается, и потому его нужно чистить. Качественно это можно сделать только экскаватором (на базе МТЗ), однако его использование приводит к частичному разрушению оборудованной зоны отдыха, что, безусловно, нежелательно. Проблему можно решить с помощью миниатюрного земснаряда с электрическим приводом.
Пруд с ручьевым водоснабжением
Довольно часто под садоводческие кооперативы выделяют непригодные овражные земли. Оборудовать пруд в овраге с ручьевым водоснабжением несложно. Тем не менее, здесь нельзя допускать даже минимальных просчетов, поскольку проникновение воды в грунт может вызвать его переувлажнение на участках, расположенных ниже плотины, что в свою очередь отрицательно отразится на насаждениях фруктовых деревьев и даже может привести к неравномерному оседанию зданий и их разрушению. Известны случаи, когда непродуманное обустройство водоема становилось причиной сдвига грунтов. Поэтому надежнее сделать пруд с плотиной по возможности ближе к реке (озеру). Если же участок не прилегает к реке (озеру), то необходимо получить консультацию специалиста и согласовать строительство пруда с местными органами власти. Границы его определяют с учетом размеров участка и рельефа местности.
Выкопать пруд с поднятием воды за счет насыпной плотины можно и без экскаватора. Все работы, связанные с планированием ложа пруда и засыпкой плотины, выполняют бульдозером.
Пригодны для таких прудов тяжелые, слабофильтрующие грунты – суглинок и глина.
Во избежание чрезмерного разлива пруда, кроме основной подпирающей плотины, с его боковых сторон насыпают контурные дамбы. Для надежности плотинам и контурным дамбам придают трапециевидную форму. Их насыпают пластами (по 20–30 см) и хорошо уплотняют бульдозером. Укосы плотины должны иметь стойкие склоны, чтобы не допустить их размывания во время дождей и весенних наводнений. Высота плотины должна обеспечивать проектную глубину пруда. Для прудов площадью до 500 м2 часть дамбы, которая выступает над срезом воды до полного заполнения пруда водой, должна составлять не меньше 0,5 м.
Чтобы избежать размывания плотины и контурных дамб, их укрепляют дерном и камнями по сухому откосу или засевают многолетними травами и одновременно по периметру пруда возле дамб, которые размываются, высаживают камыш. Его саженцы высотой 60–60 см с корневищами высаживают «под лопату» на расстоянии 0,5–1 м друг от друга. Дамбу засаживают до самого верха. В первый год образуется редкая поросль, а в последующие годы – густая полоса шириной около 1,5 м, которая будет надежно гасить волну и препятствовать размыванию дамбы.
Существует два варианта оборудования водослива прудов с ручьевым водоснабжением: трубопроводный и щитовой.
В случае, если вода из ручья в пруд поступает медленно, чаще всего устанавливают трубопроводный водослив. Для этого возле основы плотины в самом глубоком месте монтируют сливную трубу с краном, который будет обеспечивать освобождение пруда от воды, когда вылавливают всю рыбу, а также во время очищения ложа от ила, его дезинфекции или ремонта плотины и контурных дамб.
На уровне проектного среза воды монтируют 1–2 асбестоцементные переливные трубы, оборудованные сетками, которые препятствуют выходу мальков и рыбы. Выше переливных рабочих труб желательно установить еще 1–2 резервные трубы на случай переполнения ставка водой во время ливней или весеннего паводка. Чтобы предотвратить размывание дамбы, в местах закладывания труб их укрепляют бетоном.
Для того чтобы избежать промерзания нижней сливной трубы в зимний период, ее следует закрыть опалубкой и опилками до наступления осенних заморозков. Мелкоячеистую сетку на переливной трубе необходимо снять и заменить крупной. Когда пруд замерзнет, сетку снимают.

Устройство водослива в водоеме при слабом ручьевом водоснабжении: 1 – насыпная дамба; 2 – пруд; 3 – сливная труба с краном; 4 – переливная труба; 5 – сетка на переливной трубе; 6 – резервная переливная труба (переливные трубы можно установить горизонтально или под углом); 7 – забетонированная часть дамбы; 8 – булыжная отмостка, которая препятствует размыванию грунта; 9 – ямы для вылавливания рыбы при полном освобождении пруда от воды
В случае обильного (эффективного) поступления воды в пруд из ручья устанавливают трубы для перелива большего диаметра или оборудуют щитовой водослив по принципу промышленных прудов. Металлические направляющие для щитов, которые удерживают воду, устанавливают раскосо под небольшим углом (3–4°). Прямоугольные щиты должны иметь слегка трапециевидную форму, благодаря чему их легко перемещать вверх.
Деревянные щиты из дубовых досок толщиной не меньше 50 мм скрепляют двумя металлическими пластинами, которые в верхней части имеют петли. Щиты поднимают тросом, закрепленным на барабане и изготовленным по принципу подъемника в сельском колодце. Над верхним щитом устанавливают металлический каркас с сеткой.
В верхней части пруда на водозаборе устанавливают решетчатое металлическое заграждение с ячейками 20×20 мм, что будет предотвращать загрязнение пруда опавшей листвой и мусором, а также выход выращиваемой рыбы.
В плотине по центру ложа от водозабора до водослива необходимо выкопать осушительный канал глубиной 0,5–0,6 м, который необходим для сбрасывания и отвода из ложа воды, оставшейся после спускания.

Щитовой водослив в водоемах с эффективным ручьевым водоснабжением: 1 – дамба; 2 – направляющие полозья для подпорных щитов; 3 – водоподпорные щиты; 4 – металлические пластины с петлями для крепления; 5 – каркас с сеткой, которая предотвращает выход рыбы; 6 – бетонная основа водослива; 7 – съемный барабан для поднятия водоподпорных щитов; 8 – пруд
Чтобы облегчить вылавливание рыбы, в осушительном канале делают 2–3 небольшие ямы размером 2×2 м и глубиной до 1 м. В них рыба не повреждается и может находиться продолжительное время.
В обход контурной дамбы и плотины с учетом рельефа местности устраивают водосбросный слив для пропуска лишней воды, которая появляется в период наводнений и ливней, а также для отвода воды во время полного спуска воды из пруда. Водосбросные сооружения делают в виде земляных каналов, бетонных, деревянных, трубчатых, комбинированных и донных водосливов.
Если участок имеет склон, по которому протекает ручей, а грунты исключают фильтрацию воды в грунт, – можно оборудовать несколько каскадных прудов с водопадами и фонтанами. Такой каскад прудов, оборудованных небольшими водопадами, дает возможность выращивать не только карпа, толстолобика, белого амура, но и такую деликатесную рыбу, как радужная форель.
Ставок с ручьевым водоснабжением на сильнофильтрующих грунтах
Намного сложнее оборудовать ставок, если участок, который прилегает к ручью, имеет сильнофильтрующий грунт (песчаный, торфяной и т. п.).
Попытки рыбаков-любителей сделать ставок на таких грунтах в бетонной оправе площадью свыше 50 м2 успеха не имели, ввиду сложной технологии и больших материальных затрат.
Появление на строительных рынках достаточно крепких пленочных материалов, стойких к ультрафиолетовым лучам, низким температурам, растягиванию и при этом сохраняющим свои свойства на протяжении 8–12 лет, изменило ситуацию к лучшему.
Котлован под пруд с пленочным покрытием необходимо тщательно подготовить. На его дне не должно быть ни одного предмета, который может прорезать пленочное покрытие. Дно и укосы плотины контурных дамб делают пологими, под углом около 25–30°, но не больше 45°. Все ложе будущего пруда тщательно выравнивают и хорошо утрамбовывают. Потом насыпают песчаную подушку толщиной 15–20 см, разравнивают ее, поливают водой и уплотняют.
На песчаную основу вкладывают специальный нетканый материал типа сантехнической стеклоткани или другие материалы, которые не гниют. Это будет предотвращать возможное повреждение пленки.
В продаже есть множество пленок, но далеко не все они пригодны для устройства пруда. Хорошо зарекомендовали себя специальные поливинилхлоридные пленки черного, темно-зеленого и коричневого цвета, а также пленки из синтетического каучука. Они довольно крепкие и выдерживают температуру до –60 °C.
Оптимальная толщина пленки – 0,5–1 мм. Применять пленку толщиной свыше 1,5 мм нежелательно в связи с ее недостаточной пластичностью.
Пленку укладывают по ложу пруда, выпуская на его края по 0,5 м, и сваривают термическим или диффузным способом с помощью растворителя.
Склеивание полотен пленки – ответственная операция, так как любая, даже незначительная погрешность сможет привести к нежелательным последствиям.
Для сваривания пленки диффузным способом один лист накладывают на другой так, чтобы они перекрывали друг друга приблизительно на 5 см. Края смазывают специальным растворителем, прижимают, а потом проходят силиконовым валиком. В местах склеивания не должно быть воздушных пазух, так как под давлением они могут лопнуть, и пленка начнет протекать.
Начинать укладывать пленку лучше от водосливной, переливной и резервной переливной труб. В пленке и нетканом материале вырезают отверстия, поочередно втыкают в них трубы, уплотняют с помощью колец и обмазывают края силиконовым герметиком. Особое внимание нужно обратить на то, чтобы пленка в местах соединения с трубами не собиралась.
Края пленки, выведенные на берег, необходимо присыпать пластом земли толщиной 20–25 см. Также нужно присыпать землей и пленку в воде вдоль берега. Это предотвращает ее повреждение льдом и дает возможность закрепить надводные и подводные растения, которые придадут пруду естественный вид и будут способствовать развитию планктона.
Пруд с пленочным покрытием заполняют водой постепенно, с перерывами в 1–2 дня. И лишь после того, как убедитесь в том, что пленка приобрела форму дна и уровень воды постоянный, можно запускать рыбу.
Проверить, не протекает ли пленка, очень просто. Засекают по секундомеру время наполнения емкости на наполнение, а потом время оттока воды из переливной трубы. Разность в наполнении емкости – это потери на испарение и просачивание воды в грунт. Чтобы уменьшить погрешности на испарение воды, измерения проводят в утренние часы.
Недостатком пленочного покрытия является его недолговечность. Поэтому большинство рыбоводов-любителей, создавая искусственные пруды на фильтрующих грунтах, применяют глиняную оправу ложа. Для этого поверх грунта укладывают слой глины, а затем слой гальки или щебня мелкой фракции. Гальку или щебень прикрывают слоем песка, а сверху – слоем глины. Толщина первого и последнего глиняного пласта – 20–25 см, галечного и песчаного – по 15–20 см. Вода просачивается через такой фильтр, захватывает часть глины, которая забивает поры между песчинками, а те, в свою очередь, – промежутки между камнями. Со временем в результате фильтрации образуется непреодолимое препятствие для воды.
Правда, верхний глиняный пласт будет способствовать появлению мутной воды. Но этого можно легко избежать, если присыпать глину 10-сантиметровым слоем мелкой гальки.
Пруд с замкнутым водоснабжением
Еще недавно строительство декоративного водоема с замкнутым водоснабжением было недоступно для большинства любителей. Сегодня его легко можно построить благодаря появлению синтетических изолирующих материалов, пригодных для укладывания на дно водоема.
Ложе водоема с замкнутым водоснабжением может быть в бетонной, железной, пластиковой, пленочной и глиняной оправе. Большой популярностью пользуются пруды с пленочным покрытием, где используют современные гибкие изолирующие материалы. Они не ограничивают фантазию человека в выборе очертаний и размеров пруда, их несложно сделать даже без специальной квалификации и подготовки.
Единственный недостаток гибкого изолирующего материала – невозможность получения абсолютно ровной поверхности и идеально правильных углов, поскольку во время укладки неизбежно образуются складки. Но это не такой уж и большой недостаток, так как поверхность воды скроет его. И вдобавок, со временем стенки пруда зарастают растениями, и тогда складки будут абсолютно незаметны.
Для создания временных водоемов (на одни-два года) пригодна дешевая полиэтиленовая пленка, которую со временем можно заменить на более крепкое покрытие.
Нередко, покупая гибкий изолирующий материал, сложно понять, из каких материалов он изготовлен. Прежде чем платить деньги, узнайте об этом у продавца или фирмы, которая его реализует, и уточните сроки гарантии.
Технологический процесс строительства декоративного водоема состоит из нескольких этапов.
Прежде чем начать строить, необходимо обозначить предполагаемые очертания будущего водоема, используя бечевку, рулетку и деревянные колышки.

Разметка очертаний будущего пруда
Котлован под ложе пруда начинают копать с середины, чтобы не разрушить края. Стенки ложа должны идти вниз, под углом до 60°. На глубине 40–50 см от поверхности по всему периметру пруда нужно сделать горизонтальную ступеньку шириной 20–30 см. На ней будут располагаться корзины с водными растениями. Если планируете зимовку рыбы, то необходимо предусмотреть зимовочный колодец или яму глубиной не меньше 2 м. Края пруда нужно выровнять с помощью спиртового или водного уровня, чтобы один берег не оказался ниже другого.
Во время выкапывания котлована с помощью экскаватора участок размечают колышками без учета скошенных стенок. Такие стенки ложа и ступеньку под водные растения оборудуют вручную. Дно пруда выравнивают песком и тщательно трамбуют.
Если пруд располагают на склоне, следует подумать об оформлении высокого берега, так как не заделанная пленка будет иметь непривлекательный вид. Высокий берег, выложенный из камней в виде скалы, выглядит более природно. Во избежание обсыпания камней, их закрепляют цементным раствором. Среди них можно сделать углубление для высаживания невысоких декоративных растений, свисающих лиан или цветов.
Когда котлован будет готов, необходимо проверить, нет ли на склонах и дне ложа камней, выступающих корней деревьев и других острых предметов. На дно котлована и его стенки насыпают пласт песка толщиной 5–10 см, затем его выравнивают и трамбуют.
Далее подготавливают пленку. Ее размеры должны отвечать максимальной длине и ширине пруда плюс две глубины с учетом наклона стенок и по 25 см для прикрытия по краям. Чаще всего ширина стандартного рулона пленки составляет 6 м. Если пруд не вписывается в эти габариты, то пленку придется клеить. ПВХ и полиэтилен спаивают термическим способом. Покрытие из битум-каучуковой резины или Pondtex склеивают с помощью специальной клейкой ленты.
Подготовленную пленку нужно натянуть и опустить в котлован так, чтобы она свободно лежала в яме. А потом необходимо прижать ее камнями по кругу, чтобы закрепить на месте.
Во время наполнения пруда водой нужно передвигать или убирать камни, разравнивая пленку, чтобы не было складок.

Декорирование краев пленки камнями, галькой или дерном
После того как водоем будет наполнен водой к запланированному уровню, нужно закрепить пленку и обрезать лишнее, задекорировав ее по краю плоскими камнями, галькой, плиткой или дерном, и высадить прудовые растения.
После этого осталось лишь закрепить техническое оборудование (насос, фильтры, ультрафиолетовый стерилизатор и т. п.), без которого нормальное функционирование водоема с замкнутым водоснабжением и существование его обитателей невозможно. Кроме основного оборудования можно также установить дополнительное: фонтаны, подсветку, искусственный водопад и т. п.
Рыбу заселяют только после того, как в пруду будет восстановлено биологическое равновесие.
При умелом дизайнерском оформлении пруд будет выглядеть как естественный водоем, а вокруг него можно устроить живописную лужайку с декоративным кустарником или цветочными клумбами.
Пруд с дождевым водоснабжением
Оборудовать приусадебный водоем с родниковым водоснабжением, если источники размещены на глубине не более 1,5 м, с речным или с искусственным водоснабжением, когда рядом есть буровая скважина, колодец или водопровод, – несложно. Но, к сожалению, иногда дачные или приусадебные участки расположены на холмах или в горной местности, где родниковые и подпочвенные воды залегают на очень большой глубине. При отсутствии водопровода никто и не задумывается о приусадебном водоеме, а урожайность садовых и огородных культур зависит только от погодных условий.
Как это ни странно, но сотни и даже тысячи лет назад наши предки, жившие в горных районах, сделали много интересных открытий.
Например, на плато горы в Бахчисарае был расположен старый город, в котором до наших дней хорошо сохранились водопровод и место для сбора дождевой воды. В старинных замках в Карпатах, на Кавказе, в межгорьях и предгорьях Туркмении, в Египте и во многих других местах земного шара сохранились подобные водопроводы и места для сбора воды. Дождевой водой поили скот, поливали насаждения, ее употребляли как питьевую воду во время осады городов. Ею наполняли и рвы вокруг крепостей.
В наше время отношение к дождевой воде далеко не однозначное и противоречивое. С одной стороны, при отсутствии своевременных дождей сельское хозяйство терпит огромные убытки. С другой стороны, развитие химической, металлургической и других отраслей промышленности приводит к выбросам в атмосферу кислот и других вредных токсичных веществ. Значительно ухудшает и без того сложную экологическую ситуацию и увеличение количества автомобилей, которые в основном работают на бензине и дизельном топливе.
Использование дождевой воды для приусадебных прудов возможно, но подходить к этому нужно очень осторожно.
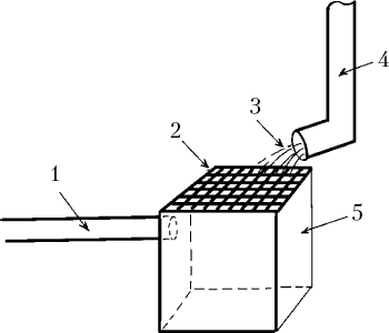
Прежде всего необходимо помнить, что вода, которая стекает с водосточных труб вашего дома, нуждается в грубом очищении от листвы и грязи, которая накапливается на поверхности крыши. Для этого на приемочные отстойники, которые расположены возле водосточных труб, устанавливают решетки с ячейками 5×5 мм. Как правило, отстойники под водосточными трубами делают прямоугольной формы глубиной не меньше 35–40 см. Отстойники бетонируют, прибавив к раствору жидкое стекло или другие вещества для гидроизоляции, чтобы не допустить просачивания воды под фундамент дома. От них по трубопроводам диаметром 50–70 мм воду отводят к отстойникам второй очереди.

Отстойник под водосточной трубой: 1 – трубопровод для отвода воды к отстойникам второй очереди; 2 – решетка; 3 – поступление воды из водосточной трубы на решетку отстойника; 4 – водосточная труба; 5 – отстойник
В качестве отстойников второй очереди можно использовать три обычные 200-литровые бочки. Верхние их части вырезают, чтобы обеспечить доступ во время периодического очищения дна от грязи. С внутренней стороны бочки окрашивают масляной краской, а с внешней – наносят 2–3 слоя битумной мастики с прослойкой стеклоткани. Бочки закапывают в землю рядом с водоемом выше уровня горизонта земли на 5–7 см. Трубопроводы от отстойников под водосточными трубами подводят к первой бочке. Бочки между собой соединяют трубопроводами диаметром 1,5–2 дюйма на уровне верхнего среза воды в водоеме.
Для уменьшения проникновения грязи из бочки в бочку на соединительный водопровод между бочками и водоемом устанавливают металлическую или капроновую сетку с ячейками соответственно 2,5, 2 и 1 мм.

Схема соединения второй очереди отстойников с прудом: 1 – ставок; 2 – отстойник; 3 – трубопровод для отвода воды от отстойника под водосточной трубой к отстойникам второй очереди; 4 – трубопровод, соединяющий отстойники; 5 – трубопровод, который соединяет последний отстойник с прудом; 6 – сетка-фильтр; 7 – крышка; 8 – трубопровод для отвода излишков воды; 9 – контейнер для водных растений
При отсутствии необходимого диаметра трубопроводов, а также при больших потоках воды из водосточных труб возможно двойное соединение между собой.

Схема двойного соединения отстойников второй очереди
Для защиты воды в бочках от солнечных лучей, которые служат причиной развития фитопланктона (цветение воды), их прикрывают металлическими крышками или деревянными дубовыми щитами, которые декорируют камнями, плитками или цветами в ящиках. При необходимости декорированные крышки должны легко сниматься для того, чтобы обеспечить доступ для очищения сеток на соединительных трубопроводах после каждого проливного дождя, а также для очищения дна бочек от накопленного ила 2–3 раза в год.
Ложе пруда с дождевым наполнением может быть выполнено в различной оправе: пластиковой, металлической, железобетонной, бетонной, каменной и пленочной. Все зависит от вашего желания и возможностей. Проще и дешевле обустроить ложе водоема пленочной оправой.
Стенки ложа могут быть без уступов или с одним-двумя уступами. Но в любом случае при пленочном покрытии они должны быть наклонены под углом не меньше 60°, что в свою очередь уменьшит осыпание грунта и гарантированно сохранит пленку от разрывов в зимний период во время оттепелей.
В пруду с дождевым водоснабжением, в отличие от других прудов, первый уступ для высаживания водорослей делают на глубине не меньше 60–70 см, чтобы в период, когда нет дождей, и при использовании воды для поливов не оголялись корни водных растений.










