Стандарты изобретательства. Учебник. ТРИЗ

- -
- 100%
- +

© Владимир Петров, 2024
ISBN 978-5-4496-0037-0
Создано в интеллектуальной издательской системе Ridero
Это книга представляет собой впервые созданный учебник по стандартам на решение изобретательских задач, разработанных Г. С. Альтшуллером. Книга предназначена для отработки навыков в использовании системы стандартов.
В книге приводится около 250 примеров и более 60 задач (из них 102 примера и 42 задачи для самостоятельного разбора), более 100 иллюстраций, более 100 физических эффектов.
Книга рассчитана на широкий круг читателей и будет особенно полезна тем, кто хочет быстро получать новые идеи.
Посвящение
Работа посвящается светлой памяти
учителя, коллеги и друга Генриха Альтшуллера
Владимир Петровvladpetr@013net.netБлагодарности
Я премного благодарен Генриху Альтшуллеру, автору теории решения изобретательских задач – ТРИЗ, моему учителю, коллеге и другу, за то, что он создал эту увлекательную теорию. Признателен ему за незабываемое время, проведенное вместе с ним, и за то, что он изменил мою жизнь, сделал ее разнообразнее и интереснее. Некоторые из материалов этой книги обсуждались с Генрихом Альтшуллером.
Благодарен коллегам за присланные примеры: Олегу Абрамову, Владимиру Афоньшину, Дмитрию Бахтурину, Борису Голдовскому, Вячеславу Ефремову, Игорю Кайкову, Вадиму Канеру, Сергею Логвинову, Игорю Мисюченко, Михаилу Рубину, Сергею Сысоеву, Науму Фейгельсону (Россия), Елене Грединаровой (Украина), Светлане Вишнепольской, Семену Литвину, Леву Певзнеру, Владимиру Просяннику, (США), Павлу Ливотову (Германия), Ефиму Копыту (Израиль).
Хочу выразить глубокую благодарность за ценные замечания и предложения при работе над этой книгой моему коллеге и другу Б. Голдовскому.
Введение
…стандарты – это правила синтеза и преобразования технических систем, непосредственно вытекающие из законов развития этих систем.
Генрих Альтшуллер11. Вступление
Перед вами, дорогой читатель, учебник «Стандарты изобретательства».
Данный учебник ставит задачу изложить систему стандартов на решение изобретательских задач, разработанную Г. С. Альтшуллером. Классификация стандартов основана на вепольном анализе и законах развития систем. В связи с этим предварительно рекомендуем вам ознакомиться с этими материалами в учебниках2.
Краткий обзор вепольного анализа и законов развития систем приведен в главе 1.
Большое количество материала для самостоятельой работы позволит вам отработать навыки в использовании стандаров на решение изобретательских задач.
2. Описание данного учебника
Данный учебник содержит введение, 9 глав, заключение и приложения.
Введение описывает предназначение и структуру книги, а также рекомендации по эффективному ее использованию.
Глава 1 посвящена краткому обзору вепольного анализа и законов развития систем.
Глава 2 описывает систему 76 стандартов.
Главы 3—7 представляют систему стандартов на решение изобретательских задач.
Глава 8 описывает алгоритм применения стандартов.
Глава 9 – это самостоятельная работа, содержащая вопросы для самопроверки, темы для докладов и рефератов и выполнения заданий. Задания включают разбор примеров с указанием номера стандарта и задачи для самостоятельного решения по стандартам.
В заключении приведены рекомендации по отработке навыков изобретательского мышления.
В приложениях представлен разбор задач и таблицы применения стандартов.
Учебник написан в той последовательности, в которой рекомендуется осваивать его.
Теоретическая часть иллюстрируется большим количеством примеров, задач и графического материала (более 200 примеров и задач и около 150 иллюстраций).
Книга предназначена для широкой публики. Она также может быть полезна студентам, аспирантам, преподавателям университетов, инженерам, изобретателям, ученым и людям, решающим творческие задачи.
Желаю успехов, ДОРОГОЙ ЧИТАТЕЛЬ!
Глава 1. Краткие сведения о законах развития систем и вепольном анализе
1.1. Представления о законах развития систем
При создании системы стандартов на решение изобретательских задач Г. С. Альтшуллер использовал только некоторые законы из группы эволюции систем. Детально законы развития систем изложены в монографии3.
Мы кратко опишем только те законы и закономерности, которые использовались при разработке системы законов.
Основные из законов эволюции систем следующие (рис. 1.1):
– закон увеличения степени идеальности;
– закон увеличения степени управляемости и динамичности;
– закон перехода в надсистему;
– закон перехода на микроуровень;
– закон свертывания;
– закон согласования;
– закон сбалансированного развития систем.

Рис. 1.1. Структура законов эволюции систем
Из указанных законов для создания стандартов Г. С. Альтшуллер использовал только законы увеличения степени управляемости и динамичности, перехода в надсистему и на микроуровень, да и то не в полном объеме.
Закон увеличения степени управляемости и динамичности имеет подзакон – закон изменения степени вепольности и закономерность изменения управляемости веществом, энергией и информацией (рис. 1.2).

Рис. 1.2. Структура закона увеличения степени управляемости и динамичности
Закон увеличения степени вепольности будет изложен в п. 1.2.
Закономерность изменения управляемости веществом, энергией и информацией подразделяется на закономерности (рис. 1.3):
– Изменения управляемости веществом;
– Изменения управляемости энергией и информацией.

Рис. 1.3. Закономерность увеличения степени управляемости и динамичности
В свою очередь, закономерность увеличения степени управляемости веществом осуществляется (рис. 1.4):
– использованием «умных» веществ;
– увеличением концентрации вещества;
– увеличением количества степеней свободы;
– увеличением степени дробления;
– переходом к капиллярно-пористым материалам (КПМ).

Рис. 1.4. Закономерность увеличения степени управляемости веществом
Из этих закономерностей Альтшуллером были использованы увеличение степени дробления и переход к КПМ. В упрощенном виде опишем их ниже.
Увеличение степени управляемости энергией и информацией осуществляется (рис. 1.5):
– изменением концентрации энергии и информации;
– переходом к более управляемым полям.
Переходу к более управляемым полям выполняется:
– Заменой виде поля;
– Переходом МОНО-БИ-ПОЛИ полям;
– Динамизацией полей.

Рис. 1.5. Закономерность увеличения степени управляемости энергией и информацией
Из этих закономерностей для создания стандартов была использована только закономерность перехода к более управляемым полям.
В данной книге она будет дана в очень упрощенном виде.
Замена вида поля на более управляемое поле может осуществляться в следующей последовательности: гравитационное, механическое, тепловое, электромагнитное и любые комбинации этих полей. Эта закономерность показана на рис. 1.6.

Рис. 1.6. Увеличения управляемости полей
Последовательность увеличения степени дробления в упрощенном виде представлена на рис. 1.7.

Рис. 1.7. Схема тенденции увеличения степени дробления
В упрощенном виде закономерность перехода к КПМ представить в виде схемы (рис. 1.8).

Рис. 1.8. Общая схема перехода к КПМ
где
# – структура;
В – вещество;
ТЭ – технологический эффект (физический, химический и т. д.);
КПМ# – КПМ со структурированными капиллярами;
µКПМ# – µКПМ со структурированными капиллярами.
Закон перехода на микроуровень, Альтшуллер описывает как замену системы или ее части веществом, способным при взаимодействии с полем выполнять требуемое действие.
Закон перехода в надсистему – это объединением системы с другими системами с помощью тенденции: МОНО-БИ-ПОЛИ-Свертывание.
Объединения в би- и полисистему может включать следующие виды элементов.
1. Однородные
– Одинаковые.
– Однородные элементы со сдвинутыми характеристиками.
2. Неоднородные
– Альтернативные.
– Антагонистические – инверсные (элементы с противоположными свойствами или функциями).
– Дополнительные.
Полностью схема закона перехода системы в надсистему представлена на рис. 1.9.

Рис. 1.9. Общая схема объединения систем
1.2. Представления о вепольном анализе
Структурный вещественно-полевой (вепо́льный) анализ – раздел ТРИЗ, изучающий и преобразующий структуру систем. Вепо́льный анализ разработан Г. С. Альтшуллером.
Вепо́льный анализ – это язык схем, позволяющий представить исходную систему в виде определенной (структурной) модели. С помощью специальных правил выявляются свойства этой системы. Затем по конкретным закономерностям преобразовывают исходную модель задачи и получают структуру решения, которое устраняет недостатки исходной системы.
Статистический анализ решений показал, что для повышения эффективности систем их структура должна быть определенной. Модель такой структуры называется веполем.
Вепо́ль – модель минимально управляемой системы, состоящей из двух взаимодействующих объектов и их взаимодействия.
Взаимодействующие объекты условно названы веществами и обозначаются В1 и В2, а само взаимодействие называется полем и обозначается П.
Под «веществом» будем понимать любой объект, начиная с материала, его структуры, молекул, атомов, до самых сложных систем, например космическая станция. В информационных системах это может быть элемент или данные.
Поле может представлять собой любое действие или взаимодействие, например энергию, силу или информацию. В информационных системах это может быть алгоритм.
Веполь изображается схемой (1.1).

Термин ВеПоль произошел от слов «Вещество» и «Поле».
Вепольный анализ включает в себя определенные правила и тенденции. Эти тенденции подчиняются закону увеличения степени вепольности, который будет описан ниже.
Общая тенденция представлена на рис. 1.10 – 1.15.

Рис. 1.10. Общая тенденция развития веполей

Рис. 1.11. Тенденция развития структуры веполя

Рис. 1.12. Тенденция развития комплексного веполя

Рис. 1.13. Тенденция развития сложного веполя

Рис. 1.14. Тенденция развития форсированного веполя
Форсирование вещества подчинается закономерности увеличения степени управляемости веществом, а форсирование поля – закономерности увеличения степени управляемости энергией и информацией.
Детальная схема закона увеличения степени вепольности представлена на рис. 1.15.
Подробно с вепольным анализом можно ознакомиться в учебнике4.

Рис. 1.15. Общая схема закона увеличения степени вепольности
Глава 2. Обзор стандартов
Стандарт на решение изобретательских задач – это правило (или совокупность правил), позволяющее на высоком уровне однозначно решать достаточно широкий класс изобретательских задач.
Таким образом, стандарт должен удовлетворять трем условиям:
1) он должен относиться к широкому классу задач;
2) эти задачи должны решаться совершенно одинаково и
3) решения должны быть обязательно высокого уровня.5
Г. С. АльтшуллерИзвестные типы изобретательских задач решаются использованием информационного фонда (рис. 2.1) и, прежде всего, типовых решений – стандартов на решение изобретательских задач, которые разработаны Г. С. Альтшуллером в 1975 году. Они представляют собой взаимосвязанный комплекс приемов, физических или других эффектов, имеющих определенную вепольную структуру. Это своего рода формулы, по которым решаются задачи.
Классификация стандартов основана на законах эволюции систем и, прежде всего, на законе увеличения степени вепольности и законах увеличения степени управляемости и динамичности, законах перехода в надсистему и на микроуровне, законе согласования.
Система стандартов, разработанная Г. С. Альтшуллером, содержит 76 стандартов6. Она состоит из классов, подклассов и конкретных стандартов. Эта система включает 5 классов. Структура системы 76 стандартов показана на рис. 2.1.

Рис. 2.1. Структура системы 76 стандартов на решение изобретательских задач
С помощью этой системы можно не только решать, но выявлять новые задачи и прогнозировать развитие технических систем. Общее направление изложения системы стандартов 1-го, 2-го и 4-го классов описывается законом увеличения степени вепольности, поэтому отдельные из стандартов этих классов были представлены ранее при описании вепольного анализа в учебнике третьего уровня.
Пятый класс стандартов помогает идеализировать решение.
Для решения задач можно использовать алгоритм применения стандартов (глава 8).
Опишем стандарты в следующих главах.
Глава 3. Класс 1. Построение и разрушение вепольных систем
3.1. Подкласс 1.1. Синтез веполей
Стандарты подкласса 1.1 включает 8 стандартов.
Главная идея этого подкласса четко отражена в стандарте 1.1.1: для синтеза работоспособной технической системы необходимо – в простейшем случае – перейти от невеполя к веполю. Нередко построение веполя наталкивается на трудности, обусловленные различными ограничениями на введение веществ и полей.
Стандарты 1.1.2 – 1.1.8 показывают типичные обходные пути в таких случаях.
Стандарт 1.1.1. Постройка веполя
Если дан объект, плохо поддающийся нужным изменениям, и условия задачи не содержат ограничений на введение веществ и полей, задачу решают синтезом веполя, вводя недостающие элементы.
Данный стандарт соответствует основному правилу вепольного анализа – переходу от невепольных систем к вепольным (простому веполю) и соответствует схеме (3.1).

Задача 3.1. Снятие коры с древесины
Условия задачи
Обычно кору древесины отделяют механически в специальных корообдирочных барабанах или механическими инструментами, например топором. При этом повреждается и сама древесина.
Необходимо предложить способ отделения коры от древесины, который бы не портил древесину.
Разбор задачи
Система невепольная.
Систему необходимо достроить до вепольной. Достройка веполя заключается во введении поля, воздействующего только на кору в направлении ее отрыва от древесины.
Необходимо подобрать поле, которое может осуществить такое действие.
Решение
Между корой и древесиной находится слой клеток (камбий), содержащий большое количество влаги, вскипание которой может оторвать кору. Вскипание можно осуществить с помощью вакуума или нагрева, например токами высокой частоты. Таким образом, рекомендует использовать тепловое поле.
Задача 3.2. Крепеж винта
Условия задачи
Как завернуть винт в труднодоступном месте?
Разбор задачи
Имеется винт и инструмент (отвертка или гаечный ключ).
Система невепольная, ее необходимо достроить до вепольной. Достройка веполя заключается во введении поля, соединяющего винт и инструмент.
Необходимо подобрать поле, которое может осуществить их жесткое соединение.
Решение
Это могут быть магнитное или вакуумное поля или поле механических сил.
Стандарт 1.1.2. Внутренний комплексный веполь
Если дан веполь, плохо поддающийся нужным изменениям, и условия задачи не содержат ограничений на введение добавок в имеющиеся вещества, задачу решают переходом (постоянным или временным) к внутреннему комплексному веполю, вводя в В1 или В2 добавки, увеличивающие управляемость или придающие веполю нужные свойства. Этот стандарт описывается схемами (3.2), (3.3).


Пример 3.1. Вживление электронных чипов
Появилась потребность идентифицировать животных, особенно дорогих.
Разработали чип (рис. 3.1), который вживляют в тело. В чипе записаны все данные о животном и его хозяине. Информация считывается с помощью специального прибора.

Пример 3.1. Вживление электронных чипов
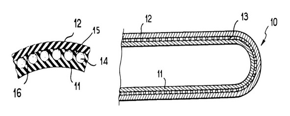
Пример 3.2. Самозаклеивающаяся шина
Английская компания Dunlop выпускает самозаклеивающую шину. Внутри, на ободе шины равномерно размещаются несколько баллончиков с клеем. При проколе шины из нее выходит воздух, один из баллончиков получает удар и из него вытекает клей, который заклеивает место прокола. Клей содержит жидкость, пары которой накачивают шину до прежнего предела (рис. 3.2).

Рис. 3.2. Самозаклеивающаяся шина7
Компания Continental запатентовала шину с технологией ContiSeal™.
На внутреннюю поверхность шины (над протектором) наносится защитный слой из полужидкого полимера, который заполняет собой отверстие в шине диаметром до 5 мм или обволакивает тот предмет (например, гвоздь), который стал виновником прокола (рис. 3.3).

Рис. 3.3. Самозаклеивающаяся шина ContiSeal8
Стандарт 1.1.3. Внешний комплексный веполь
Если дан веполь, плохо поддающийся нужным изменениям, а условия задачи содержат ограничения на введение добавок в имеющиеся вещества B1 или B2, задачу решают переходом (постоянным или временным) к внешнему комплексному веполю, к B1или B2 внешнее В3, увеличивающее управляемость или придающее веполю нужные свойства. См. схемы (3.4), (3.5).


Задача 3.3. Хирургические перчатки
Условие задачи
Хирургические перчатки могут повредиться во время операции или осмотра пациента, при этом врач может заразиться.
Как быть?
Разбор задачи
Самостоятельно проведите разбор задачи по логике АРИЗ.
Примените тенденцию увеличения степени дробления.
Решение
Перчатки делаются двухслойными и между слоями помещают микрокапсулы с антимикробными и антивирусными веществами
(рис. 3.4). Эти капсулы лопаются при разрыве или слишком сильном натяжении резины9. Этот способ может быть использован и в других предохранительных средствах из резины (напальчник, презерватив и т. д.).

Рис. 3.4. Хирургическая перчатка. Патент США 5 024 852
Пример 3.3. Экзоскелет
Экзоскелет прикрепляется к телу человека, помогает ему быстрее и легче передвигаться, нести больший груз, легче выполнять любые физические нагрузки. Он может использоваться в медицине, например для восстановления утраченных функций, при выполнении тяжелых работ, в военных целях, например для более эффективного выполнения функций солдата, и т. д.
Стандарт 1.1.4. Веполь на внешней среде
Если дан веполь, плохо поддающийся нужным изменениям, а условия задачи содержат ограничения на введение в него или присоединение к нему веществ, задачу решают достройкой веполя, используя в качестве вводимого вещества имеющуюся внешнюю среду. См. схемы (3.6), (3.7).


Пример 3.4. Кабель
Кабельная обмотка, которая набухает при контакте с водой, выполняет функцию уплотнения. Набухание происходит за счет суперабсорбирующего порошка10.
Пример 3.5. Мускулы на пару
Ученые Массачусетского технологического университета создали полимерную пленку, которая работает как искусственная мышечная ткань: поглощая водяные пары, она сокращается. Такая пленка весом 25 мг позволяет поднять груз в 380 раз большего веса. Эта полимерная мышца имеет трехслойную конструкцию. Средний слой образован полипирролом, который создает гибкую матрицу. Два краевых слоя представляют собой мягкий гель из борат-полиола-полимера, который меняет свою форму при поглощении воды. Если пленку толщиной 20 микрон положить на слегка влажную поверхность, то нижний её слой, впитав влагу, разбухает и пленка искривляется. Потеряв контакт с влажной поверхностью, этот слой испаряет влагу и пленка выпрямляется. Цикл многократно повторяется. Если пленку соединить с пьезоэлектриком, то можно получить электрическую энергию11.



