«Энигма-3»: записки инженера Никонова

- -
- 100%
- +
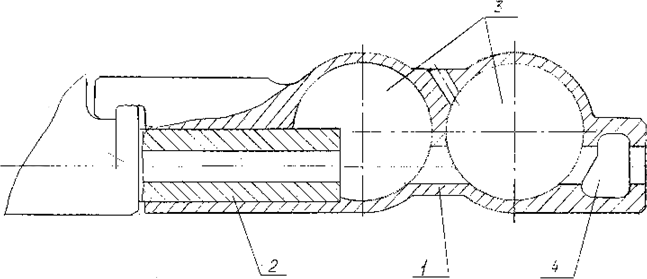
В автомате АСМ (АН-94) магазин устанавливался в кожухе оружия, выполняющего роль лафета, и подача патронов осуществлялась нетрадиционным путем (защищенным рядом патентов) с помощью гибкой связи затворной рамы с деталями подающего механизма в два этапа – при откате и накате основного звена автоматики.
Сокращение величины перемещения ствольной группы в автоматах, кроме повышения темпа стрельбы, было обеспечено разработкой принципиально нового дульного тормоза-компенсатора вихревого типа, также защищенного рядом патентов.
Конструкция механического прицела автомата, позволяющая стационарно устанавливать тритиевые светоэлементы для стрельбы в сумерках, учитывающая перемещение стреляющего агрегата и возможность установки оптических устройств, минимально удаленных от визирной линии открытого прицела, защищена несколькими патентами.
Схема размещения прицельных приспособлений автомата АН-94.
Результаты изучения специфических особенностей систем со смещением импульса отдачи
Вопреки многообещающим теоретическим перспективам, в процессе отработки автомата с накопленным откатом выяснилось, что условие ликвидации воздействия импульса отдачи на стрелка, само по себе не является гарантией достижения при стрельбе в автоматическом режиме уровня, соответствующего техническому рассеиванию (рассеивание траекторий пуль из-за изменения Vнач и баллистического коэффициента, определяемого нестабильностью массы и формы пуль).
Это обстоятельство послужило основанием для изучения влияния специфических, характерных для систем со смещением импульса отдачи факторов, определяющих кучность стрельбы. В процессе работы выяснилось, что устойчивость оружия, использующего принцип накопленного отката, определяется:
– упругими колебаниями ствольной группы, возникающими при работе автоматики;
– неадекватностью реакции стрелка на изменение положения центра масс оружия при откате стреляющего агрегата;
– импульсом сил противооткатных устройств.
В определяющей степени последние два фактора сказываются на рассеивании при стрельбе из не устойчивых положений. При стрельбе из устойчивых положений, когда угловые перемещения лафета можно свести до минимума, определяющее значение на рассеивание траекторий пуль приобретает упругая деформация ствольной группы, возникающая в результате действия динамических моментов.
Величина динамических моментов зависит от расположения центров масс агрегатов оружия, энергии ударов подвижных частей в крайних положениях и сил, возникающих в процессе работы газового двигателя и дульного устройства. Возмущения, определяющие амплитуду колебаний ствольной группы, зависят от соотношения жесткостей стреляющего агрегата, лафета и опоры, причем возмущения становятся тем выше, чем более жестко закреплен лафет оружия.
Последняя зависимость объясняет лучшие результаты стрельбы войсковыми автоматчиками из систем с лафетной схемой, по сравнению с результатами, получаемыми полигонными стрелками, обеспечивающими более жесткую фиксацию оружия при стрельбе. При стационарной установке оружия в станке амплитуда колебаний ствольной группы приобретает наибольшее значение.

Рис. 5. Колебания дульной части ствола образца с лафетной схемой при автоматической стрельбе со станка
В этих условиях, максимальная амплитуда колебаний может достигать двух миллиметров.
При стрельбе того же образца из положения «лежа с руки», в результате демпфирования колебаний стрелком, удерживающим кожух, максимальная амплитуда колебаний снижается до 0,5мм.

Рис. 6. Колебания дульной части ствола при стрельбе из положения “лежа с руки”
Для исследований факторов, определяющих рассеивание систем с лафетной схемой, был разработан комплекс лабораторного оборудования, включающий макет стреляющего агрегата, установленный в жестких опорах, измерительные приборы, позволяющие производить запись величин продольных перемещений и упругих колебаний ствольной группы, регистрировать момент вылета пуль, темп стрельбы и рассеивание точек попадания.
Измерительная установка, изображенная на рис. 16, позволяла воспроизводить различные способы фиксации лафета и базировки в нем стреляющего агрегата.

Рис. 7. Установка для экспериментальных исследований лафетной схемы
1 – основание; 2 – стреляющий агрегат; 3 – индуктивный датчик колебаний; 4 – индуктивный датчик перемещений.
Цель экспериментальных исследований состояла в количественной оценке влияния конструктивных и динамических характеристик оружия на величины упругих деформаций ствольной группы при стрельбе, и их влияния на кучность стрельбы.
Установка оснащалась аппаратурой, включающей фотоэлектрические датчики для измерения колебаний дульной части ствола и регистрации момента вылета пули, датчиком перемещения ствольной группы относительно лафета при стрельбах из различных положений стрелками в процессе натурных испытаний, устройством для согласования работы датчиков и стандартной регистрирующей аппаратурой.

Рис. 8. Фотоэлектрический датчик для измерения колебаний дульной части ствола.

Рис. 9. Датчик перемещений ствольной группы при стрельбе автоматчиками

Рис. 10. Согласующая и регистрирующая аппаратура
Деформация ствольной группы и характер ее изменения во времени определялась парами датчиков, устанавливаемых в горизонтальной и вертикальной плоскостях, в различных сечениях ствола. Индуктивные и фотоэлектрические датчики фиксировали колебания ствольной группы с точностью 0,05 мм. При обработке осциллограмм определялась скорость и положение ствольной группы к моменту очередного выстрела.

Рис. 11. Осциллограмма работы автоматики образца со смещением импульса отдачи
1, 2, 3, 4, 5 – моменты очередных выстрелов; S – величина отката, стреляющего агрегата; t – межцикловое время.
При обработке осциллограмм положение ствольной группы в различные моменты времени, скорость ее продольного перемещения соизмерялась с величиной и характером упругих деформаций ствола.
Экспериментальные исследования позволили:
– установить основные факторы, влияющие на деформацию ствольной группы, и степень их воздействия;
– выявить взаимосвязь величины упругих колебаний с рассеиванием точек попадания пуль при одиночной и автоматической стрельбе;
– оценить эффективность технических решений, способных улучшить кучность стрельбы.
Эффективность мероприятий по уменьшению рассеивания контролировалась стрельбами из экспериментальных образцов неопытными стрелками.
Величина угла поворота сечений ствола и частота его колебаний определялась по разнице показаний датчиков, расположенных вдоль оси ствола. По величине угла поворота и скорости углового перемещения дульной части ствола становилось возможным предсказать положение точек попадания на мишени. Контрольные стрельбы достоверно подтверждали взаимосвязь величин упругой деформации ствольной группы с рассеиванием траекторий пуль в очереди.
С помощью лабораторной установки удалось определить, в какой степени на рассеивание точек попадания, вызванное колебаниями ствольной группы влияют: удары затворной рамы в крайних переднем и заднем положениях, возмущения, вызванные действием ударно-спускового механизма, параметры газового двигателя, дульного тормоза, силовые характеристики подающего и амортизирующего устройств.
Эксперименты позволили установить, что главными причинами упругой деформации ствольной группы являются удары затворной рамы в крайнем заднем положении, моменты сил, возникающие во время работы газового двигателя и дульного устройства и определить соотношение максимальных амплитуд колебаний ствольной группы, вызванных возмущающим действием прочих факторов.
Степень выделенного воздействия различных факторов на колебания ствольной группы, характеризуемое максимальным значением амплитуды колебаний, по отношению к максимальному значению амплитуды колебаний, вызванных ударом затворной рамы, в крайнем заднем положении, принятую за единицу, приведена в таблице 1.
Таблица 1. Соотношение максимальных амплитуд колебаний ствола при работе различных механизмов

При совместном воздействии различных факторов, имеющих нестабильные рабочие характеристики, в результате интерференции упругих волн, амплитуда колебаний дульной части ствола может возрастать и уменьшаться от среднестатистического значения приблизительно в 2,5 раза.
Натурные эксперименты дали возможность получить реальную картину процесса взаимных перемещений элементов оружия при выстреле. Знание комплекса величин, характеризующих колебания ствольной группы, позволили согласовать положение дульной части ствола в точках, соответствующих первому и последующим выстрелам в очереди. В ходе экспериментов была произведена оценка различных вариантов конструкций и мест расположения базирующих элементов. Изменение конструкций и положения базирующих элементов способны изменить амплитуду колебаний дульной части ствола в пределах от 0,8 до 1,5мм и периода колебаний от 22 до 8 мс. Кроме знания периода и амплитуды колебаний ствола, для управления рассеиванием выстрелов в очереди, важное значение имеет правильное определение фазы, в которой находиться ствол в момент вылета пули и способов изменения времени затухания колебаний. В ходе экспериментов было установлено, что оптимальная зона установки передней опоры должна располагаться между газовой камерой и дульным тормозом на расстоянии 60–80 мм от дульного среза ствола. Перемещение задних базирующих элементов вдоль ствольной коробки и изменение плоскостей базирования с горизонтальной на вертикальную позволяло улучшить кучность стрельбы только одиночным огнем. Изменение конструкции направляющих элементов (горизонтальных пазов, вертикальных выступов и стержней на стволе и дульном тормозе) не отражалось на рассеивание точек попадания.
Улучшение кучности стрельбы за счет поиска оптимальной конструкции и расположения базирующих элементов, возникают при условии, что параметры колебаний ствольной группы и межцикловое время имеют стабильное значение. Однако, при стрельбе с участием группы малоопытных стрелков в зависимости от их индивидуальных особенностей и изменения условий стрельбы, амплитуда и период колебаний стреляющего агрегата могут существенно изменяться (от 0,5 до 1,5 мм и от 9 до 13 мс). Радикальным средством сведения средних точек попадания (СТП) первых и последующих выстрелов при стрельбе из устойчивых положений явилась разработка компенсирующих отклонение СТП криволинейных элементов, базирующих стреляющий агрегат в процессе отката, защищенных рядом патентов и размещением гасящих колебания опорных поверхностей на кожухе оружия.
Характерная запись колебаний ствола и перемещений ствольной группы при серии выстрелов, в условиях оснащения оружия техническими устройствами, гасящими колебания к моменту очередного выстрела представлена на рисунке 12.

Рис. 12. Осциллограмма перемещений стреляющего агрегата с записью колебаний дульной части ствола автомата АН-94.
Иные способы снижения возмущений, вызванных ударами рамы в крайних положениях, за счет установки буферных механизмов, изменения диаметров ударника, переноса места удара затворной рамы, увеличение жесткости системы с помощью переноса газового двигателя с кольцевым поршнем в зону наибольшего изгиба ствола, (общий вид которого изображен на рис. 13) позволяли улучшить кучность стрельбы не более чем на 10–12 %.

Рис. 13. Стреляющий агрегат с кольцевым поршнем
Применение различных демпфирующих устройств, воздействующих на стреляющий агрегат до выстрела, способствуют затуханию колебаний ствольной группы, однако, улучшая кучность стрельбы автоматическим огнем на 20–25 %, увеличивают рассеивание одиночных выстрелов и теряют свою эффективность после относительно небольшого (~ 1000 выстрелов) настрела вследствие износа и деформации взаимодействующих элементов.
Для количественной оценки факторов, влияющих на кучность стрельбы из неустойчивых положений, был разработан экспериментальный образец, позволявший изменять силовые параметры противооткатных устройств или полностью устранять их воздействие. Проверка реакции стрелка на изменение положения центра массы системы в процессе отката проводилась на установке, имитирующей, с помощью упругих элементов, стабильное воздействие руки автоматчика на цевье.
Смещение средних точек попадания первых и последующих выстрелов в очереди проводилось при свободном откате с полным устранением воздействия противооткатных устройств при стрельбе из положения «стоя с руки». В испытаниях участвовали шесть стрелков, квалификация которых соответствовала среднему значению результатов стрельб войсковыми автоматчиками второго года обучения.
Экспериментально были установлены координаты средних точек попадания последующих выстрелов относительно прицельных. Результаты стрельб приведены в таблице 2.
Таблица 2. Координаты средних точек попадания при стрельбе автоматическим огнем

Испытания с использованием имитационной установки подтвердили неадекватность реакции неопытных стрелков на изменение положения центра масс оружия при откате ствольной группы.
Влияние импульса сил противооткатного устройства на кучность стрельбы проводилось при изменении жесткости пружины амортизатора от 0,1Н/мм до 0,35Н/мм и усилия предварительного поджатия от 25Н до 60Н.
Стрельбы проводились неопытными стрелками из положения «стоя с руки» и стоя, с установкой цевья на жесткую опору. Эксперименты показали, что кучность стрельбы зависит от импульса сил противооткатного устройства и ухудшается прямо пропорционально их росту.
В результате исследований впервые выявлено влияние упругих колебаний стреляющего агрегата, вызванных работой механизмов автоматики на кучность стрельбы систем с лафетной схемой, установлена количественная зависимость влияния на кучность стрельбы, изменение положения центра масс оружия при откате стреляющего агрегата и импульса сил противооткатного устройства, суммирующего силу амортизирующей пружины и силы трения в опорах стреляющего агрегата, возникающие в результате действия динамических моментов.
В результате комплекса исследований по определению факторов, влияющих на кучность стрельбы из автоматов со смещением импульса отдачи и реализации технических мероприятий по уменьшению рассеивания были достигнуты результаты, соответствующие тактико-техническому заданию, исходя из условия повышения боевой эффективности автомата в 1,5–2 раза. В таблице 3 показано преимущество автомата АН-94 по сравнению с автоматом АК-74 по кучности и эффективности стрельбы.
Кучность стрельбы определялась площадью сердцевин рассеивания, составляющих 50 % пробоин. Боевая эффективность, определялась частотностью поражения характерных целей, установленное в результате войсковых испытаний.
Таблица 3. Характеристики кучности и эффективности стрельбы автомата АН-94 по сравнению с автоматом АК-74

Отработка конструкции дульного устройства
Для сокращения перемещений ствольной группы автомат с лафетной схемой должен иметь дульный тормоз повышенной эффективности. Это устройство позволяет уменьшить смещение центра масс оружия в процессе автоматической стрельбы и снизить силовые характеристики противооткатного устройства, передающего часть импульса отдачи на стрелка, что в результате способствует улучшению кучности стрельбы. Кроме того, сокращение отката стреляющего агрегата за счет использования высокоэффективных дульных тормозов позволяет уменьшить габариты оружия.
Применение на ранних стадиях отработки автомата АН-94 высокоэффективных дульных тормозов на базе традиционных конструкций приводило к недопустимому увеличению уровня акустического воздействия:
– Рmc – 5,16…6,39 кПа (2,16 кПа – АК-74);
– Lmc – 170 дВ (161 дВ – АК-74).
Повышение эффективности традиционных дульных тормозов кроме увеличения акустического воздействия вызывает увеличение пламенности выстрела.
При создании автомата АН-94 был разработан оригинальный дульный тормоз-компенсатор, обладающий большей, по сравнению со штатным, эффективностью при значительном снижении уровня акустического воздействия. Конструкция нового дульного тормоза защищена несколькими патентами.
Общая схема функционирования дульного тормоза-компенсатора автомата АН-94 представлена на рис. 14.

Рис. 14. Схема функционирования вихревого дульного тормоза автомата АН-94
1. Тормоз. 2. Ствол. 3. Расширительные камеры. 4. Отводящая камера
Разработанное дульное устройство содержит корпус с двумя кольцевыми расширительными камерами эксцентричными стволу, оси которых находятся в плоскости, перпендикулярной оси канала. Формирующийся в кольцевых камерах вращающийся газовый поток препятствует образованию интенсивной центральной струи, истекающей через пулевое отверстие, и тем самым замедляет выброс газо-пороховой смеси в атмосферу, увеличивает теплоотдачу и позволяет эффективно изменить направление вектора скорости газового потока при попадании в отводящие щелевые камеры. В ходе исследовательских работ была проведена оптимизация параметров дульного устройства. Внешний вид характерных образцов дульных устройств из серии исследованных и испытанных на конкурсных образцах – предшественников автомата АН-94 показан на рис. 15.

Рис. 15. Экспериментальные дульные устройства автомата АН-94
Сравнительные характеристики эффективности и акустического воздействия экспериментальных дульных тормозов автомата АН-94 и штатного автомата АК-74, полученные при испытании образцов на заводе и в условиях полигона, приведены в таблице 4.
Таблица 4. Сравнительные характеристики дульных устройств автоматов АК-74 и АН-94

Кроме повышения эффективности, уменьшения акустического воздействия и пламенности выстрела при создании нового дульного тормоза важное значение приобретала проблема сведения средних точек попадания различных типов боеприпасов.
Отработка газового двигателя автомата
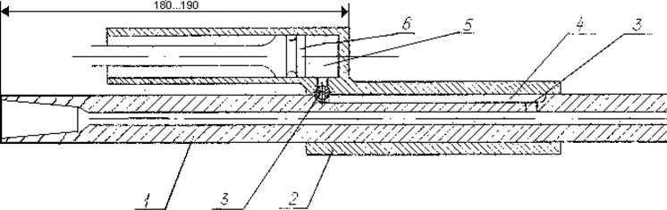
Компоновка автомата учитывающая возможность его установки в существующие объекты военной техники и присоединения к нему всех штатных комплектующих изделий, в том числе подствольного гранатомета (что составляло одно из самых трудновыполнимых требований военных), потребовала перемещения газовой камеры к казенному срезу ствола. Расстояние от патронника до передней стенки газовой камеры при этом не должно было превышать 180–190 мм. Только при такой установке газовой камеры обеспечивалась стрельба из автомата через бойницы БТР, БМП, БМД и вертолетов. Однако, близость газоотводного отверстия к зоне максимального давления могла привести к раннему отпиранию канала ствола при большом остаточном давлении пороховых газов в канале и, как следствие, к тугой экстракции гильзы, к нестабильности работы автоматики и повышенному загрязнению деталей узла запирания.
Для решения этой задачи был проведен комплекс экспериментально-исследовательских работ с целью определения возможной зоны размещения газоотводного отверстия, времени срабатывания газового двигателя, давления в газовой камере и остаточного давления в канале ствола в момент отпирания. Характер кривых давлений в канале ствола и газовой камере приведен на рис. 16.

Рис. 16. Характер изменения давлений в канале ствола и газовой камере автомата АН-94
Предельное положение газоотводного отверстия устанавливалось по величине потерь скоростей затворной рамы при отпирании, критическому смятию закраины гильзы и отсутствию адгезии (взаимного проникновения и прочного соединения – аналогично сварочному шву – частиц металла) опорных поверхностей боевых упоров затвора и ствольной коробки. Проведенные эксперименты показали, что тугая экстракция гильзы в традиционной конструкции возникает в случае расположения газоотводного отверстия на расстоянии менее 200 мм от казенного среза ствола. В этих условиях сохранение обычной схемы газоотвода становилось невозможным и требовало отработки особого устройства газового двигателя. Схема разработанного, патентозащищенного, газового двигателя для автомата АН-94 с длинным газопроводом, изображена на рис. 17.

Рис. 17. Схема газового двигателя автомата АН-94
1 – ствол; 2 – газовая камера; 3 – газоотводное отверстие; 4 – газоотводный канал; 5 – рабочая полость; 6 – поршень.
В новой конструкции газоотводное отверстие в стенке ствола установлено в стабильной зоне внутрибаллистических характеристик. Связь рабочей полости газовой камеры с газоотводным отверстием в стенке ствола осуществляется каналом, сформированным в виде продольного паза на внешней поверхности ствола, охваченной посадочным местом газовой камеры. За счет разогрева ствола во время стрельбы такая конструкция позволила сократить потери энергии пороховых газов по длине газопровода и увеличить время между моментом вылета пули и отпиранием затвора при смещении газоотводного отверстия к зоне максимального давления. Для изучения и оптимизации параметров газового двигателя: давления в рабочей полости, импульса подвижных частей, времени наполнения газовой камеры и обратного истечения, а также времени отпирания был создан макетный образец.
Результаты испытаний показали, что применение газовой камеры с длинным газоотводом на автомате АН-94 в сочетании с вихревым дульным тормозом при равном импульсе подвижных частей увеличивает время работы газовой камеры, время между моментом вылета пули и началом отпирания и снижает максимальное давление в рабочей камере. Кроме того, применение газового двигателя разработанной конструкции позволило уменьшить габаритные размеры кожуха автомата, уменьшить его вес и обеспечить установку образца во все существующие объекты боевой техники.
Часть 2. Эволюция тактико-технических требований к стрелковому оружию и методик его испытаний
С момента принятия на вооружение мировых армии первых образцов огнестрельного оружия военные и промышленники стали задумываться над вопросами формирования технических требований, предъявляемых к новым конструкциям, и способов их испытаний. Конечно, к весьма примитивным пионерам данного рода вооружений предъявлялись, соответствующие их сложности, весьма примитивные конструктивные требования и испытания их проводились по очень упрощенным методикам, часто сводившимся к стрельбе в нормальных условиях эксплуатации некоторым количеством выстрелов, а также проверке точности и кучности стрельбы.
Пожалуй, единственным неукоснительным законом испытаний образцов огнестрельного оружия, принятым на заре развития военной техники этого типа во всех странах мира, переходящим из века в век и сохранившимся до наших дней в виде некоторой скорее этической, чем формальной нормы был закон, что первые выстрелы из созданного детища должен производить автор разработки. В этом нет ничего удивительного, поскольку ответственность за столь опасный и непредсказуемый объект изобретения не может быть возложена на людей, не причастных к появлению нового источника возможной трагедии.





